Viacvrstvové nenosné priečky
V súvislosti s racionalizáciou pracovných postupov uplatnením suchého spôsobu stavania pri prácach v interiéri význam viacvrstvových priečok stále stúpa. S čiastočne alebo úplne prefabrikovanými prvkami deliacich priečok v kombinácii s obkladom sadrokartónovými alebo sadrovláknitými doskami sa možno vyhnúť napr. prácnemu omietaniu, pri ktorom sa znečisťuje priestor a do stavby sa vnáša podstatné množstvo vody.
Nosné skelety sa skladajú z priečnikov, resp. zo stojok alebo z rámových konštrukcií pripomínajúcich hrazdené konštrukcie. Oplášťujú sa drevotrieskovými doskami, tvarovanými doskami, drevenými prefabrikovanými dielcami, sadrokartónovými alebo vláknocementovými doskami, plechom a pod. Steny takéhoto druhu možno premiestňovať len za určitých podmienok, lebo pred ich opätovným použitím sa obklad musí demontovať špeciálnymi postupmi, ktoré zabránia jeho poškodeniu.
Deliace steny s nosnou konštrukciou na báze dreva
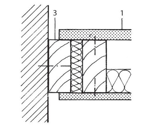
Nosnú konštrukciu tvorí prírodné (masívne) drevo, lepené drevo alebo drevotrieskové lisované dosky. Požadované minimálne prierezy stojok vo vzdialenosti 62,5 cm sa navrhujú v závislosti od zabudovania a výšky steny.
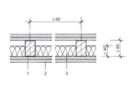
Pri vyhotovení podľa obr. 1 môžu slúžiť deliace steny na báze dreva len na jednoduché rozdelenie miestnosti.
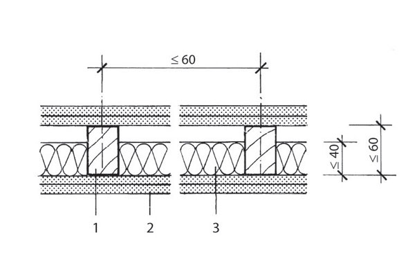
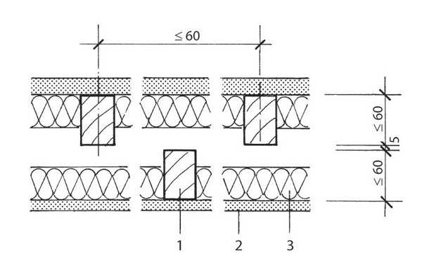
Pri dĺžkach do 5 m sa pomocou skrutiek do dreva < 6 mm ukotvujú do susedných konštrukčných prvkov. Ľahké konzolové zaťaženia možno prenášať pri použití vhodných kotviacich prostriedkov na akomkoľvek mieste s výnimkou doskového debnenia.
| Obr. 1 Drevená deliaca stena s drevenou nosnou konštrukciou 1 – drevotriesková lisovaná doska, 2 – profil z plného dreva, 3 – profil na pripojenie na stenu z plného dreva |
|
![]() |
![]() |
| a) styk medzi prvkami | b) styk medzi doskami |
![]() |
![]() |
| c) pevný spoj so stenou | d) klzný spoj so stenou |
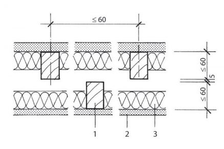
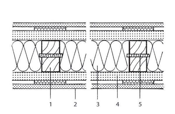
Podobne ako deliace steny s podkladovými konštrukciami z kovových profilov možno vyrobiť aj drevené deliace steny, ktoré spĺňajú zvýšené požiadavky na zvukovú ochranu. Niektoré príklady sú na obr. 2. S takýmito konštrukciami možno dosiahnuť index nepriezvučnosti R’w, R 38 až 49 dB. Vyhotovenie obkladu s rôznymi hrúbkami môže zlepšiť zvukovoizolačné vlastnosti.
| Obr. 2 Drevená deliaca stena s drevenou nosnou konštrukciou; zvukovoizolačné vyhotovenie 1 – drevený profil, 2 – sadrokartónová doska, sadrovláknitá doska, 3 – minerálna vlna, 4 – vyľahčená výplňová doska, 5 – dištančný pásik (napr. samolepiaci plstený pásik) |
|
![]() |
![]() |
| a) jednoduchá nosná konštrukcia s dvojvrstvovým opláštením zo sadrokartónových dosiek a vložkou z minerálnej vlny | b) nosná konštrukcia s dvojitými stojkami a jednoduchým opláštením zo sadrokartónových dosiek a dvojitou vložkou z minerálnej vlny |
![]() |
c) dvojvrstvová nosná konštrukcia s opláštením zo sadrokartónových dosák s priehradkovými doskami nalepenými na vyľahčených výplňových doskách |
Deliace priečky s nosnou konštrukciou z kovových profilov
Na použitie v interiéri sa uprednostňujú deliace priečky s nosnou konštrukciou z kovových profilov. Rozlišujú sa steny s jednoduchými stojkami, dvojitými stojkami a predsadenými vrstvami.
Nosnú konštrukciu tvoria pozinkované oceľové profily. Pri kotvení do podlahy a stropu sa používajú rámové a stojkové kovové profily v tvare U. Do dutín v stene sa vkladajú zvukovoizolačné dosky z minerálnej vlny (z kamennej alebo sklenej vlny). Pri tom platí pravidlo, že čím viac sa dutina naplní, tým lepšie sú zvukovoizolačné vlastnosti stojkovej priečky v porovnaní s priečkou bez izolácie. Maximálnu zvukovú ochranu stojkových priečok možno dosiahnuť vyplnením dutiny na 80 až 100 %. Plošná hmotnosť bežných celostenových sadrokartónových dosák s hrúbkou 12,5 mm sa v súčasnosti pohybuje okolo 8,5 a 9,5 kg/m2.
Protipožiarne sadrokartónové celostenové dosky majú plošnú hmotnosť o trochu väčšiu ako 10 kg/m2. V dôsledku zníženia hmotnosti sadrokartónových dosák sa podstatne zhoršili zvukovoizolačné vlastnosti príslušných deliacich priečok, preto sa začali vyvíjať nové technické riešenia s vysokým stupňom zvukovej ochrany. Predpokladom dobrej zvukovej ochrany stojkových priečok je systém napojenia pružných a tuhých prvkov, ktorý spočíva v spojení dvoch vrstiev (sadrokartónových dosák) spojovacím perom (napr. kovovou stojkou). Čím lepšie sa jednotlivé vrstvy stojkovej priečky akusticky oddelia, tým sa dosiahnu lepšie zvukovoizolačné vlastnosti.
Nové profily CW (kovové stojkové profily v tvare U) sa špeciálne profilujú tak, aby sa zvýšil pružiaci účinok stojok a oddelili sa jednotlivé vrstvy. Profily CW majú pružinový jazýček, ktorý umožňuje dosiahnuť zlepšenie zvukovoizolačných vlastností v porovnaní s profilmi MW (špeciálne pružiace stojkové profily) až o 6 dB.
Porovnávacie merania stavebnej akustiky ukázali, že pri plošnej hmotnosti sadrokartónových dosák 8,5 až 10 kg/m2 vznikajú len nepatrné rozdiely vo zvukovej izolácii. V závislosti od konštrukcie steny sa nameral rozdiel 1 až 3 dB v prospech ťažkých dosák.
Na trhu sú sadrokartónové dosky, ktoré pri rovnakej plošnej hmotnosti len na základe konštrukcie dosahujú lepšie zvukovoizolačné hodnoty aj pri použití štandardných kovových stojkových profilov s tvarom U. Pri použití stojkových profilov s pružinovým jazýčkom sa ich zvukovoizolačné hodnoty výrazne zlepšujú.
Aj vzdialenosť medzi jednotlivými vrstvami zo sadrokartónových dosák podstatne ovplyvňuje zvukovoizolačné vlastnosti stojkových priečok. Závisí od nej rezonančná frekvencia, ktorá by mala byť nižšia ako 100 Hz. Čím väčšia je vzdialenosť vrstiev, tým nižšia je rezonančná frekvencia, teda aj stupeň vzduchovej nepriezvučnosti stojkovej priečky.
Zlepšené systémy so zmenenými stojkovými profilmi sa musia správne zhotoviť, napr. s tesnými spojmi. Chybné spracovanie znemožňuje zvýšenie hodnôt vzduchovej nepriezvučnosti.
Dvojité stojkové priečky majú veľmi dobré zvukovoizolačné vlastnosti pri bezchybnom oddelení oboch vrstiev. Možno použiť odsadené usporiadanie stojok aj oddelenie stojok stojacich oproti sebe pružnou vložkou.
Ďalšie zlepšenie zvukovoizolačných vlastností umožňuje trojvrstvový obklad sadrokartónovými doskami s rôznymi hrúbkami. Dilatačné škáry hrubej stavby sa musia preniesť do konštrukcie stojkových priečok. V prípade spojitých priečok treba vytvoriť dilatačné škáry vo vzdialenosti približne 15 m.
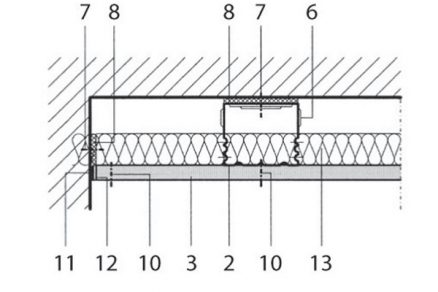
Pri sanácii starých stavieb sa často používajú predsadené plášte na kovových stojkách, aby sa zlepšili tepelnoizolačné a zvukovoizolačné vlastnosti hlavne obvodových stien a deliacich stien medzi bytmi (obr. 3).
Ak má byť na montovaných stenách zohľadnené väčšie konzolové zaťaženie, používajú sa konštrukcie so zosilnenými alebo odsadenými stojkami. Väčšie konzolové zaťaženie, napr. umývadlami, inými zariaďovacími predmetmi alebo ťažkými policami na knihy, treba rozložiť pomocou špeciálnych traverz a steny s dvojitými stojkami treba v stojkových radoch príložkami pevne spojiť v ťahu. V inštalačných priečkach sú stojky tak ďaleko od seba, že bez problémov možno nainštalovať inštalačné rozvody a nosné systémy (napr. pre umývadlá).
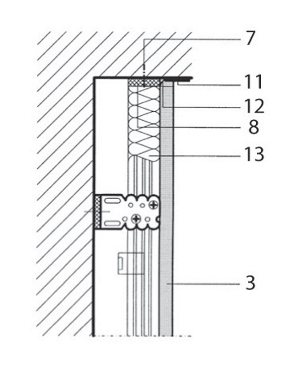
| Obr. 3 Predsadená vrstva na kovovej konštrukcii 1 – montážny profil UD 28/27 × 06; 2 – profil CD 60 × 06; 3 – celopriečková sadrokartónová doska nahradzujúca stenovú omietku, resp. 12,5 mm protipožiarna sadrokartónová doska; 4 – soklová lišta; 5 – soklový prvok; 6 – priamy záves; 7 – rozperná kotva s otočným kolíkom; 8 – 30 mm samolepiaci tesniaci pásik; 9 – plechová skrutka; 10 – skrutka TN-25 mm; 11 – separačný pásik v omietnutých napojovacích plochách; 12 – výplň škáry; 13 – tepelnoizolačný materiál |
|
![]() |
![]() |
| a) izometria | b) napojenie na stenu |
![]() |
![]() |
| c) 90° nárožie | d) napojenie na strop |
Premiestniteľné mobilné deliace priečky s kovovými nosnými konštrukciami
Montážne priečky s kovovou nosnou konštrukciou sa doteraz dali po demontáži opäť použiť len za určitých podmienok, napr. ak bolo opláštenie z drevotrieskových dosák. Cena sadrokartónových dosák v ostatných rokoch postupne klesala a naopak cena manipulácie so stavebným odpadom výrazne stúpla. To viedlo k vyvinutiu stojkovej priečky zo sadrokartónových dosák, ktorú možno kompletne opäť využiť. Priečka sa dá viackrát demontovať a opäť nainštalovať.
V oblasti rámu sadrokartónovej dosky sa umiestni šnúra a zatmelí sa spolu so škárovacím pásom. Koniec čiastočne natočeného škárovacieho pásika a šnúry zakryje sokel.
Pri demontáži sa odstráni sokel, šnúra sa vytrhne zo škáry a tá sa uvoľní. Pri prestavbe sa tak v porovnaní so zbúraním, zneškodnením odpadu zo starej steny a zhotovením novej steny z nového materiálu ušetrí 70 % nákladov.
Na flexibilné využívanie priestoru (napr. kancelárií) sa osvedčili premiestniteľné oceľové prvky s obkladom. Skladajú sa z oceľových prvkov, pozinkovanej kovovej nosnej konštrukcie a obkladu z oceľového plechu s hrúbkou 1 mm, do ktorého sa nalepujú sadrokartónové dosky hrubé 9,5 mm. Povrch sa upravuje vypaľovacím lakom a pokrýva ochrannou fóliou, ktorá ho chráni pred poškodením pri preprave a montáži. Ochranná fólia sa odstraňuje až po ukončení prác. Obklady z oceľového plechu sa spájajú stojkami na záskočku. Dutý stenový priestor možno vyplniť izolačným materiálom a využiť na umiestnenie inštalácií. Inštalácie možno umiestniť aj dodatočne, lebo obklady sa dajú kedykoľvek demontovať. Raster je flexibilný od 100 do 12 500 mm, preto ho možno prispôsobiť akýmkoľvek požiadavkám. Farbu možno vybrať na základe individuálnych predstáv podľa vzorníka RAL.
Používanie profilov, ktoré tvoria príslušenstvo (ukončovacích profilov, líšt na vešanie obrazov, krycích profilov na dilatačné škáry) sa už stalo pravidlom. Šetrí sa pracovný čas (rýchlejšie a presnejšie stierkové práce), práca je čistejšia. Použitím líšt na vešanie obrazov sa zabraňuje aj poškodeniu stien zhotovených suchým spôsobom.
Text: D. Neumann, U. Weinbrener, U. Hestermann, L. Ronger
Grafické prílohy: archív autorov
Príspevok je súčasťou publikácie Stavebné konštrukcie I., vydavateľstvo JAGA, 2005, Bratislava






















