Akustické vlastnosti deliacich priečok
V mnohých novostavbách, najmä bytových domov, sa príliš neskoro zisťujú nedostatky deliacich konštrukcií, ktoré potom vytvárajú nevhodné podmienky na život. Obyvatelia sa čoraz častejšie sťažujú na šíriaci sa hluk zo susedných miestností. Skôr ako sa pristúpi k návrhu deliacej konštrukcie, treba poznať požiadavky, ktoré na deliacu konštrukciu kladie navrhovaný vnútorný priestor. Vhodný návrh a správna technológia výstavby deliacich priečok zabezpečia splnenie normových, resp. právnych požiadaviek na kvalitu vnútorného prostredia. V nasledujúcich riadkoch sa dočítate o základných požiadavkách a stavebno-konštrukčných možnostiach pri návrhu a realizácii deliacich priečok.
Základné požiadavky na deliace konštrukcie
Ďalším dôležitým predpisom používaným v oblasti stavebnej akustiky je norma STN 73 0532, ktorá stanovuje základné požiadavky na deliace konštrukcie, v tomto prípade nie priamo z hľadiska hluku šíriaceho sa z jedného priestoru do druhého, ale z hľadiska nepriezvučnosti samotnej deliacej konštrukcie.
Členenie priečok z hľadiska stavebnej akustiky
Akusticky jednoduché konštrukcie
Konštrukcie sú zložené z tuhých materiálov usporiadaných v jednej alebo viacerých vrstvách rovnakého charakteru, napr. murivo na keramickej alebo pórobetónovej báze s obojstrannou omietkou. Charakterizujeme ich ako homogénne konštrukcie. Ich reprezentantom sú najmä medzibytové deliace steny, priečky zvyčajne zo silikátových materiálov (železobetón, pórobetón, tehly, sadra s obojstrannou omietkou). Medzi akusticky jednoduché konštrukcie zaraďujeme aj špeciálne zvukovoizolačné dierované tehly. Príklady akusticky jednoduchých stien sa uvádzajú na obr. 1. Obr. 1 Príklady akusticky jednoduchých konštrukcií
1 – železobetónová priečka obojstranne omietnutá, 2 – tehlová stena obojstranne omietnutá, 3 – pórobetónové panely alebo stena omietnutá, 4 – pórobetónové tvárnice omietnuté
– ohybovo tuhé steny, ak m´= 250 až 350 kg/m2 a 50 < fk > 200 Hz, d = 100 mm (napr. priečky z betónu, železobetónu, pórobetónu, sadry, z plných a dierovaných tehál)
– ohybovo polotuhé steny, ak 10 < m´> 250 kg/m2 a 200 < fk > 3150 Hz (napr. priečky z ľahkých betónov, pórobetónov, sadrokartónové priečky, drevotrieskové dielce, sklo a pod.)
– ohybovo mäkké steny, ak m´= 20 kg/m2, fk = 3151 Hz a d = 20 mm (napr. priečky z DTD dosiek, tabuľového skla a pod.)
Závislosť vzduchovej nepriezvučnosti od hrúbky akusticky jednoduchej steny pri zachovaní rovnakej objemovej hmotnosti sa uvádza na obr. 2.
Obr. 2 Závislosť vzduchovej nepriezvučnosti od hrúbky akusticky jednoduchej murovanej steny z tehál pri rovnakej objemovej hmotnosti
Akusticky viacvrstvové konštrukcie
Zvukovoizolačné vlastnosti týchto konštrukcií zisťujeme iba na základe akustických meraní. Takáto skladba konštrukcie nepatrí medzi typické skladby deliacich priečok. V súčasnosti sa využívajú napr. na vytvorenie posuvných, skladacích konštrukcií, príp. dverí, kde sa uplatňuje najmä ich vlastnosť vyššej tuhosti a menšej plošnej hmotnosti. Príklady vrstvenej konštrukcie sú zobrazené na obr. 3.
Obr. 3 Príklad skladby vrstvenej konštrukcie
1 – plášť, 2a – drevotriesková doska, 2b – preglejka, 3 – fólia, 4a – vyľahčené sololitové dosky, 4b – voštinová výplň, 4c – doska z minerálnych vlákien, 5a – stabilizácia rámu, 5b – stabilizácia rámu z lamelových profilov, 6 – drevený rám vrstvenej konštrukcie
Akusticky násobné konštrukcie
- dvojité priečky z hmotných stien,
- dvojité priečky z ľahkých čiastkových stien, dosiek,
- kombinované priečky.
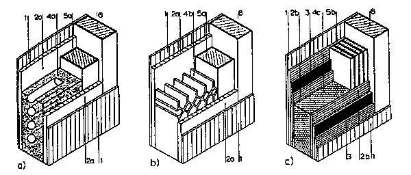
Obr. 4 Príklady akusticky násobných konštrukcií
A – hmotné pórobetónové čiastkové steny Rw = 40,0 dB, B – pórobetónové čiastkové steny so zvukovopohltivou vrstvou Rw = 44,0 dB, C – ľahké čiastkové doskové prvky so vzduchovou vrstvou Rw = 41,0 dB, D – doskové prvky so zvukovopohltivou vrstvou Rw = 49,0 dB, E – akusticky kombinovaná stena – tehlové murivo s predstenou Rw = 56,0 dB
Dvojité priečky z hmotných stien
Pri dvojitých hmotných priečkach zisťujeme malé zlepšenie oproti rovnako hmotným jednoduchým stenám. Zlepšenie nastáva vplyvom vzduchovej vrstvy, ktorá sa nachádza medzi stenami. Aj v prípade násobných konštrukcií môže nastať pokles zvukovej izolácie v dôsledku šírenia zvuku bočnými cestami. Najčastejšie je to spôsobené nedodržaním technológie výstavby, nesprávnym navrhnutím hrúbky čiastkových stien vzhľadom na zdroj hluku, nevhodným návrhom tesnenia v stykoch ohraničujúcich konštrukcií, nesprávnym návrhom hrúbky vzduchovej vrstvy a pod.
Obr. 5 Porovnanie zvukovej izolácie akusticky jednoduchej a akusticky násobnej konštrukcie z pórobetónu
Dvojité priečky z ľahkých čiastkových stien, dosiek
V súčasnosti sa tieto konštrukcie využívajú veľmi často. Sú to zvyčajne ľahké konštrukcie na princípe sadrokartónu typu Rigips, Knauf a pod. Pri malej plošnej hmotnosti čiastkových stien majú totiž relatívne najlepšie zvukovoizolačné vlastnosti.

- materiálové zloženie dosky a jej hrúbka, charakterizované plošnou hmotnosťou a polohou kritického kmitočtu fk > 3150 Hz,
- hrúbka vzduchovej vrstvy medzi čiastkovými doskami,
- tuhosť vzájomného spojenia čiastkových stien (najvhodnejší je pružný spoj),
- vzduchová vrstva úplne alebo čiastočne vyplnená zvukovopohltivým materiálom (zníženie negatívneho vplyvu stojatých vĺn na Rw steny),
- zdvojenie čiastkových stien (zvýšenie plošnej hmotnosti a tým aj Rw steny ako celku).
Obr. 6 Výsledky laboratórnych meraní vzduchovej nepriezvučnosti akusticky jednoduchej a akusticky kombinovanej konštrukcie
A – skladba: priečky z tehál Wienerberger s hr. 115 mm + obojstranná omietka s hr. 5 mm; Rw = 37 dB
B – skladba: priečka z tehál Wienerberger s hr. 140 mm s obojstrannou omietkou 5 mm, minerálna vlna s hr. 50 mm, 2 x sadrokartón 12,5 mm; Rw = 56 dB
Akusticky kombinované konštrukcie
Ing. Dušan Dlhý, PhD.
Svf STU Bratislava
Článok bol spracovaný s podporou grantovej úlohy VEGA 1/4207/07.












