Poistná hydroizolácia v skladbe šikmej strechy obytného podkrovia
Poistná hydroizolácia je jednou z neoddeliteľných vrstiev strešného plášťa obytného podkrovia. Aby mohla v skladbe strechy dobre plniť svoju funkciu, dôležitý je vhodný výber poistnej hydroizolácie vo vzťahu ku konštrukcii strechy a jej správne zabudovanie aj vzhľadom na ostatné vrstvy strešného plášťa. Nevyhnutné je tiež dodržiavanie konštrukčných zásad a riešenie detailov. Len správne navrhnutý a realizovaný strešný plášť je funkčný počas celej životnosti objektu.
Okrajové podmienky pre návrh strešného plášťa obytného podkrovia
Cieľom návrhu konštrukcie strechy je dosiahnuť optimálnu kvalitu vnútorného prostredia počas celého roka. Okrajové podmienky, ktoré vstupujú do návrhu konštrukcie strešného plášťa, sú:
- vnútorná klíma,
- vonkajšia klíma,
- architektonické požiadavky,
- konštrukčné požiadavky,
- statické požiadavky,
- požiadavky požiarnej bezpečnosti,
- aerodynamické a hydrodynamické požiadavky,
- akustické požiadavky,
- tepelnotechnické požiadavky,
- ekonomické požiadavky.
Na základe týchto podmienok sa navrhne skladba strešného plášťa, v ktorej sa musia dodržať jednotlivé vrstvy.
Funkcia krytiny strešného plášťa
Na strešné plášte obytných podkroví sa väčšinou používa skladaná krytina z keramiky, betónu, bridlice alebo plechu. Tieto krytiny však majú spoločnú vlastnosť – neodolávajú tlakovej vode a tlaku vzduchu. To znamená, že cez skladanú krytinu môže prenikať voda v rôznych skupenstvách a tlak vzduchu s nečistotami. Každá skladaná krytina má výrobcom určený bezpečnostný sklon pre skladbu strechy s poistnou hydroizoláciou alebo bez poistnej hydroizolácie, ktorý treba dodržať. Stále však platí, že zabudovaný systém ako celok neodoláva tlakovej vode, hnanému dažďu, lietajúcemu snehu, vode a tlaku vzduchu pri akomkoľvek sklone. Z tohto dôvodu treba riešiť pod krytinou poistný hydroizolačný systém.
![]() |
![]() |
| Obr. 1 Skladaná krytina strešného plášťa obytného podkrovia | Obr. 2 Odvetraná vzduchová vrstva |
Funkcia odvetranej vzduchovej vrstvy strešného plášťa
Vzduchová vrstva je umiestnená medzi poistným hydroizolačným systémom a hlavným hydroizolačným systémom – krytinou. Jej funkciou je okrem iného odvádzanie zabudovanej a difundujúcej vlhkosti zo strešného plášťa, ako aj odvádzanie tepla v letnom období. Aby odvetraná vzduchová vrstva správne plnila svoju funkciu, musia sa dodržať tieto základné konštrukčné zásady:
- potrebná plocha privádzacích otvorov vzhľadom na plochu strechy,
- potrebná plocha odvádzacích otvorov vzhľadom na plochu strechy,
- správne umiestnenie a dimenzia vzduchovej vrstvy (vzhľadom na dĺžku vetranej vrstvy).
Princíp správneho návrhu vetracej výšky a plochy privádzacích a odvádzacích otvorov je v STN 73 1901.
Definícia a funkcia poistných hydroizolácií
Poistná hydroizolácia šikmých striech je súvislá vrstva pod strešnou krytinou, ktorú tvorí poistný hydroizolačný systém a pomocný hydroizolačný systém konštrukcie.
Poistný hydroizolačný systém chráni vrstvy strešného plášťa a podstrešné priestory pred účinkami hnaného dažďa, snehu, vetra a prachu v prípade poruchy hlavného hydroizolačného systému.
Pomocný hydroizolačný systém chráni konštrukciu pri zhotovovaní strechy a tepelnoizolačnú vrstvu pri rekonštrukcii hlavného hydroizolačného systému. Systém môže chrániť aj iné vrstvy konštrukcie strechy pred atmosférickou a technologickou vlhkosťou. Ďalšia z vlastností poistnej hydroizolácie je difúzna priepustnosť, ktorú vyjadruje veličina sd (m). Vzhľadom na to, že sa poistná hydroizolácia nachádza na vonkajšom povrchu strešného plášťa alebo tesne nad ním, musí byť paropriepustná.
Aby bola pomocná hydroizolácia spoľahlivá a mala dlhú životnosť, musí mať dostatočnú pozdĺžnu a priečnu pevnosť a ťažnosť, UV stálosť, chemickú odolnosť a pod. Poistná hydroizolácia môže plniť aj funkciu prekážky proti vetru (vetrozábrany), ktorá odoláva tlaku vetra prenikajúceho cez krytinu a znižuje ochladzovanie hornej časti tepelnej izolácie. Takáto prekážka sa vytvorí utesnením spojov v presahoch poistnej hydroizolácie. Bráni tak zvyšovaniu energetických strát, pretože pri netesnostiach tepelnej izolácie môže preniknúť prúdenie vzduchu až pod tepelnú izoláciu, čo môže spôsobiť kondenzáciu vlhkosti aj na kvalitne vyhotovenej parozábrane.
Materiály používané ako poistná hydroizolácia v skladbách šikmých a strmých striech možno rozdeliť do štyroch hlavných skupín:
- asfaltované pásy,
- fóliové pásy,
- poistné dosky,
- poistné fólie.
Jedným z najdôležitejších spôsobov delenia poistných hydroizolácií je delenie na kontaktné a bezkontaktné. Kontaktné poistné hydroizolácie sa môžu zabudovať do konštrukcie v kontakte s iným materiálom (môžu byť uložené napr. na drevené debnenie alebo na tepelnú izoláciu). Pri nekontaktných to nie je možné – tie sa navrhujú iba v trojplášťových šikmých strechách s odvetranou vzduchovou vrstvou nad aj pod poistnou hydroizoláciou. Tu je častým problémom nedodržanie odvetranej vrstvy pod poistnou hydroizoláciou. Ďalšou z chýb, ktorej sa realizačné firmy dopúšťajú, je odvodnenie poistnej hydroizolácie odkvapovým plechom.
Detaily zabudovania poistných hydroizolácií
Typy poistných hydroizoláciíPoistné hydroizolácie podľa zabudovania v strešnom plášti:
Poistné hydroizolácie podľa použitého materiálu:
Poistné hydroizolácie podľa štruktúry materiálu:
Poistné hydroizolácie podľa vystuženia:
Poistné hydroizolácie podľa ekvivalentnej difúznej hrúbky:
Poistné hydroizolácie podľa vzájomného spájania:
|
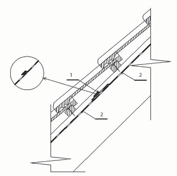
Riešenie detailov poistných hydroizolácií je také dôležité ako samotný návrh tejto vrstvy strešného plášťa. Každý typ poistných hydroizolácií má svoje konštrukčné zásady zabudovania. Ako príklad možno uviesť najčastejšie riešené detaily pre druhý stupeň tesnosti triedy C pri dvojplášťovej streche. Poistná hydroizolácia druhého stupňa triedy C sa vyznačuje prelepenými spojmi v presahoch, utesnenými detailmi pri prestupujúcich konštrukciách a tesniacimi páskami pod kontralatami (obr. 3 až 6).
| Obr. 3 Detail riešenia poistnej hydroizolácie pri zateplenom hrebeni: 1 – lepiaca páska, 2 – poistná hydroizolácia | Obr. 4 Detail riešenia poistnej hydroizolácie pri vzájomnom spoji pásov: 1 – lepiaca páska, 2 – poistná hydroizolácia |
![]() |
![]() |
| Obr. 5 Detail riešenia poistnej hydroizolácie pri rímse: 1 – poistná hydroizolácia, 2 – pozinkovaný plech, 3 – lepidlo, 4 – podkladové dosky | Obr. 6 Detail riešenia poistnej hydroizolácie pri komíne: 1 – poistná hydroizolácia, 2 – lepiaca páska (lepidlo), 3 – vytvorenie žľabu z poistnej hydroizolácie |
![]() |
![]() |
Tepelnoizolačná vrstva strešného plášťa
Táto vrstva predovšetkým obmedzuje nežiaduce tepelné straty (zisky) a zabezpečuje požadovaný stav vnútorného prostredia. Jej základnou úlohou je spomalenie odovzdávania tepla v čase. Tepelnoizolačná vrstva musí zabraňovať aj tvorbe kondenzácie a tepelných mostov a súčasne obmedzovať teplotné deformácie. Často však tepelná izolácia v hornej časti strešného plášťa pod poistnou hydroizoláciou nie je stabilizovaná (v dvoj- i trojplášťových šikmých strechách). Nestála geometria tvaru tepelnej izolácie (na báze sklenej alebo minerálnej vlny) potom spôsobuje jej vydúvanie smerom k poistnej hydroizolácii.
Ak je poistná hydroizolácia kontaktná, voda stekajúca po nej smeruje ku kontralatám, ktoré vlhnú, preto treba pod nimi riešiť separačnú vrstvu. Ak je poistná hydroizolácia bezkontakná – zospodu odvetraná, môže voda stekajúca po nej v kontakte s tepelnou izoláciou prenikať do konštrukcie strešného plášťa. Kontaktom mikroperforovanej poistnej hydroizolácie a tepelnej izolácie sa zamedzí prúdeniu vzduchu pod poistnou hydroizoláciou, čo vedie k defektom z hľadiska kondenzácie vodných pár. Na stabilizáciu tepelnoizolačnej vrstvy je najvhodnejšie zvoliť drevené debnenie, ktoré však nie je spájané na pero a drážku.
Parotesná vrstva (parozábrana)
Je to vrstva obmedzujúca alebo zamedzujúca prienik vodnej pary z interiéru do strešného plášťa. Požadovaný stav vnútorného prostredia a reálny stav vonkajšieho prostredia, najmä v zimnom období, je hlavným dôvodom zabudovania parozábrany v strešnom plášti. V konštrukcii strešného plášťa sa parozábrana zabuduje pod tepelnou izoláciou (z interiéru) alebo sa umiestni v tepelnoizolačnej vrstve tak, aby bolo maximálne 20 % tepelnoizolačnej vrstvy z interiéru a 80 % z exteriéru.
Tesnosť z hľadiska prenikania vodných pár z interiéru do exteriéru sa volí tak, aby vlhkostná bilancia bola zosúladená s normou STN 73 0540. Parozábrana sa musí zrealizovať vzduchotesne v ploche i v napojení na konštrukcie (napr. stena, strop, podlaha, prestup cez parozábranu atď.). Vzduchotesné napojenie sa zabezpečuje prelepením spojov spojovacími alebo tesniacimi páskami. Nevhodným zabudovaním či dokonca nezabudovaním parozábrany do konštrukcie strechy nastane kondenzácia v strešnom plášti. To sa prejaví na fyzikálnych charakteristikách tepelnej izolácie, a teda aj na energetickej spotrebe budovy a vplyvom plesní sa môže narušiť celistvosť nosného systému krovu.
Podhľadová vrstva strešného plášťa
Povrchovú úpravu z interiéru vytvára podhľad, ktorý má funkciu estetickú a dekoračnú. Pri zabudovávaní tejto vrstvy treba dbať na to, aby parozábrana nebola perforovaná. To možno dosiahnuť tak, že sa medzi podhľadom a parozábranou vyhotoví rošt, na ktorý sa podhľadová vrstva ukotví. Tak vznikne nevetraná vzduchová vrstva, ktorú možno vyplniť tepelnou izoláciou.
Príklady porúch poistných hydroizolácií
Dodržanie konštrukčných zásad a rešpektovanie materiálového zloženia poistných hydroizolácií je pri návrhu a realizácii týchto vrstiev veľmi dôležité, rovnako ako pri ostatných vrstvách strešného plášťa. Chyby vznikajú už v projekcii, ale aj v nedôslednosti zabudovania materiálu do strešného plášťa.
Na obr. 7 je nekontaktná mikroperforovaná fólia zabudovaná ako poistná hydroizolácia na drevené debnenie. Bezkontaktná hydroizolácia však na to, aby bola funkčná, vyžaduje prevetrávanie nad i pod poistným hydroizolačným pásom.
![]() |
![]() |
| Obr. 7 Nevhodné zabudovanie poistnej hydroizolácie | Obr. 8 Kondenzát na poistnej hydroizolácii |
V opačnom prípade, ak sa fólia dotýka dreveného debnenia, stráca poistná hydroizolácia svoju hydroizolačnú schopnosť a začne cez ňu prenikať voda. Poistná hydroizolácia potom trpí „stanovým“ efektom. Na nesprávne prevetrávanie nad i pod mikroperforovanou fóliou poukazuje aj obr. 8. V tomto prípade hrala rolu kondenzácia vodných pár – parozábrana nebola prelepená, a teda vôbec neplnila svoju úlohu. Kondenzát stekajúci po strešnej fólii sa tak dostal až do interiéru.

Detail pri rímse sa musí riešiť privádzajúcimi otvormi odvetrania, ktoré umožňujú odvetranie nad i pod mikroperforovanou poistnou hydroizoláciou. Okolo komína v mieste prechodu strechou sa musí vytvoriť odvetranie a fólia nesmie byť v kontakte s telesom komína. To isté platí aj pri prestupe potrubia.
Pri použití kontaktných poistných hydroizolácií je poruchovosť konštrukcie strechy menšia ako pri mikroperforovaných poistných hydroizoláciách, nie však zanedbateľná. Táto skupina poistných hydroizolácií má svoje zásady zabudovania. Dobrým a kvalitným prelepením spojov poistnej hydroizolácie možno dosiahnuť aj výbornú odolnosť proti vetru. Najčastejšie chyby pri mikroporéznych poistných hydroizoláciách sú:
- prilepenie poistnej hydroizolácie na odkvapový plech pri rímse,
- netesné nalepenie na komínové teleso a na prestupové potrubia,
- nedostatočné prelepenie alebo krytie bez prelepenia pozdĺžnych a priečnych spojov v ploche poistnej hydroizolácie.
Ing. Igor Kajan
Foto a obrázky: autor
Autor je technický poradca pre šikmé strechy v spoločnosti Icopal, a. s.



















