Moderné metódy spájania železobetónových prefabrikátov
Používanie prefabrikovaných železobetónových skeletov na nosné konštrukcie budov má bohatú tradíciu v mnohých krajinách Európy. Čoraz častejšie sa toto riešenie vracia do obľuby projektantov a staviteľov aj na Slovensku. Popri výhodách, ktoré táto technológia ponúka, sú jedným z faktorov pôsobiacich v neprospech prefabrikácie otázky spojené s realizáciou prípojov. Týka sa to predovšetkým náročnosti postupov a následnej kvality spracovania. Článok prináša stručný prehľad inovačných riešení na spájanie betónových prefabrikátov pri výstavbe železobetónového skeletu.
Aj napriek nesporným výhodám, ktoré sa spájajú s používaním prefabrikovaných železobetónových nosných systémov, sú zlé skúsenosti realizačných subjektov s montážou, resp. so zvládnutím prípojov medzi prefabrikátmi stálou prekážkou intenzívnejšieho rozvoja tohto typu konštrukcií na našom území.
V krajinách, kde má prefabrikácia silnú tradíciu, a ktoré sú známe aktívnym prístupom k inováciám (škandinávske krajiny), sa začali touto problematikou zaoberať už v 80. rokoch. Výsledkom bol vznik moderných konštrukčných riešení na spájanie prefabrikovaných železobetónových dielcov, ktoré určitou mierou prispeli k zvýšeniu efektivity stavebných prác v spomenutých krajinách. V súčasnosti sa stali v Škandinávii, ale aj ďalších európskych krajinách, bežným štandardom. Týkajú sa tak prípojov zvislých nosných konštrukcií (prefabrikovaných stĺpov) na základové konštrukcie, ako aj vodorovných nosných systémov.
Zvislé nosné konštrukcie

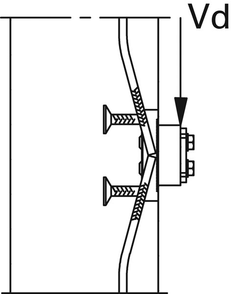
O niečo komplikovanejšie môže byť zakladanie stĺpov namáhaných ohybovým momentom. V tomto prípade treba zabezpečiť prenos ťahových síl do betónu. Jedným z možných riešení je vytvorenie momentovo tuhého prípoja kombináciou stĺpových pätiek, ktoré sa zabudujú do železobetónového prefabrikátu, so skrutkami ukotvenými v základovej konštrukcii.
Ešte pred osadením stĺpa sa na závitovú časť kotevných skrutiek nasadia matky, ktoré umožňujú výškovo polohovať prípoj. Následne sa na skrutky nasadí prostredníctvom stĺpových pätiek železobetónový prefabrikát, skontroluje sa zvislá poloha stĺpa a zaskrutkuje druhá séria matiek. Pred uvedením do prevádzky sa v mieste prípoja vykoná zálievka z nezmrašťujúcej sa malty.
Kotevné skrutky sa navrhujú tak, aby dokázali preniesť ťahové namáhanie od ohybového momentu do základovej konštrukcie nielen v montážnom, ale aj v prevádzkovom štádiu. Skrutky sa skladajú so závitovej časti, ktorá presahuje zo základovej konštrukcie, a kotviacej zabetónovanej časti. V závislosti od rozmerov základovej konštrukcie si možno kotviacu časť skrutky zvoliť priamu alebo ukončenú rozkovanou hlavou. V prípade priamych kotevných skrutiek je prenos zaťaženia medzi skrutkou a betónom rozložený po celej dĺžke zabetónovanej časti skrutky. Z toho vyplýva aj jej celková dĺžka 800 až 2 000 mm.
![]() |
![]() |
|
| Osadenie stĺpových pätiek do hlavnej výstuže stĺpa | Montážny postup pri kotvení prefabrikovaného stĺpa |
V prípade, že je dĺžka kotevnej časti skrutky obmedzená rozmermi základovej konštrukcie, použijú sa skrutky s rozkovanou hlavou, ktoré majú prenos síl lokalizovaný v mieste hlavy. Tým pádom sú pri rovnakej únosnosti kratšie (300 až 500 mm) ako skrutky s rovnou kotevnou časťou. Stĺpové pätky majú takisto kotevnú a montážnu časť. Tri až štyri výstužné prúty, ktoré sú navrhnuté tak, aby dokázali do stĺpa preniesť ťahovú silu rovnajúcu sa minimálne ťahovej únosnosti závitovej časti, tvoria kotevnú časť. Montážna časť pozostáva z oceľovej platne s kruhovým otvorom, cez ktorý sa pätka nasadí na skrutku. Stĺpové pätky sa umiestnia do debnenia prefabrikátu ešte pred betonážou tak, aby montážna časť ostala prístupná.
Vodorovné nosné konštrukcie
Jedným zo štandardných vodorovných nosných systémov pre konštrukcie budov sú prefabrikované dutinové panely. Vyznačujú sa relatívne nízkou vlastnou tiažou, a tým pádom prenášajú na podporné a výstužné konštrukcie nižšie zaťaženie. Väčšinou sa ukladajú na predpäté stropné prievlaky.
Čoraz viac sa však používajú moderné nosné systémy typu slim-floor, v ktorých možno panely kombinovať s oceľovým zváraným nosníkom komorového prierezu so sériou otvorov v stenách. Na spodnú pásnicu tohto nosníka sa v priečnom smere ukladajú dutinové panely, medzera medzi panelmi, ako aj vnútorný priestor v nosníku, sa zalejú betónom. Po zatvrdnutí zálievky vzniká konštrukcia, ktorá z funkčného hľadiska spĺňa parametre spriahnutého nosníka.
To znamená, že tento zváraný nosník komorového prierezu so sériou otvorov v stenách:
- je v montážnom štádiu zväčša samonosný – netreba ho podopierať a uvoľní sa tak priestor pod konštrukciou,
- výsledná konštrukcia má rovný podhľad,
- navrhuje sa s navýšením, čím sa eliminuje priehyb od vlastnej tiaže oceľových a betónových dielcov.
Uloženie zváraného oceľového nosníka komorového prierezu so sériou otvorov v stenách na železobetónové alebo spriahnuté stĺpy sa môže realizovať alternatívne, dvoma spôsobmi:
- uloží sa na vrchol stĺpa a upevní pomocou kotevných skrutiek, na ktoré možno následne napojiť ďalší stĺp. Toto riešenie je vhodné najmä v prípade vnútorných stĺpov, kde nosník spojito prebieha cez stĺp a vzniká tuhý prípoj,
- zavesí sa na stĺp pomocou krátkych konzol typu PCs, ktoré pôsobia ako kĺbový pripoj.
![]() |
![]() |
|
| Uchytenie prefabrikovaného nosníka na železobetónový stĺp | Uchytenie nosníka na železobetónový stĺp |
Konzoly PCs sa môžu použiť tak na zavesenie oceľových, ako aj prefabrikovaných železobetónových nosníkov. Oceľové nosníky sa osadia prostredníctvom koncovej platne s výrezom v tvare PCs konzoly. Prípoj prefabrikovaného nosníka sa realizuje osadením do oceľovej pätky zabudovanej v nosníku.
Konzola PCs pozostáva z:
- kotevnej časti,
- konzolovej dosky,
- veľkej podložky,
- dvoch skrutiek a dvoch malých podložiek.
Kotevná časť sa osadí do debnenia spolu s výstužou stĺpa. Na rozdiel od klasických riešení (krátke železobetónové konzoly) možno použiť rovné debnenie, resp. netreba v ňom vytvárať otvory. Konzolová časť sa priskrutkuje k stĺpu až po odstránení debnenia. Prenos šmykových síl medzi kotevnou časťou a konzolovou časťou je v plnej miere zabezpečovaný ozubenou trecou plochou, nie skrutkami. Tým pádom je konzola výškovo polohovateľná a jej poloha v zvislom smere sa dá nastaviť aj priamo na stavbe.
![]() |
![]() |
|
| Detail konzoly PCs | ||
Záver
Okrem technických aspektov sú zaujímavé aj iné výhodý inovačných konštrukčných riešení. Väčšina výrobkov, ktoré sa používajú na spájanie betónových prefabrikátov, sa vyrába štandardne, to znamená, že majú nemenné materiálové a konštrukčné vlastnosti. Dielenské spracovanie týchto prvkov je predpokladom, že kvalita vypracovania výrobkov bude spĺňať minimálne kritéria kladené na strojársku výrobu.
Konštrukčné vlastnosti výrobkov, ako aj kvalita výroby, sú pre väčšinu výrobkov garantované technickými osvedčeniami, ktoré vystavujú autorizované organizácie v jednotlivých krajinách Európskej Únie. Projektantom týmto odpadá značná časť práce, pretože nemusia riešiť a navrhovať nové konštrukčné detaily.
Ing. Ján Bujňák, PhD
Foto: PEIKKO Group
Autor pracuje ako R&D inžinier v spoločnosti Deltabeam Slovakia, s. r. o, ktorá je dcérskou spoločnosťou fínskej PEIKKO Group.
Recenzoval Ing. Ján Schmuck

















