Vlastnosti budov a vykurovacích systémov ovplyvňujúce reguláciu tepelného výkonu
Tepelný režim vykurovacieho systému by sa mal zhodovať s tepelným režimom stavby. Základnou úlohou každého vykurovacieho systému je zabezpečiť tepelnú pohodu vo všetkých prevádzkových podmienkach. Hlavným predpokladom je správny návrh jednotlivých častí systému, dôležitú úlohu zohráva aj voľba stratégie regulácie tepelného výkonu a jednotlivých členov regulačného obvodu.
Ešte predtým je tu však samotná budova so svojimi tepelnoakumulačnými vlastnosťami, ktoré ovplyvňujú efektívnu prevádzku vykurovacieho systému a ktoré musí projektant TZB rešpektovať pri výbere a návrhu vykurovacieho systému. Ak sa dynamické správania budovy a vykurovacieho systému výrazne odlišujú, aj špičkový riadiaci systém môže mať problémy zabezpečiť požadované parametre regulačného obvodu pri regulačnom procese.
Každý energetický systém, od zdroja tepla cez distribučnú sústavu až po koncové prvky (vykurovacie telesá/plochy), je navrhnutý na okrajové, výpočtové podmienky. Tento stav sa však počas prevádzkového obdobia vyskytuje len obmedzený počet dní, v ostatnom čase pracuje systém na čiastkový výkon. Úlohou riadiaceho systému je zabezpečiť:
- tepelnú pohodu pri všetkých prevádzkových podmienkach – t. j. vnútorné výpočtové teploty vzduchu vo všetkých vykurovaných miestnostiach v zmysle legislatívnych predpisov,
- medzné hodnoty povrchových teplôt vykurovacích telies/plôch predpísané hygienickými predpismi za účelom ochrany zdravia užívateľov,
- medzné hodnoty teplôt a tlakov teplonosnej látky za účelom zamedzenia poškodenia technologického zariadenia,
- medzné hodnoty teplôt na povrchoch stavebných konštrukcií za účelom zamedzenia ich poškodeniu (napr. kondenzáciou),
- efektívnu prácu energetického systému pri všetkých prevádzkových stavoch s minimálnymi prevádzkovými nákladmi a čo najmenšími zásahmi obsluhy.
Vplyv vlastností stavebného objektu na reguláciu
Vlastnosti stavebného objektu podmieňujú nielen výber a návrh vykurovacieho systému, výrazne ovplyvňujú aj voľbu spôsobu regulácie jeho tepelného výkonu. Týka sa to hlavne veľkosti stavebného objektu, účelu využitia a jeho tepelnoakumulačných vlastností.
Veľkosť a účel objektu
Pri malých vykurovacích sústavách s jedným kotlom, prípadne kombinovaných so systémami využívajúcimi obnoviteľné zdroje energie v rodinných domoch, postačujú spravidla jednoduchšie spôsoby riadenia s nižšími nárokmi na investície do riadiacej techniky a bez potreby zložitej obsluhy regulátora alebo riadiacej jednotky. Systém riadenia zabezpečuje spravidla požadované parametre vykurovacej vody, teplej vody a základné ochranné funkcie.
Vykurovacie sústavy v rozľahlejších a viacpodlažných objektoch sú oveľa zložitejšie, čo si vyžaduje rozmanitejšie a náročnejšie riadiace funkcie, ako napríklad:
- meracie a regulačné obvody na úrovni výroby tepla – regulácia výkonu kotlov ako jednotlivých technologických zariadení a regulácia výkonu skupiny kotlov, regulácia výkonu výmenníkov tepla (vykurovanie, vzduchotechnika, príprava teplej vody),
- meracie a regulačné obvody na zabezpečenie požadovaných parametrov fyzikálnych veličín potrebných na bezporuchovú a ekonomickú prevádzku vykurovacieho systému – regulácia tlaku vykurovacej vody, tlakovej diferencie, regulácia hladiny v nádržiach, doplňovanie vody do systému, havarijné a bezpečnostné obvody zdrojov tepla, meranie spotreby tepla a podobne,
- meracie a regulačné obvody na úrovni distribúcie tepla – centrálna regulácia teploty vykurovacej vody, regulácia tlakovej diferencie na vstupe do vykurovacej sústavy,
- meracie a regulačné obvody na úrovni odovzdania tepla – individuálna regulácia teploty v jednotlivých miestnostiach.
V takýchto objektoch môže byť vykurovací systém rozdelený do viacerých zón s odlišnými požiadavkami na teplotu vykurovacej vody, ktoré vyplývajú z rôznej orientácie na svetové strany (tepelné zisky od slnka) a s požiadavkami na rôzne využitie týchto zón alebo na odlišné vykurovacie sústavy (veľkoplošná sálavá, konvekčná, sálavé panely). Orientácia objektu vzhľadom na svetové strany podmieňuje umiestnenie snímačov vonkajšej teploty na fasádu. Svoju úlohu pri umiestnení týchto snímačov zohráva aj výška objektu, poveternostné podmienky, umiestnenie objektu vzhľadom na okolitý terén a podobne.
Tepelnoakumulačné vlastnosti stavebného objektu
Dynamiku vykurovaného objektu ovplyvňuje jeho tepelná zotrvačnosť, t. j. schopnosť akumulovať teplo v stavebných konštrukciách. Podľa schopnosti akumulovať teplo sa môžu budovy rozlíšiť na (podrobnejšie uvedené v STN EN 73 0540, časť 3 a 4):
- Budovy s veľkou akumulačnou schopnosťou – charakterizované väčšou hrúbkou muriva, zvyčajne s väčšou mernou tepelnou kapacitou materiálu a menším podielom zasklenia obvodového plášťa. Takéto objekty sa vyznačujú väčšou tepelnou stabilitou, nedochádza v nich k citeľnému ochladeniu vnútorných povrchov stien pri náhlom poklese vonkajšej teploty, kým svojím výkonom stihne zareagovať vykurovacia sústava. Vnútorná teplota sa mení vplyvom zmien vonkajšej teploty len pozvoľna.
- Budovy s malou akumulačnou schopnosťou – vyznačujú sa malou hrúbkou konštrukcie obvodovej steny, nízkou hmotnosťou, menšou mernou tepelnou kapacitou materiálov a vysokým podielom zasklenia.
Vonkajšie klimatické zmeny sa veľmi rýchlo odrážajú na stave vnútorného prostredia, môže dochádzať k veľkým tepelným ziskom od slnka. Takéto objekty kladú vyššie nároky na reguláciu vykurovacieho systému, ktorý musí zabezpečiť požadovanú tepelnú pohodu pri náhlych zmenách vonkajšej teploty alebo výskyte tepelných ziskov. Na obr. 1 je znázornený vplyv tepelnej zotrvačnosti stavebných konštrukcií objektu na priebeh teploty vnútorného vzduchu.
Obr. 1 Vplyv tepelnej zotrvačnosti objektu na priebeh teploty vnútorného vzduchu [2]
Vplyv vlastností vykurovacích sústav na reguláciu
Teplota vzduchu v priestore je jedným zo základných parametrov tepelnej pohody, ktorý zabezpečuje vykurovací systém. K zmene teploty vzduchu dochádza v rôznych prípadoch – pri pôsobení poruchových veličín, ako sú vonkajšie alebo vnútorné tepelné zisky, kolísanie teploty vykurovacej vody, prestavenie jej žiadanej hodnoty zásahom človeka alebo v dôsledku vopred stanoveného časového programu regulačného zariadenia.
Čas, za ktorý dosiahne teplota vzduchu novú žiadanú hodnotu alebo nadobudne pôvodnú hodnotu, závisí od viacerých činiteľov, predovšetkým od vlastností vykurovacieho telesa, resp. vykurovacej plochy. Zmena teploty vzduchu pri regulačnom procese nastáva v dôsledku zmeny teploty/zmeny prietoku teplonosnej látky, s ktorou bezprostredne súvisí výkon vykurovacieho telesa.
Rýchlosť zmeny výkonu vykurovacieho telesa závisí:
- od jeho tepelnoakumulačných vlastností – materiálu samotného telesa, v prípade vykurovacích plôch od materiálu a hrúbky jednotlivých vrstiev vykurovacej plochy, od objemu vody v telese,
- od dopravného oneskorenia teplonosnej látky – času, za ktorý teplonosná látka prekoná vzdialenosť od miesta zásahu regulátora (regulačného ventilu) po vykurovacie teleso/plochu; závisí to od rýchlosti prúdenia teplonosnej látky a od samotnej vzdialenosti, ktorú musí prekonať.
Dynamiku vykurovacích systémov možno vyjadriť prostredníctvom časovej konštanty, ktorá sa vypočíta ako pomer tepla akumulovaného vo vykurovacom telese/ploche Qa k jeho tepelnému výkonu ΦVT. Možno ju vyjadriť aj prostredníctvom tepelnej kapacity vykurovacieho telesa/plochy a mernej tepelnej straty miestnosti
τ = Qa / φVT = ρ. c. V/ h. S (s)
kde
τ je časová konštanta vykurovacej plochy/telesa (s),
ρ – objemová hmotnosť (kg/m3),
c – merná tepelná kapacita (J/(kg . K)),
V – objem telesa (m3),
H – súčiniteľ prestupu tepla na povrchu telesa (W/(m2 . K)),
S – plocha telesa (m2).
V tab. 1 sú na porovnanie uvedené hodnoty časovej konštanty niektorých typov vykurovacích telies, resp. plôch.
Doskové vykurovacie telesá majú v porovnaní s článkovými menšiu tepelnú zotrvačnosť v dôsledku menšieho obsahu vody. Z hľadiska materiálu a spôsobu výroby majú najväčšiu tepelnú zotrvačnosť liatinové vykurovacie telesá, nasledujú oceľové vykurovacie telesá a najnižšou tepelnou zotrvačnosťou sa vyznačujú maloobjemové vykurovacie telesá zo zliatin hliníka. Tepelná zotrvačnosť závisí aj od projektovaného teplotného spádu vykurovacej sústavy, ktorý priamo súvisí s veľkosťou teplovýmennej plochy, teda s objemom vody v samotnom telese.
Veľkoplošné vykurovacie sústavy charakterizuje rôzne konštrukčné vyhotovenie v závislosti od konkrétneho typu. V porovnaní so sústavami s konvekčnými vykurovacími telesami sa vyznačujú väčším objemom vykurovacej vody vo vykurovacích rúrkach, čo je dané potrebou podstatne väčšej teplovýmennej plochy z dôvodu nižšej povrchovej teploty. Predovšetkým plochy so zabetónovanými rúrkami sú zvyčajne veľmi hmotné, preto je aj ich tepelná zotrvačnosť veľká, rádovo niekoľko hodín.
Jej veľkosť závisí od spôsobu vyhotovenia vykurovacej plochy, materiálu jednotlivých vrstiev a ich hrúbky. Veľká tepelná zotrvačnosť spôsobuje, že pri tomto type vykurovania nie sú možné rýchlejšie zmeny tepelného výkonu, preto sa regulačné zásahy prejavujú vo vykurovanej miestnosti len veľmi pozvoľna a zároveň je veľmi dlhý aj čas zákuru.
Na určenie dynamických vlastností regulovanej sústavy treba poznať jej dynamickú charakteristiku. Na jej získanie sa využíva skoková zmena akčnej veličiny (napríklad prestavenie zdvihu regulačného ventila), pričom sa sleduje priebeh regulovanej veličiny (napríklad teploty vykurovacej vody a pod.) (obr. 2).
Obr. 2 Dynamické charakteristiky regulovaných sústav [6]; x – regulovaná veličina, y – akčná veličina, t – čas, n – počet akumulačných členov, Tu – čas prieťahu, Tg – čas nábehu
Väčšina sústav pracujúcich na báze šírenia tepla reaguje na zmeny akčnej veličiny oneskorene, s časovým posunom. Na obr. 2 je v hornej časti zobrazená skoková zmena akčnej veličiny, v spodnej časti je odozva regulovanej veličiny na túto skokovú zmenu. Čím má sústava väčší počet akumulačných členov, tým viac nadobúda priebeh charakteristiky esovitý tvar, sústava je ťažšie regulovateľná a vyžaduje si použiť zložitejšiu štruktúru regulačného obvodu. Počet akumulačných členov je v grafe označený písmenom n, pričom sústava s n = 0 je v oblasti šírenia tepla teoretická.
Dobre regulovateľné sústavy možno charakterizovať tým, že všetky zariadenia majú malú hmotnosť, plochy výmenníkov nie sú predimenzované, teplonosná látka má vo výmenníku pomerne vysokú a konštantnú rýchlosť prúdenia a snímače sú zabudované v miestach dokonalého prúdenia meranej látky.
Príklad dynamickej charakteristiky vykurovacej sústavy v reálnej budove
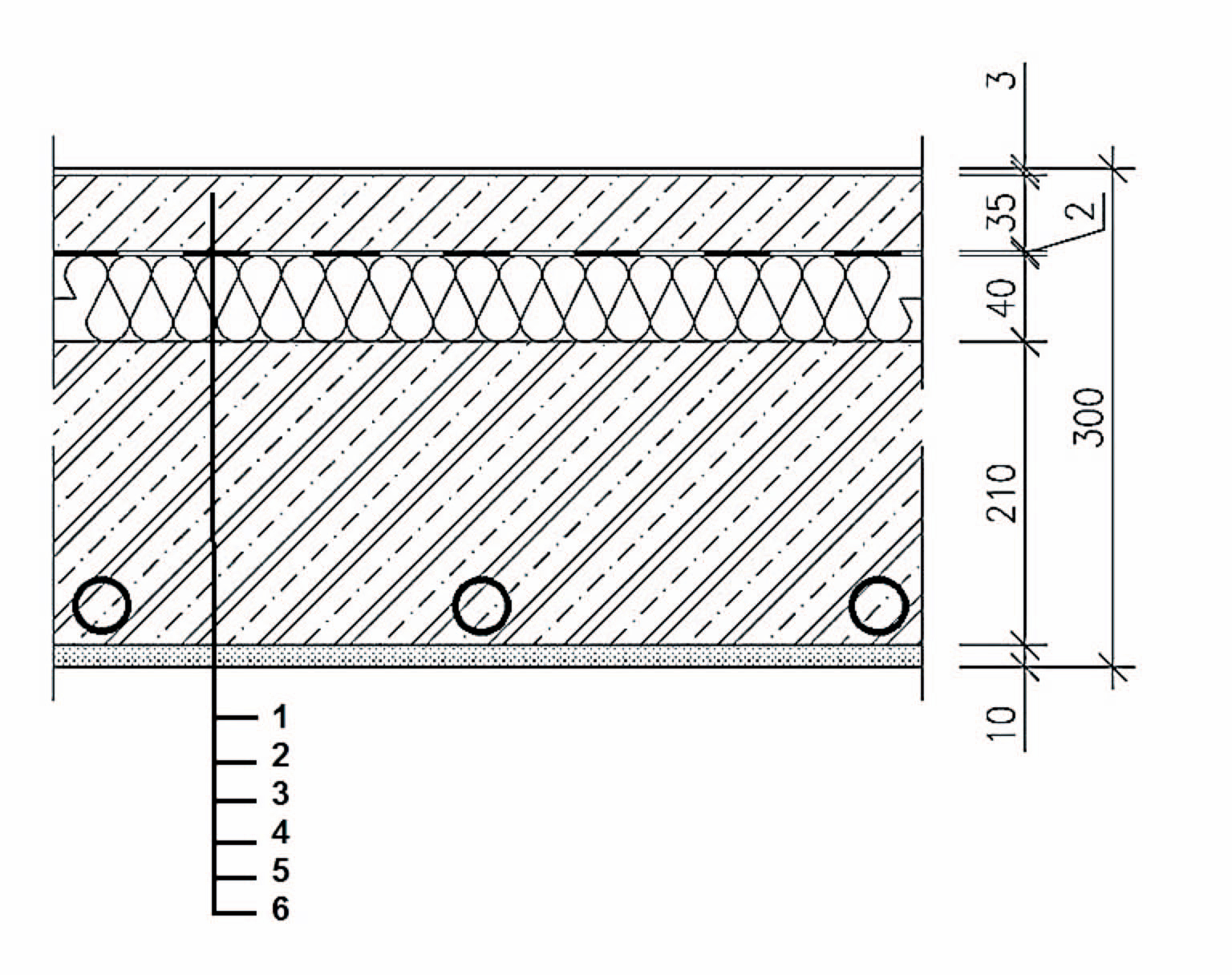
Veľkoplošné stropné vykurovanie so zabetónovanými vykurovacími rúrkami typu Crittall sa z hľadiska dynamických vlastností radí medzi zotrvačné systémy (obr. 4). Takéto vykurovanie bolo navrhnuté ako progresívny vykurovací systém aj do výškovej budovy Stavebnej fakulty STU v Bratislave.
Obr. 4 Skladba stropného vykurovacieho systému typu Crittall [7]
1 – PVC + lepidlo 3 mm, 2 – betónový poter 35 mm, 3 – lepenka A 500 H, 4 – tepelná a zvuková izolácia 40 mm, 5 – železobetónová doska 210 mm, 6 – MVC 10 mm
Budova prešla komplexnou rekonštrukciou obvodového plášťa, ktorý sa vzhľadom na použité materiály a vysoký podiel zasklenia radí medzi konštrukcie s malou tepelnou zotrvačnosťou (obr. 3). Vo výškovej budove sa nachádza dekanát a kancelárie učiteľov.
Obr. 3 Pohľad na výškovú budovu Stavebnej fakulty STU
Výšková budova je zásobovaná teplom z odovzdávacej stanice tepla typu voda – voda. Distribučný systém je rozdelený do dvoch tlakových pásiem (ďalej TP). Prvé TP zásobuje 1. až 10. NP, druhé TP zásobuje 11. až 23. NP. Každé tlakové pásmo je rozdelené na dve zóny – dve vetvy zásobujú severovýchodnú zónu (ďalej SV) a dve vetvy juhozápadnú zónu (ďalej JZ) pre každé TP. Každá vetva má ekvitermickú reguláciu teploty vykurovacej vody. Projektovaný teplotný spád na stropné vykurovanie je 55/45 °C [7].
Za účelom získania dynamickej charakteristiky vykurovacej sústavy bol skokovo prestavený zdvih trojcestného regulačného ventilu na vetve zásobujúcej juhozápadnú zónu – uzavretie priamej cesty. Potom bol po uplynutí stanoveného časového intervalu zdvih ventilu opätovne skokovo prestavený – otvorenie priamej cesty. V centrálnom počítači sa merali a diaľkovo zaznamenávali tieto fyzikálne veličiny: zdvih trojcestného regulačného ventilu, teplota vykurovacej vody, teplota povrchu vykurovacej plochy, teplota vzduchu v miestnosti a teplota vonkajšieho vzduchu. Meranie sa realizovalo cez víkend počas dvoch dní.
Jednou z referenčných miestností bola kancelária na 6. NP s JZ orientáciou – príklad priebehu teplôt prívodnej vykurovacej vody, povrchu vykurovacej plochy a vnútorného vzduchu počas skokovej zmeny ilustruje obr. 5 a tab. 2, priebeh teploty vonkajšieho vzduchu je na obr. 6.
Obr. 6 Priebeh teploty vonkajšieho vzduchu
θe – teplota vonkajšieho vzduchu
Na obr. 5 sú vyznačené jednotlivé intervaly poklesu a stúpania jednotlivých fyzikálnych veličín – modrou čiarou prestavenie zdvihu ventilu, červenou čiarou teplota prívodnej vykurovacej vody, zelenou čiarou teplota povrchu vykurovacej plochy. Počas intervalov sa teplota vnútorného vzduchu výrazne nemenila.
Obr. 5 Priebeh teplôt prívodnej vykurovacej vody, povrchu vykurovacej plochy a vnútorného vzduchu v miestnosti s JZ orientáciou pri prestavení zdvihu regulačného ventilu
θprívod – teplota prívodnej vykurovacej vody, θp – teplota povrchu vykurovacej plochy, θi – teplota vnútorného vzduchu
Ako vidieť v grafe na obr. 5 a v tab. 2, medzi poklesmi a následnými stúpnutiami teploty prívodnej vykurovacej vody a teploty povrchu vykurovacej plochy počas skokových zmien zdvihu regulačnej armatúry sú niekoľkohodinové časové posuny. Na začiatku chladnutia teplota prívodnej vykurovacej vody dokonca mierne stúpala a až potom klesala. Pokles teploty bol približne 3 K. Tento stav spôsobovala vysoká akumulácia tepla vo vykurovacej ploche, čomu nasvedčoval aj malý rozdiel medzi teplotou prívodnej a vratnej vykurovacej vody 1 K. Podobný priebeh teplôt sa zaznamenal aj počas ohrevu. Teplota povrchu vykurovacej plochy sa pri chladnutí aj ohreve zmenila približne o 1 K. Teplota vnútorného vzduchu bola rovnomerná, v priemere 26 °C, čo zodpovedá hornej hranici intervalu prípustnej operatívnej teploty podľa [8].
Obr. 7 Priebeh teplôt prívodnej vykurovacej vody, povrchu vykurovacej plochy a vnútorného a vonkajšieho vzduchu v miestnosti s JZ orientáciou vo vybranom časovom intervale
θprívod – teplota prívodnej vykurovacej vody, θp – teplota povrchu vykurovacej plochy, θi – teplota vnútorného vzduchu, θe – teplota vonkajšieho vzduchu
Na obr. 7 je priebeh sledovaných veličín počas piatich dní, pričom od 16. 2. do 18. 2. pracoval vykurovací systém v bežnom prevádzkovom režime podľa nastavenej vykurovacej krivky. Teplota vnútorného vzduchu už nebola rovnomerná, zaznamenali sa výraznejšie výkyvy a aj prekročenia hodnôt predpísaných legislatívnymi predpismi (napr. [8]). Túto skutočnosť zapríčinilo odlišné dynamické správanie sa budovy s ľahkým obvodovým plášťom s vysokým podielom zasklenia. Tepelné zisky zo slnka sa v tomto prípade výrazne podieľajú na zmene teploty vnútorného vzduchu, riadiaci systém ich však nedokáže kompenzovať v dôsledku niekoľkohodinovej odozvy vykurovacieho systému na regulačný zásah.
Záver
Vlastnosti stavebného objektu, najmä jeho tepelná zotrvačnosť, sa musia zohľadniť už pri návrhu vykurovacieho systému. Pri ideálnych podmienkach by sa mal tepelný režim vykurovacieho systému zhodovať s tepelným režimom stavby. To znamená, že napríklad vykurovacie systémy s vysokou akumulačnou schopnosťou by sa nemali navrhovať do objektov s nízkou tepelnou zotrvačnosťou, pretože takýto vykurovací systém sa veľmi ťažko vyrovnáva s náhlymi zmenami vonkajšej teploty, ktoré spôsobia rýchle zmeny vnútornej teploty. Často potom treba na zabezpečenie tepelnej pohody navrhnúť zložitý riadiaci systém.
doc. Ing. Daniela Koudelková, PhD.
Autorka pôsobí na Katedre TZB SvF STU v Bratislave.
Recenzoval: prof. Ing. Dušan Petráš, PhD.
Príspevok vznikol pri riešení projektu VEGA/1/0807/17.
Foto a obrázky: autorka
Literatúra
- Koudelková, D.: Aplikácia regulačných obvodov vo vykurovaní budov na úrovni distribúcie a spotreby tepla. Bratislava: Edícia vedeckých prác STU SvF, 2015, 174 s.
- Betón pre energeticky efektívne budovy. Prínosy tepelnej zotrvačnosti betónu [online] [cit. 22. 02. 2015]. Dostupné na internete: http://www.savt.sk/attachments/article/137/Beton_pre_energeticky_efektivne_budovy.pdf.
- Petráš, D. – Koudelková, D.: Teplovodné a elektrické podlahové vykurovanie. Bratislava: JAGA Group, 2004, 189 s.
- Cihelka J. a kol.: Vytápění, větrání a klimatizace. Praha: SNTL, 1985, 648 s.
- TYWONIAK, J. a kol.: Nízkoenergetické domy 2. Praha: Grada, 2008. 193 s.
- Technická literatúra firmy Siemens. www.cee.siemens.com.
- Projektová dokumentácia Stavebnej fakulty STU, Bratislava.
- Vyhláška MZ SR č. 259/2008 Z. z. o podrobnostiach o požiadavkách na vnútorné prostredie budov.
Článok bol uverejnený v časopise TZB Haustechnik 5/2017.








![Obr. 1 Vplyv tepelnej zotrvačnosti objektu na priebeh teploty vnútorného vzduchu [2]](/wp-content/uploads/images/fotogaleria/fotogalerie/tzb/vlastnosti_budov_a_vykurovacich_systemov_ovplyvnujuce_regulaciu_tepelneho_vykonu_foto/Obr-1.jpg)
![Tab. 1 Časová konštanta pri niektorých typoch vykurovacích telies/plôch [3, 4]](/wp-content/uploads/images/fotogaleria/fotogalerie/tzb/vlastnosti_budov_a_vykurovacich_systemov_ovplyvnujuce_regulaciu_tepelneho_vykonu_foto/tab1.jpg)
![Obr. 2 Dynamické charakteristiky regulovaných sústav [6]; x – regulovaná veličina, y – akčná veličina, t – čas, n – počet akumulačných členov, Tu – čas prieťahu, Tg – čas nábehu](/wp-content/uploads/images/fotogaleria/fotogalerie/tzb/vlastnosti_budov_a_vykurovacich_systemov_ovplyvnujuce_regulaciu_tepelneho_vykonu_foto/Obr-2.jpg)
![Obr. 4 Skladba stropného vykurovacieho systému typu Crittall [7] 1 – PVC + lepidlo 3 mm, 2 – betónový poter 35 mm, 3 – lepenka A 500 H, 4 – tepelná a zvuková izolácia 40 mm, 5 – železobetónová doska 210 mm, 6 – MVC 10 mm](/wp-content/uploads/images/fotogaleria/fotogalerie/tzb/vlastnosti_budov_a_vykurovacich_systemov_ovplyvnujuce_regulaciu_tepelneho_vykonu_foto/Obr-4.jpg)








