Automatické riadenie techniky prostredia v nZEB budovách
Technické aj programové možnosti ASR na úsporu energie pri prevádzke budov sú čoraz širšie. Ich schopnosti neustále narastajú od jednoduchých riešení nízkoenergetických budov cez budovy typu nZEB až po perspektívne nulové a energeticky aktívne budovy.
Budovy ako umelé, vnútorné stavané prostredie slúžia na ochranu svojich obyvateľov či užívateľov pred nepriaznivými vplyvmi okolitého prostredia a, naopak, chránia vonkajšie prostredie pred škodlivými vplyvmi vyvolanými činnosťou obyvateľov. Túto ochranu uskutočňujú vlastnou stavebnou konštrukciou a inštalovanou technikou prostredia.
Na jej prevádzku sa vyžaduje nemalé množstvo energie – vo vyspelých krajinách spotrebovávajú budovy až do 40 % z celkovej spotreby energie krajiny. Popri doprave a priemysle sú teda najväčším spotrebičom a zároveň aj znečisťovateľom našej planéty. Následné problémy zaťažujúce celú zemeguľu a jej obyvateľstvo sú všeobecne známe (otepľovanie klímy, ozónová diera, úbytok fosílnych palív atď.) a treba ich riešiť v krátkodobom aj dlhodobom horizonte v záujme udržateľnosti života na Zemi.
Genéza budovy s takmer nulovou potrebou energie
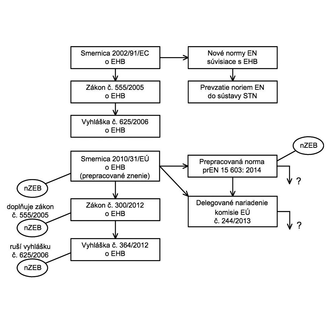
Európska únia sa snaží o zníženie spotreby energie budovami vydávaním legislatívnych predpisov záväzných pre všetky členské štáty a požaduje ich začlenenie do relevantných národných predpisov každého štátu (situáciu v SR ukazuje obr. 1).
Prvá smernica o energetickej hospodárnosti budov (EHB) nemala veľký úspech pre rozdielnosť energetického hospodárstva jednotlivých štátov. EÚ preto vydala prepracovanú smernicu s tým, že každý členský štát zohľadní v riešení svoje špecifické pomery.
V prepracovanej smernici sa zaviedol pojem „budova s takmer nulovou potrebou energie“ (ďalej ju budeme označovať angl. skratkou nZEB), pod ktorým sa rozumie budova s veľmi vysokou energetickou hospodárnosťou. Takmer nulové alebo veľmi malé množstvo energie potrebné na užívanie takej budovy musí byť zabezpečené efektívnou tepelnou ochranou a vo vysokej miere energiou dodanou z obnoviteľných zdrojov, ktoré sa nachádzajú v budove alebo
v jej blízkosti (obr. 2). V návrhu prepracovanej normy prEN 15603 sa uvádza podrobný postup energetického hodnotenia budovy aj pri nZEB vrátane podrobnej definície takejto budovy.
![]() |
| Okolie a hranice na hodnotenie budovy s takmer nulovou potrebou energie a – hranica hodnotenia (bilancia spotreby energie), b – zdroj energie na mieste, c – zdroj energie v blízkosti, d – vzdialený zdroj energie, S1 – priestor s tepelnou úpravou prostredia, S2 – priestor bez ochrany tepelným plášťom, S3 – priestor bez tepelnej úpravy prostredia 1 – obnoviteľný zdroj energie – fotovoltika, 2 – obnoviteľný zdroj energie – vietor, 3 – kotol |
Automatizovaný systém riadenia ako prostriedok zvyšovania EHB
V prepracovanej smernici EÚ o EHB č. 2010/31 sa v čl. 8 ods. 2 uvádza povinnosť podporiť zavedenie inteligentných meracích systémov (smart metering) pri stavbe novej budovy alebo pri významnej obnove jestvujúcej budovy, ako aj možnosť nabádať vo vhodných prípadoch na inštaláciu systémov aktívneho riadenia – napríklad automatizovaných riadiacich, regulačných a monitorovacích systémov –, ktorých účelom je úspora energie. Kompletný zoznam takýchto obvodov je obsiahnutý v EN norme [2]. Obvody tohto druhu stabilizujú pracovné body zariadení techniky prostredia a zabezpečujú bezkonfliktnú vzájomnú spoluprácu týchto zariadení.
Nová úloha ASR v nZEB (na príklade rodinného domu)
Zo širokej škály možností a funkcií, ktoré automatizovaný systém riadenia (ASR) ponúka, sa sústredíme na aktívne riadenie výroby, spotreby a akumulácie energií a na minimalizáciu nákladov na ne, a to na príklade rodinného domu. Máme tri základné zdroje energie (obr. 3): fotovoltiku na streche domu a jej meniče (FV), tepelné čerpadlo (TČ) vzduch – voda a záložný kotol na pevné palivo (biomasu).
Okrem toho je tu zostava dvoch akumulačných nádrží – primárnej a sekundárnej –, z ktorých sa obehovými čerpadlami odoberá vykurovacia voda do vykurovacích telies. Je tu aj samostatná nádrž na prípravu teplej vody. Snahou je maximálne využiť vlastnú energiu z FV. V tomto konkrétnom prípade sa slnečnou energiou cez deň poháňa TČ, ktoré násobí túto energiu vlastným faktorom COP (pomer vyrobenej tepelnej energie a dodanej elektrickej energie). Vyrobené teplo sa akumuluje na nadväzujúce vykurovanie aj prípravu TV.
Táto zostava zdrojov energie umožňuje využitie TČ v čase, keď má najväčšiu účinnosť, teda cez deň, keď je okolitý vzduch teplejší. Ak aspoň trocha svieti slnko, nákupom elektriny zo siete sa doplní iba to, čo neposkytne vlastná FV. V prípade veľkých mrazov, keď klesá účinnosť TČ, je k dispozícii ešte záložný kotol, ktorý možno zapnúť na plný výkon akumulácie tepla do nádrží a tak využiť jeho maximálnu účinnosť.
ASR využíva pri riadení predikciu. Z internetového servera predpovede počasia pre danú lokalitu automaticky sťahuje údaje o aktuálnom počasí (teplota, oslnenie), predpovedi na zostávajúcu časť dňa a zajtrajšok. To umožní napríklad neakumulovať viac energie na ďalší deň, ako je potrebné. TČ tak možno vypnúť aj skôr, čím sa prispieva k úsporám. Alebo naopak, možno využiť slnečný svit a naakumulovať viac energie na ďalšie dni, keď bude zamračené a elektrina by sa musela nakupovať zo siete. Je samozrejmosťou, že ASR umožňuje ďalej regulovať aj spotrebu v jednotlivých vykurovacích telesách zmenou žiadanej hodnoty teploty interiéru. Ide o tzv. zónovú reguláciu podľa časového programu alebo podľa aktuálnej obsadenosti jednotlivých miestností.
Cez programovateľné a komunikačné možnosti ASR možno zabezpečiť optimalizáciu spotreby energií naozaj komplexne, keďže sa pracuje s aktuálnou cenou jednotlivých druhov energií a skutočnou, t. j. meranou účinnosťou jednotlivých zdrojov. ASR je naprogramovaný tak, aby na dosiahnutie cieľa, t. j. tepelnej pohody, využil v danom okamihu tie najlacnejšie zdroje. Možno to zistiť na grafickom rozhraní ASR vo forme textu alebo grafov, kde sú zobrazené aktuálne toky a ceny energií a efektivita využitia jednotlivých zdrojov energie.
Perspektívy ďalšieho vývoja ASR energeticky efektívnych budov
Technické aj programové možnosti ASR na úsporu energie pri prevádzke budov sú čoraz širšie. Ich schopnosti neustále narastajú od jednoduchých riešení nízkoenergetických budov cez budovy typu nZEB až po perspektívne nulové a energeticky aktívne budovy (tab. 1).
Pozn.: Terminologicky správnejší názov je „budova s nulovou bilanciou energie zo siete“.
Veľkým prísľubom je rozvoj inteligentného merania (smart metering), inteligentných distribučných sietí (smart grid), spracovania a využitia veľkých súborov dát (big data) a internetovej komunikácie zariadení techniky prostredia a ASR medzi sebou metódou internet vecí (IoT). Takisto je len otázkou času, kedy sa legislatíva uvoľní a energetické spoločnosti začnú využívať plné možnosti trhu s energiou.
Záver
Budova s takmer nulovou potrebou energie je iba výzvou a impulzom v snahe o realizáciu a prevádzku jedného typu energeticky efektívnej budovy. Budova bez potreby a aj bez spotreby nemôže reálne existovať, každá budova musí byť pripojená na zdroj energie. Takže očakávania zúčastnených v návrhu, realizácii a prevádzke, že budova nepotrebuje takmer žiadnu energiu, nie sú namieste.
Literatúra
1. Bielek, B. et al.: Nízkoenergetická, zelená, udržateľná budova – klíma – energia. Bratislava: STU, 2014
2. STN EN 15232: Energetická hospodárnosť budov – Vplyv komplexného automatického riadenia a správy budov. 2012.
3. Zirngibl, J.: Nearly Zero Energy Buildings (nZEB) in the CEN draft standard. In: The REHVA European HVAC Journal, Vol. 51 (2014), Iss. 3, pp. 10 – 13 (dostupné na www.rehva.eu).
4. Kabele, K.: Technická zařízení budov s téměř nulovou spotřebou energie. In: Stavebnictví, roč. 2013, č. 1, str. 26 – 29 (dostupné na www.casopisstavebnictvi.cz).
5. Kurnitski, J.: Cílem provozování budov s téměř nulovou spotřebou energií je jednoduchost a srozumitelnost (dostupné na www.tzb-info.cz/provoz-technologii/9837).
6. Amann, S. et al.: MaTrID : Market Transformation Towards Nearly Zero Energy Buildings Through Widespread Use of Integrated Energy Design (dostupné na www.integrateddesign.eu).
7. Tecomat Foxtrot – “inteligentní dům“ jako chytrý uzel v síti Smart Grid (www.tzb-info.cz/inteligentni-budovy/12205).
Text: Ing. Pavel Ehrenwald, PhD., Ing. Mária Kurčová, PhD.
Autori pôsobia na Katedre TZB SvF STU v Bratislave.
Obrázky: archív autorov
Článok bol uverejnený v časopise TZB Haustechnik 5/2016.











