Zelená pre strešné záhrady
Určite sa už viacerí pohrávali s myšlienkou, že na streche, ktorú vlastnia alebo projektujú, by mohla rásť vegetačná zeleň. Napokon sa dali presvedčiť, že vegetačná strecha zateká a je finančne náročná. V súčasnosti sú však už dostupné mnohé kvalitné technológie a nie je problém vybudovať na streche či terase okrasnú záhradu, park s terasou či dokonca s jazierkom. Je na investorovi, aby zvolil druh vegetačnej strechy, a na projektantovi zasa jej návrh. Samozrejme, na to, aby sa dielo vydarilo, je potrebná úzka spolupráca jednotlivých profesií – architektov, stavebných inžinierov a záhradníkov.
Ochrana strešnej konštrukcie
Filtračná geotextília
Trh ponúka niekoľko druhov geotextílií v závislosti od špecifických požiadaviek vegetačnej strechy.Separačná polypropylénová geotextília oddeľuje tie vrstvy na streche, ktoré majú celkom odlišnú úlohu. Polypropylénová filtračná geotextília zabraňuje vymývaniu jemných súčastí substrátu do drenážnej vrstvy. V závislosti od mechanického zaťaženia sa aplikuje v rôznych hrúbkach (do 200 g/m2). Túto geotextíliu možno použiť aj na strechy s obráteným poradím vrstiev.
Ochranná geotextília chráni hydroizolačný plášť pred fyzickým poškodením. Čím je mechanické zaťaženie väčšie, tým odolnejšia má byť ochranná geotextília. Ukladá sa na hydroizolačnú vrstvu odolnú proti prerastaniu koreňov alebo priamo na ochrannú fóliu zabraňujúci prerastaniu koreňov. Hydroakumulačná geotextília sa vyrába z veľmi tenkých vláken polypropylénu a zabudováva sa ako ochranná a hydroakumulačná vrstva nad hydroizoláciu alebo nad fóliu odolnú proti prerastaniu koreňov. Je schopná akumulovať vodu až do objemu 7-násobku vlastnej hmotnosti v závislosti od gramáže (300 – 800 g/m2).
Geotextílie pre filtračné vrstvy sa majú ukladať s presahom minimálne 100 mm pri jednotlivých pásoch. Pri okrajoch ich treba vytiahnuť až po okraje vegetačnej vrstvy.
Drenáž
Drenážna vrstva prijíma vďaka svojmu dutinovému objemu prebytočnú vodu zo substrátu a privádza ju k strešným odtokom. Pri zodpovedajúcom materiálovom riešení slúži súčasne aj na akumuláciu vody, zväčšuje priestor na korene a zároveň chráni vrstvy uložené pod ňou.
Vlastnosti, ktoré má mať drenážna vrstva:
- schopnosť akumulovať vodu, prevetrávať a odvádzať prebytočnú vodu
- schopnosť uniesť veľkú záťaž,
- nízka hmotnosť a stavebná výška,
- jednoduché položenie vrstvy,
- musí mať formát, ktorý je nenáročný na prepravu a skladovanie.
Drenážno-akumulačné dosky sa kladú na ochrannú vrstvu tesne vedľa seba. Pri strechách s bežným spádom (1,5 – 2%) sa prvky ukladajú vedľa seba na zraz. Aby sa zabránilo vyplavovaniu najjemnejších častí z vrstvy substrátu, ukladá sa nad drenážne dosky filtračná geotextília s hmotnosťou 130 až 200g/m2. Na tieto vrstvy sa pokladá substrát, do ktorého sa sadí vegetácia.
Substrát
Rastlinné substráty tvoria zmesi sypaných minerálov so zrnitosťou 0 až 12 mm s podielom organických súčastí. Substrát sa líši svojou zrnitosťou, neobsahuje stavebnú sutinu ani iné nevhodné materiály. Podľa druhu vegetácie rozlišujeme substráty pre extenzívnu a intenzívnu vegetačnú zeleň.
Substrát pre extenzívnu a intenzívnu zeleň:
- maximálna kapacita príjmu vody > 35 Vol.-%,
- organické súčasti približne 3,0 až 8,0 m.-%,
- dosadnutie pri doprave v závesných vreciach (Big Bags) približne 10 %,
- dosadnutie a odber pri doprave v zásobníkoch približne 15 %.
Tri spôsoby vyvezenia substrátu na stavbu:
- vytlačením na strechu pneumaticky z nákladných áut so zásobníkom, alebo voľným sypaním z vyklápacích áut,
- v závesných vreciach (Big Bags) s alebo bez vysypania,
- zabalené vo vreciach pre maloodberateľa.
Kontrolné šachty
Strešný odtokový systém treba chrániť pred znečistením a zarastajúcimi rastlinami a na jeho kontrolu zabudovať kontrolné šachty. Aj tie rozlišujeme podľa toho, či ide o extenzívnu, alebo intenzívnu zeleň.
Nad strešným vtokom je třeba umiestniť kontrolnú šachtu s poklopom. Jej úlohou je zabezpečiť kontrolu ohraničeného priestoru nad odtokom vody. V závislosti od výšky ozelenenia sa volí výška kontrolnej šachty.
![]() |
![]() |
| Zostava na zabezpečenie okraja strechy kvetinovými hrantíkmi |
Atiková kontrolná šachta na zaistenie núdzového odtoku |
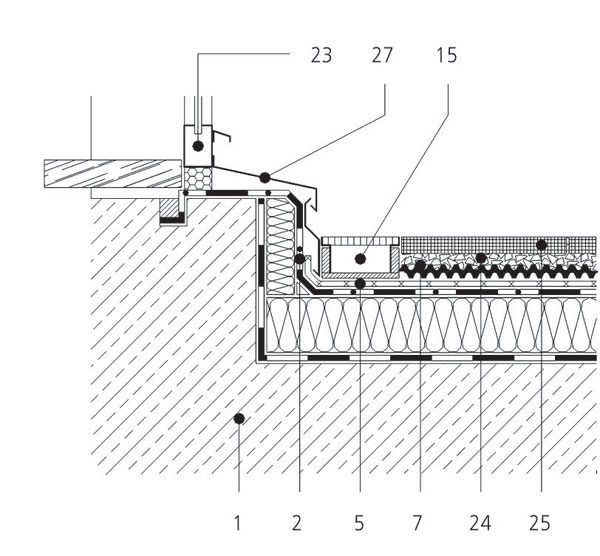
| Legenda 1 – konštrukcia strechy, 2 – hydroizolácia odolná proti prerastaniu koreňov, 3 – separačná geotextília, 4 – fólia s odolnosťou proti prerastaniu koreňov, 5 – ochranná geotextília, 7 – drenážna a hydroakumulačná doska, 8 – filtračná geotextília, 9a – minerálny substrát pre extenzívne ozelenenie, 9b – minerálny substrát pre intenzívne ozelenenie, 10 – vegetácia, 11 – kontrolná šachta, 12 – obrubníky z recyklátu v tvare A, 13 – obrubník z recyklátu v tvare T, 14 – betónová tvárnica v tvare L, 15 – terasový žľab, 17 – závitová rúra, 18 – podkladový tanier, 19 – kvetinový hrantík, 20a – rám, 20b – zábradlie, 21 – prvok na vzdutie vody, 22 – zavlažovací automat, 23 – dvere na terasu, 24 – násyp, 25 – dlažba terasy, 26 – štrk, 27 – krycí plech, 28 – odkvapový žľab, 29 – chrlič vody, 30 – tepelná izolácia |
|
Rastliny
Na vegetačné strechy je vhodná početná skupina rastlín. Na stavbu sa dodávajú v rôznych úpravách. Z hľadiska času a nákladov na realizáciu možno požadovaný stupeň ozelenenia strechy najrýchlejšie dosiahnuť pomocou vegetačných rohoží, najnižšie náklady sú zasa, ak sa použije osivo. Medzistupne tvorí balíčková sadba a sadba rozchodníkových klíčkov.
![]() |
![]() |
| Prvok v tvare písmena T ako náhrada atiky | Zabudovanie kontrolnej šachty uprostred vegetácie |
| Legenda 1 – konštrukcia strechy, 2 – hydroizolácia odolná proti prerastaniu koreňov, 3 – separačná geotextília, 4 – fólia s odolnosťou proti prerastaniu koreňov, 5 – ochranná geotextília, 7 – drenážna a hydroakumulačná doska, 8 – filtračná geotextília, 9a – minerálny substrát pre extenzívne ozelenenie, 9b – minerálny substrát pre intenzívne ozelenenie, 10 – vegetácia, 11 – kontrolná šachta, 12 – obrubníky z recyklátu v tvare A, 13 – obrubník z recyklátu v tvare T, 14 – betónová tvárnica v tvare L, 15 – terasový žľab, 17 – závitová rúra, 18 – podkladový tanier, 19 – kvetinový hrantík, 20a – rám, 20b – zábradlie, 21 – prvok na vzdutie vody, 22 – zavlažovací automat, 23 – dvere na terasu, 24 – násyp, 25 – dlažba terasy, 26 – štrk, 27 – krycí plech, 28 – odkvapový žľab, 29 – chrlič vody, 30 – tepelná izolácia |
|
Zavlažovanie
Intenzívne ozelenenie striech sa často realizuje s predzásobením vodou. Na tento účel slúžia zavlažovacie automaty. Jedným automatom možno zavlažovať strešné záhrady s plochou približne do 400 m2 (20 x 20 m). Pri väčších plochách treba rátať so zodpovedajúcim počtom závlahových súprav.
Zavlažovacie šachty sa osadzujú buď nad strešné odtoky, alebo ľubovoľne na strešnej ploche. Rozvody vody k automatu sa montujú vnútri alebo aj zvonka šachiet, podľa priania zákazníka. Pri vstavbe treba dbať na to, aby nijaké predmety nebránili v pohybe plavákom.
![]() |
![]() |
| Vytvorenie ostrovčeka vegetácie na terase Foto: APP Dachgarten | Atikové kontrolné šachty na zaistenie núdzového odtoku Foto: APP Dachgarten |
Obrubníky
Obrubníkové prvky slúžia na olemovanie sektorov s rastlinami, na ohraničenie chodníkových a terasových plôch alebo na vytvoreniu žľabov. Vyrábajú sa z recyklovateľných materiálov a možno ich z pohľadovej strany povrchovo upravovať, aby boli estetické. Materiál je odolný proti nárazom. Sú dostupné v profiloch v tvare písmena L, A alebo v tvare vhodnom na tvorbu oblúkov.
Tvárnice pre obrubníky sa odlievajú aj z betónu. Uplatnia sa pri ohraničení zeminy terás a chodníkov a ukladajú sa na drenážnu vrstvu doplnenú zásypom .
![]() |
![]() |
| Zavlažovacia kontrolná šachta na intenzívne ozelenenie striech | Vytvorenie ostrovčekov vegetácie pomocou obrubníkových prvkov |
| Legenda 1 – konštrukcia strechy, 2 – hydroizolácia odolná proti prerastaniu koreňov, 3 – separačná geotextília, 4 – fólia s odolnosťou proti prerastaniu koreňov, 5 – ochranná geotextília, 7 – drenážna a hydroakumulačná doska, 8 – filtračná geotextília, 9a – minerálny substrát pre extenzívne ozelenenie, 9b – minerálny substrát pre intenzívne ozelenenie, 10 – vegetácia, 11 – kontrolná šachta, 12 – obrubníky z recyklátu v tvare A, 13 – obrubník z recyklátu v tvare T, 14 – betónová tvárnica v tvare L, 15 – terasový žľab, 17 – závitová rúra, 18 – podkladový tanier, 19 – kvetinový hrantík, 20a – rám, 20b – zábradlie, 21 – prvok na vzdutie vody, 22 – zavlažovací automat, 23 – dvere na terasu, 24 – násyp, 25 – dlažba terasy, 26 – štrk, 27 – krycí plech, 28 – odkvapový žľab, 29 – chrlič vody, 30 – tepelná izolácia |
|
Terasové žľaby a rošty
Terasové žľaby umožňujú rýchle a bezpečné odvedenie vody. Žľaby sa vyrábajú z recyklovaného materiálu a kryty na rošty z pozinkovanej ocele alebo z nerezu. Žľabový systém je pochôdzny. Vodu odvádza ihneď a navyše zabraňuje pošmyknutiu pri silnejšom daždi alebo mraze. Pri väčšom mechanickom zaťažení sa musia styky žľabov vzájomne zoskrutkovať. Žľaby treba zabudovať pred dverami na terasu alebo pri hlboko situovaných okenných priečeliach, ako aj pri napojení striech a stien pre zadržanie dažďovej vody pred objektom.
![]() |
![]() |
| Zabudovanie žľabu pri napojení striech a stien | Zabudovanie žľabu pri napojení dverí na terasu |
| Legenda 1 – konštrukcia strechy, 2 – hydroizolácia odolná proti prerastaniu koreňov, 3 – separačná geotextília, 4 – fólia s odolnosťou proti prerastaniu koreňov, 5 – ochranná geotextília, 7 – drenážna a hydroakumulačná doska, 8 – filtračná geotextília, 9a – minerálny substrát pre extenzívne ozelenenie, 9b – minerálny substrát pre intenzívne ozelenenie, 10 – vegetácia, 11 – kontrolná šachta, 12 – obrubníky z recyklátu v tvare A, 13 – obrubník z recyklátu v tvare T, 14 – betónová tvárnica v tvare L, 15 – terasový žľab, 17 – závitová rúra, 18 – podkladový tanier, 19 – kvetinový hrantík, 20a – rám, 20b – zábradlie, 21 – prvok na vzdutie vody, 22 – zavlažovací automat, 23 – dvere na terasu, 24 – násyp, 25 – dlažba terasy, 26 – štrk, 27 – krycí plech, 28 – odkvapový žľab, 29 – chrlič vody, 30 – tepelná izolácia |
|
Zabezpečenie okrajov striech
V súčasnosti je na trhu dostupný systém zabezpečenia okrajov predovšetkým extenzívnych striech. Systém tvoria stabilné kvetináče z recyklovaných materiálov a pozinkované zábradlie. Výhodou tohto systému je, že na jeho uchyteniu k strešnému plášťu netreba prevŕtať hydroizolačný systém. Strecha sa tak navyše môže využívať ako estetická záhrada.
(ha)
Foto: APP Dachgarten, Bawaco Cz – Ing. László Kovaly
Spracované z podkladov spoločnosti Diadem ®APP Dachgarten, GmbH





















