Konštrukcie striech s kamennou krytinou
V prípade striech s kamennou krytinou možno tvrdiť, že predstavujú nový konštrukčný typ, nakoľko v súčasnosti dostupné zásady projektovania vysokých striech, fasád alebo konštrukčné pravidlá tvorby terasových striech neposkytujú dostatok informácií na ich navrhovanie. Preto v záujme bezpečnej realizácie takýchto konštrukcií treba vytvoriť nové skladby strechy a detailov, nové pravidlá na ich projektovanie.
Pri návrhu vhodnej skladby strechy je dôležité zistiť vhodnosť navrhovaného riešenia z hľadiska technických, stavebno-fyzikálnych a funkčných požiadaviek na stavbu, z hľadiska trvanlivosti, realizovateľnosti a hospodárnosti a zároveň skúmať kritické prvky z hľadiska predpokladanej budúcej prevádzky.Konštrukčné riešenia
Do úvahy pripadá sedem základných riešení:
- typ a – lepené krytiny z kamenných platní,
- typ b – krytina z kamenných platní s bodovým kotvením,
- typ c – kamenná krytina s kotvením na koľajničky,
- typ d – maloformátové krytiny ukladané do zrnitého lôžka,
- typ e – kamenná krytina ukladaná nasucho, na drenážnu platňu,
- typ f – kamenná krytina ukladaná na trapézový alebo vlnitý plech,
- typ g – kamenná krytina montovaná na oceľovú mrežu.
Lepené krytiny z kamenných platní
Táto skladba strechy vznikla naklonením terasovitých striech s lepenou krytinou (obr. 1). Lepenie kamenných platní si vyžaduje pevný, dostatočne únosný podklad, čomu vzhľadom na šikmý uhol sklonu vyhovuje len železobetónová platňa. Platňu treba proti šmyku ukotviť k stropu bodovými konzolami alebo podperami zospodu pozdĺž úžľabia. V platni vzniká ťah, tlak, krútiaci moment, ale nevzniká ohyb kolmý na rovinu, preto postačuje, ak sa realizuje s hrúbkou 80 až 100 mm.
![]() |
![]() |
| Obr. 1a Lepená kamenná krytina 1 – oceľobetónový strop v spáde, 2 – parozábrana, 3 – lepená tepelná izolácia z tvrdenej peny, 4 – vodonepriepustná izolačná podložka s mechanickým uchytením pri prekrytí, 5 – drenážna doska na povrchové presakovanie, 6 – vrstvenie filtračnej látky, 7 – konzola z nehrdzavejúcej ocele, 8 – oceľobetónová doska, 9 – mrazuvzdorný obklad z kamennej dosky, 10 – dilatácia kamenného obkladu |
Obr. 1b Kamenný obklad nad drenážnym betónom 1 – lepený kamenný obklad so škárami na odvod vody, 2 – vodopriepustný podkladový vystužený betón s nehrdzavejúcou oceľovou sieťovinou, 3 – izolačný náter odolný proti zaťaženiu od krokov, 4 – pevná tepelná izolácia celoplošne lepená, 5 – povlaková izolácia proti pare (parozábrana), 6 – šikmá oceľobetónová stropná konštrukcia, 7 – protišmyková konzola z nehrdzavejúcej ocele, 8 – stekanie zrážkovej vody po povrchu |
Možno použiť kamenné platne s ľubovoľnými rozmermi a formou, aplikovať aj nepravidelné kladenie, do úvahy prichádza dokonca aj aplikácia na mierne oblúkové povrchy. Lepenie je vystavené tepelným zmenám a strihovému napätiu (šikmé uloženie). Preto sa ako lepiaca zmes nemôže použiť cementová malta, vyhovuje len dostatočne pružná, flexibilná syntetická malta.
Pri rovnej skladbe strechy nasledujú po uložení tepelnej izolácie betonárske práce. Preto sa ako tepelná izolácia môže použiť len izolácia z tvrdého materiálu, odolná proti deformáciám pri tlaku, s kotvením proti uvoľňovaniu (sklená vata, pórobetón, extrudovaný polystyrén, polyuretán, a podobne). Platne treba z dôvodu strihového a šmykového napätia vznikajúceho v priebehu realizácie celoplošne lepiť alebo upevniť dimenzovanými terčmi dubelovaním.
Bezškárové kladenie tvrdých platní je možné len na rovnom podklade. Strop treba preto realizovať z prefabrikovaných prvkov alebo na podklad aplikovať dodatočný vyhladzovací náter na báze syntetickej malty. Vzhľadom na rovnú skladbu strechy treba realizovať aj parozábranu, buď použitím vhodného náteru alebo bitúmenovej dosky lepenej na celú plochu strechy. Až po zhotovení parozábrany možno pristúpiť k realizácii ostatných vrstiev.
Pri nerovnom strope sa odporúča použiť sypanú polyuretánovú tepelnú izoláciu, ktorá má zároveň aj hydroizolačnú funkciu. Jej horná plocha je síce rovnako nerovná, ale túto chybu možno odstrániť aplikovaním vyrovnávacej betónovej vrstvy. Pri použití sypaného polyuretánu je tmelenie kotviacich prvkov omnoho jednoduchšie než v prípade ostatných tepelnoizolačných systémov.
Vzhľadom na to, že kamenná krytina nie je vodoodolná a ani dilatácie medzi platňami nemožno dlhodobo utesniť vodoodolným škárovaním, je dôležité, aby prenikajúca voda mohla ľahko vyschnúť. Zabráni sa tým zamŕzaniu a rozmŕzaniu krytiny, a tým narúšaniu jej štruktúry a zmene mechanických vlastností v zimnom období. Toto nebezpečenstvo možno eliminovať hydrofobizáciou povrchu alebo voľbou silne vodopriepustného kamenného materiálu. Rovnako treba zabrániť namŕzaniu lepiacej malty, a to odvedením prenikajúcej vody na priepustnú vrstvu. Ktorýkoľvek variant má totiž za následok zošmyknutie kameňa.
–>–>
Okrem toho treba do skladby strechy navrhnúť hydroizolačnú podkladovú vrstvu. Hydroizolačná vrstva má byť aj bez ochrannej vrstvy pochôdzna, odolná proti deformáciám pri tlaku, pružná (tvrdé polyetylénové platne, izolačné potery s použitím siete, bitúmenové dosky a podobne). Nesmie dôjsť k zošmyknutiu, natiahnutiu, k zvlneniu. Pri výbere typu hydroizolácie treba prihliadať aj na možnosť kotvenia tejto vrstvy do podkladovej vrstvy. Najlepšiu voľbu predstavujú takzvané tekuté fólie, ktoré si nevyžadujú kotvenie. Hydroizolácie vyžadujúce kotvenie je vhodné použiť pri hrubých izolačných platniach a pri tepelnej izolácii z tvrdých materiálov, pri ktorej možno realizovať spoje na báze oceľových svoriek. Na povrchu hydroizolácie treba vytvoriť priepustnú vrstvu, ktorá musí odolať mechanickej záťaži vznikajúcej pri armovaní a betónovaní. Možno ju vytvoriť napríklad aplikáciou drenážnej platne. Drenážnu platňu treba osobitne upevniť pretože vytvára šmykovú vrstvu, čo sťažuje realizáciu šikmých povrchov. Rovnaký problém vzniká aj pri filtračných látkach, ktoré chránia drenážnu vrstvu proti upchatiu.
Namiesto drenážnej platne sa odporúča aplikovať špeciálnu vodopriepustnú hornú betónovú vrstvu, ktorá je schopná vodu presakujúcu cez krytinu v plnej miere odviesť. Vodopriepustný betón je vlastne nenasýtená zmes štrku s okrúhlymi frakciami a vodoodolného tmelu (napríklad epoxidová syntetická živica). Použitie vodopriepustného betónu si však vyžaduje použitie výstuže z nehrdzavejúcej ocele, pretože tento typ betónu nevytvára dostatočnú protikoróznu ochranu.
Veľké plochy treba v rozpätí približne 6 až 8 m2 rozčleniť na dilatačné polia (betón v tom istom mieste ako strešnú krytinu). Tým sa zabezpečí, že k tepelnej rozťažnosti dochádza v mieste dilatačných škár. Dilatačné škáry treba vyplniť pružnou škárovacou zmesou s UV filtrom. Vrchnú betónovú vrstvu možno pri malom sklone strechy realizovať z vlhkého materiálu (betónová zmes), pri veľkom sklone treba použiť torkrétový betón (spôsobuje mechanickú záťaž hydroizolácie) alebo je nutné aj zhora vyhotoviť šalovanie, avšak takéto riešenie nad už vytvorenou hydroizoláciou je náročné.

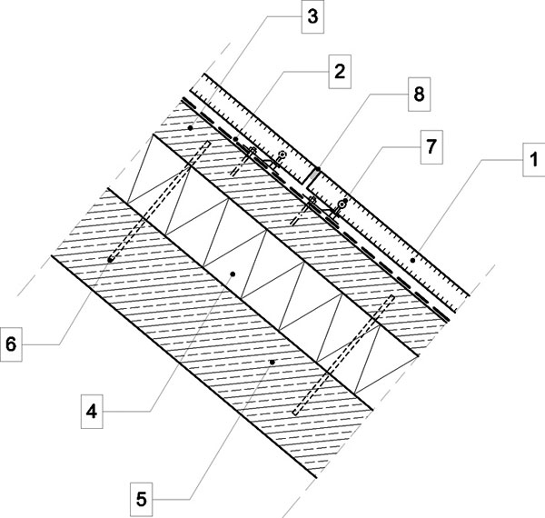
Bodové kotvenie (obr. 2) je aplikovateľné pri kamenných platniach s rovnakou hrúbkou, ale rôznej veľkosti a tvaru (napríklad kladené vo väzbe). Aby bolo možné platne upevniť v ľubovoľnom mieste, treba vyhotoviť betónový podklad – betónovú platňu kotvenú proti zošmyknutiu k stropu. Keďže sa tepelná izolácia nachádza pod vrchnou betónovou vrstvou (jadrová tepelná izolácia) možno použiť len materiály s nulovou nasiakavosťou (extrudovaný polystyrén). Ďalšou požiadavkou je preverenie stavu skladby strechy z hľadiska priepustnosti vodných pár.
Kamenné platne sa kotvia pomocou antikorových oceľových konzol používaných vo fasádnych systémoch, ktoré umožňujú presné bodové nastavenie v troch smeroch. So zreteľom na priestorové nároky na montáž sa pod krytinou vytvára vzduchová medzera. Medzi kotviacimi bodmi vzniká v dôsledku vlastnej hmotnosti alebo dočasným zaťažením (napríklad pri údržbe) ohyb kolmý na plochu kamennej platne. Čím je sklon menší, tým je ohyb väčší, a tým hrubšia musí byť kamenná platňa.
Vhodnou konštrukciou na uloženie hydroizolácie je betónový podklad. Z dôvodu početného množstva kotviacich bodov dochádza k narušeniu hydroizolácie, a preto možno použiť len pružnú, plastickú izoláciu, pri ktorej sa okolie skrutiek jednoducho utesní.
Vzduchová medzera, ktorá vzniká pod kamennou krytinou, je dobrým priestorom na odvod vody a prispieva k rýchlemu vysúšaniu kamenného materiálu. Ak sa však cez škáry dostane do nej prach, môže sa upchať. Preto sa odporúča realizovať uzavreté, ale vodopriepustné škárovanie kamenných platní (kamenná zmes na báze syntetického spojiva). Vďaka tomu dochádza v prípade ľahkých dažďových zrážok k prepusteniu vody, v prípade búrok voda steká po škárovaní. V podstate ide do určitej miery o samoregulačný systém.
Kamenná krytina s kotvením na koľajničky
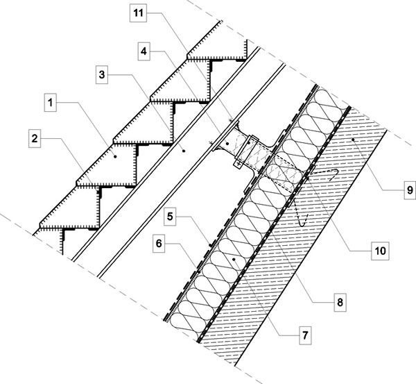
Kotvenie kamennej krytiny (v danom prípade osobitne profilovaný kamenný blok) na koľajničku (obr. 3, 9, 10) umožňuje dodať streche zaujímavý architektonický výraz. Ide o zdvojenú konštrukciu, pri ktorej sa vonkajší plášť umiestňuje na samostatnú (finančne nákladnú) oceľovú konštrukciu. Tento spôsob kotvenia umožňuje veľkú slobodu pri projektovaní. Možno vytvárať ľubovoľné, od vnútorného priestoru nezávislé tvary. Osobitne profilované kamenné prvky sa čiastočne opierajú o seba, zošmyknutiu bránia kotviace tŕne vopred prizvárané na rám.
Konštrukčnou úlohou kamennej krytiny je predovšetkým (ale nielen) ochrana strešnej konštrukcie proti poveternostným vplyvom. Malé množstvo vody môže preniknúť cez neutesnené škáry krytiny. Takto zatečená voda sa popri nosnom ráme, respektíve v kvapkách dostáva na hydroizolačnú vrstvu. Vyparovanie prepustenej vody a urýchleniu vysušenia kamenného materiálu napomáha prevzdušnený krytý priestor nepravidelného prierezu medzi dvoma plášťami. Tým sa zároveň zmenšuje riziko korózie oceľového rámu.
Tepelnú izoláciu a hydroizoláciu zabezpečuje vnútorný plášť. Vonkajším plášťom sa nad vnútorným plášťom vytvára tieniaca vrstva. Na vnútorný plášť tak pôsobí UV žiarenie len v minimálnom množstve, znižuje sa jeho mechanické namáhanie, zaťaženie vetrom a dažďom.
![]() |
![]() |
| Obr. 3 Kamenná krytina s kotvením na koľajničky 1 – profilovaná kamenná krytina, 2 – kotviace oceľové prvky, 3 – oceľové profily špeciálneho tvaru kotviacej konštrukcie, 4 – oceľové rúrkové podstavce z nehrdzavejúcej ocele, 5 – fóliová izolácia vystužená sieťovinou, 6 – spevňovanie povrchu tvorením šupín, 7 – tepelná izolácia z tvrdej čadičovej vaty, 8 – fólia na parozábranu alebo povlaková izolácia, 9 – šikmá oceľobetónová stropná konštrukcia, 10 – zabetónovaná oceľová platňa podstavca kotviacej konštrukcie, 11 – príruba izolácie s kotviacim strmeňom |
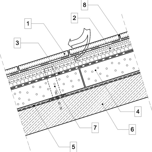
Obr. 4 Ukladanie kamennej krytiny do zrnitého lôžka 1 – krytina z nesúmerných kamenných dosiek, 2 – lôžko z drveného kameňa s ostrými zrnami a vrstva na presakovanie, 3 – mechanicky odolná tvrdá dosková izolácia, 4 – tvrdá tepelná izolácia lepená na celej svojej ploche, 5 – povlaková izolácia proti pare (parozábrana), 6 – šikmá oceľobetónová stropná konštrukcia, 7 – oceľová konzola z nehrdzavejúcej ocele, 8 – oceľový profil z nehrdzavejúcej ocele na roznášanie zaťaženia, 9 – profil z perforovanej oceľovej platne |
Maloformátové krytiny ukladané do zrnitého lôžka
Krytinu malých formátov nemožno lepiť, pretože pomerne dlhé škáry sa nedajú efektívne utesniť a pod/medzi krytinu by mohlo prenikať značné množstvo vody. Neodporúča sa ani používať bodový spôsob kotvenia, ktorý je v tomto prípade nehospodárny. Vhodnejšie je ukladanie maloformátovej krytiny do suchého lôžka (obr. 4).
Týmto spôsobom uloženia sa zabezpečí
odvádzanie vody a vysychanie krytiny smerom nadol, čím sa znižuje riziko, že namrzne. Zaťaženiu vetrom odoláva krytina vlastnou hmotnosťou. Škárovanie sa realizuje vodopriepustnou kamennou drvinou zmiešanou so spojivom na báze syntetickej živice.
Na vytvorenie lôžka možno použiť aj kamenný materiál nepravidelného tvaru či nerovnakej hrúbky. Výška zrnitého lôžka umožňuje vyrovnávať odchýlky. V záujme trvácnosti musí byť podklad zhutnený, možno používať len materiál odolný proti poklesu (bazaltová drvina ostrej zrnitosti). Zhutnenie drviny pri malých sklonoch strechy sa realizuje jednoducho. Pri strmších sklonoch strechy treba suchý podklad zhustiť vodopriepustným spojivom na báze syntetickej živice. Zrnitý podklad funguje ako drenážna vrstva, jeho vodopriepustnosť je nutné dimenzovať v závislosti od sklonu, dĺžky vystavenia poveternostným vplyvom. Nie je možné používať drvinu, z ktorej by mohol vznikať vodný kameň, pretože môže upchať drenážnu vrstvu a zvody. Na odvod vody sa neodporúča používať drenážnu platňu, pretože znižuje pevnosť podkladu a drvinu nie je možné v dostatočnej miere zhutniť.
Aby sa zamedzilo zošmyknutiu krytiny a podkladu, treba naklonenú plochu rozdeliť na samostatné polia. V rámci jedného poľa sa kamenné prvky opierajú o seba, preto musí byť výplň škár schopná prenášať aj tieto sily (kamenná drvina so spojivom na báze syntetickej živice). Každé jednotlivé pole tvorí z hľadiska tepelnej rozťažnosti jeden dilatačný celok. Rozdelenie na polia sa realizuje nehrdzavejúcimi oceľovými profilmi a perforovanými platňami upevnenými na rúrové podpery. Od hrúbky profilov závisí počet kotviacich prvkov. Čím sú profily hrubšie, tým je potrebný počet kotviacich prvkov nižší, a tým klesá počet miest, v ktorých dochádza k porušeniu hydroizolačnej vrstvy.
Potreba zhutňovania kamennej drviny si vyžaduje použitie vysokoodolnej hydroizolácie (polyetylénové platne vysokej hustoty alebo hrubé bitúmenové platne), respektíve vysokopevnostnej tepelnej izolácie (tvrdý polystyrén, polyuretán, sklená vata, pórobetón). Ochranu izolácie proti zošmyknutiu treba riešiť len počas realizácie, pretože hmotnosť krytiny je po uložení taká veľká, že postačuje na spevnenie spodných vrstiev. Najvýhodnejším spôsobom upevnenia je kombinácia lepeného a kotúčového dubelového upevnenia.
Použitie vysokopevnostnej (hutnej) tepelnej izolácie predpokladá absolútne rovnú podkladovú vrstvu (železobetónová platňa) bez nepresností a zvlnenia. Na podkladovú vrstvu treba uložiť parozábranu (pri lepených skladbách striech parovzdorný náter, pri mechanickom upevnení tepelnej izolácie parovzdorná platňa).
Kamenná krytina ukladaná nasucho, na drenážnu platňu
Ploché kamenné platne nemožno ukladať priamo na rovný podklad (napríklad na hydroizoláciu), pretože by v dôsledku kapilárneho napätia vznikol medzi dvoma vrstvami vodný film. Vodný film zvyšuje riziko namrznutia, jeho odpor z hľadiska priepustnosti vodných pár je prakticky nekonečný, a tým bráni vysúšaniu dolných vrstiev. Tento problém možno vyriešiť vytvorením súvislej štruktúrovanej podkladovej vrstvy, ktorá pôsobí proti namŕzaniu, odvádza vodu, z hľadiska priepustnosti vodných pár plní funkciu odvetrávania a zároveň aj úlohu protišmykovú. Podložka musí byť odolná proti zaťaženiu, deformáciám z tlaku, musí zabezpečovať rýchle odvádzanie vody (tvrdé reliéfne platne, podložka z oceľového drôtu, rozvodná platňa). Suché ukladanie kamennej krytiny (obr. 5) umožňuje jednotlivé kamenné platne ľahko vymeniť, čím sa životnosť konštrukcie ako celku mnohonásobne predlžuje.
Na predkladanom príklade (obr. 5) sa profilované kamenné platne mierne prekrývajú, čo dotvára charakteristický výraz stavby a má silný formovo-výrazový účinok. Pozdĺž prekrytia vniká len malé množstvo vody, výnimkou sú silné búrky a veľký vietor. Prekrývanie zabraňuje vnikaniu nečistôt do drenážnej vrstvy, ktorá zabezpečuje mierne odvetrávanie. Zvyšovaním rýchlosti vysúšania kamenného materiálu sa zvyšuje jeho odolnosť proti mrazu.
Kamenné platne sú uložené na väčšine ich plochy, takže v nich nevzniká žiaden priehyb, čo umožňuje použitie platní aj z menej pevného kameňa. Proti zošmyknutiu sa kamenné platne prichytávajú v každom 8. až 10. rade na nehrdzavejúce oceľové koľajničky. Kamenné platne sa navzájom podopierajú, čím medzi nimi a v nich vzniká tlakové napätie. V miestach podopierania sa zabudovává gumená výstuž.
Kedže je hmotnosť kamenných platní pomerne vysoká, treba použiť tepelnú izoláciu s dostatočnou únosnosťou. Pre obrátenú skladbu strechy je vhodné použiť extrudovaný polystyrén. Pri ukladaní kamenných platní už nemožno vyrovnávať výškové chyby úložnej plochy, preto treba chyby takéhoto druhu opraviť vyrovnávacím maltovým poterom na báze syntetickej živice.
![]() |
![]() |
| Obr. 5 Kamenná krytina kladená nasucho na drenážnu platňu 1 – kamenná krytina z kusových profilov, 2 – drenážna doska vrstvená filtračnou sieťovinou, 3 – tepelná izolácia s extrudovaného polystyrénu, 4 – povlaková izolácia na báze živice, 5 – betónová mazanina, 6 – základný debniaci panel, 7 – roztvorená oceľová sieť ako stratené debnenie, 8 – oceľová upevňovacia konzola z nehrdzavejúcej ocele, 9 – podpera z nehrdzavejúcej ocele, 10 – dilatačná škára, 11 – gumený pás, 12 – štrbina na prenos sily |
Obr. 6 Kamenná krytina na trapézovom plechu 1 – kamenná krytina kladená nasucho (lepením), 2 – nehrdzavejúci oceľový alebo hliníkový trapézový alebo vlnitý plech, 3 – hydroizolácia, 4 – tepelná izolácia z extrudovaného polystyrénu, 5 – parozábrana, 6 – betónová vrstva, 7 – stratené oceľové debnenie, 8 – oceľová nosná konštrukcia, 9 – zavesený podhľad, 10 – protišmykové oceľové háky, nitované, 11 – oceľové ploché konzoly |
Kamenná krytina ukladaná na trapézový alebo vlnitý plech
Malú ohybovú pevnosť tenkých kamenných platní možno zvýšiť hustejším podoprením. Podklad z trapézového alebo vlnitého plechu (obr. 6) umožňuje rovnomerné, veľkoplošné rozloženie zaťaženia. Výhodou je, že trapézový plech netreba k stropu upevňovať v mnohých bodoch, čím klesá počet oceľových konštrukčných prvkov perforujúcich tepelnú izoláciu, a znižuje sa počet tepelných mostov. Používa sa len platňa z nehrdzavejúcej ocele alebo hliníka. V súlade s požiadavkou na zabezpečenie priepustnosti vodných pár sa navrhuje ochranná vrstva proti zaroseniu, ktorá sa umiestňuje zo spodnej strany platne.
Okrem podoprenia kamennej platne plní trapézový plech aj inú funkciu. Úžľabiami plechu sa odvádza voda prenikajúca cez škáry krytiny a hrotmi plechu zas vyzrážané pary vznikajúce v interiéri. To znamená, že pri vhodných spojoch a utesnených skrutkách netreba pod plech realizovať žiadnu bezpečnostnú hydroizolačnú vrstvu.
Kamenné platne sa k trapézovému plechu pripevňujú samoreznými oceľovými tŕňmi alebo lepením. Výplň škár slúži len na zamedzenie vnikania nečistôt. Škárovací materiál musí odolávať UV žiareniu a má byť trvale pružný. Veľkou prednosťou tohto systému je, že možno použiť aj tenký, menej odolný alebo mrazuvzdorný kamenný materiál, dokonca možno vytvoriť aj pochôdzny kamenný obklad, a to rýchlou, suchou montážou, a nezávisle od poveternostných podmienok. V prípade poškodenia možno každý prvok nezávisle od ostatných vymeniť. Konštrukcia strechy pri tomto systéme pozostáva z malého počtu vrstiev, je finančne efektívna a vhodná aj na strechy s veľkým rozponom.

Oceľovými podperami rôznej dĺžky a rôznych smerov a nehrdzavejúcimi oceľovými rámami možno vytvárať ľubovoľnú, od stropnej konštrukcie nezávislú výrazovú formu.
Architektonická sloboda je temer bezhraničná, možno navrhovať aj viackrát lomené, inflexné, zakrivené, biomorfné plochy. Kamene ľubovoľnej hrúbky a formy, hoci aj úplne nepravidelného tvaru, tvrdé alebo slabej kvality, s malou ohybovou tuhosťou sa opierajú o rámovú konštrukciu. Kamenné platne sa k rámu upevňujú lepenými spojmi zo zadnej stany alebo klipsami zapadajúcimi do rámu (obr. 7).
Ukladanie krytiny so škárami umožňuje úplné prenikanie dažďovej vody pod krytinu v plnej miere, avšak vďaka dobrému odvetrávaniu cez vzduchovú medzeru pod krytinou sa konštrukcia rýchlo vysušuje. Poškodené kamenné prvky možno v prípade potreby jednotlivo vymeniť.
Možno použiť ľubovoľnú tepelnú izoláciu a hydroizoláciu. V prípade obrátenej skladby strechy nie je zaťaženie izolačnej vrstvy dostatočné, a preto sa odporúča použiť izolačný náter alebo mäkkú izolačnú fóliu, ktorú možno ľahko upevniť na hustú sieť rúrkových podpier. Možno aplikovať aj granulátovú polyuretánovú tepelnú izoláciu, ktorá plní zároveň aj funkciu súvislej bezškárovej hydroizolácie.
Pre škáry medzi jednotlivými prvkami vzniká pod krytinou riziko znečisťovania voľného vzduchového priestoru. Na zjednodušenie čistenia treba vytvoriť úseky s odnímateľnými rámami.
Obr. 8 Kongresové a koncertné centrum, Pécs, Maďarsko
Záver
Prezentovaných sedem typov skladieb strechy dokladuje, že súčasné strechy s kamennou krytinou sú realizovateľné. Ich konštrukčné riešenie sa podobá skôr riešeniu strmých a terasových striech, než riešeniu fasád a striech s malým sklonom. Skladba strechy je jednoduchšia, pozostáva z menšieho počtu vrstiev, avšak z drahších materiálov, ako sa používajú pri tradičných strechách. Skladby zodpovedajú požiadavkám z hľadiska tlmenia prechodu tepla do interiéru v letnom období a z hľadiska priepustnosti vodných pár. Zároveň je použitie kamennej krytiny v súlade s trvalo udržateľnou výstavbou, pretože ide o ekologický materiál. Pri dodržaní aplikačných postupov možno použiť aj menej mrazuvzdorný alebo menej kvalitný kameň, s nižšou mechanickou odolnosťou. Kamennú krytinu možno ľahko opraviť, a pri pravidelnej údržbe sa môže životnosť konštrukcie priblížiť k životnosti budovy.
Rozmery kamenných prvkov, spôsob uloženia (pravidelný alebo nepravidelný raster) a škárovanie, závisia od možnosti kotvenia, podkladu a požiadaviek na ich stavebno-fyzikálne a mechanické vlastnosti (mrazuvzdornosť, pevnosť v ohybe). Kamennú krytinu sa odporúča ukladať na sucho, pretože toto uloženie umožňuje vysychanie kamenného materiálu zospodu vďaka odvetrávaniu cez vzduchovú medzeru alebo vodopriepustný podklad. Kamenné prvky možno kotviť jednotlivo alebo vo väčších celkoch.
Za optimálnejšie sa považuje uloženie krytiny tak, že väčšina jej plochy leží na podklade. Pri ukladaní na koľajničky alebo pri bodovom kotvení vznikajú pomerne vysoké napätia, čo si vyžaduje použitie hrubších, čiže drahších kamenných materiálov.
Škárovanie kamenných prvkov závisí od veľkosti prvku, dilatačného poľa, tepelnej rozťažnosti, požiadavky na pevnosť (navzájom pôsobiace sily medzi jednotlivými kamennými prvkami), ako aj od ochrany zanesením prachom a inými nečistotami.
![]() |
![]() |
| Obr. 9, 10 Nová budova Vinárstva Füleky, Bodrogkeresztúr, Maďarsko. Strechu charakterizujú malé plochy, ale podstatne odlišné uhly sklonov. | |
Tab. Porovnanie historických a súčasných strešných konštrukcií s kamennou krytinou
Základnou úlohou je vyriešenie sekundárneho odvodu vody spod krytiny. Množstvo vody vnikajúcej pod krytinu sa pri jednotlivých typoch podstatne odlišuje. Odvodňovaciu drenážnu vrstvu treba dimenzovať z hľadiska rýchlosti prenikania vody. Výber hydroizolácie ovplyvňuje požiadavka na jej mechanickú pevnosť a odolnosť proti deformáciám na tlak (ako doteraz nepredpísaná nová požiadavka). Aj pri pevných hrubých platniach sa ako výhodnejšie javia pružné izolačné potery zosilnené textíliou alebo sieťovinou.
Pri návrhu kamennej strechy možno voliť buď klasickú (priamu) skladbu strechy, alebo obrátený typ strechy. Obrátená skladba strechy je zriedkavejšia, pretože potrebné zaťaženie vrstiev možno zabezpečiť len ich vzájomným prepojením, bez vzduchovej medzery. Pri šikmých strechách sa odporúča používať tepelnoizolačné dosky s vyššou pevnosťou v tlaku. Pri výbere parozábrany a tepelnej izolácie sa odporúča voliť homogénne materiály (sypaná tepelná izolácia, parovzdorný náter) a platne ukladané na celú plochu (lepené alebo zvárané), nie materiály vyžadujúce mechanické kotvenie.
Správny výber optimálneho typu konštrukcie predpokladá mimoriadne presné analyzovanie extrémnych architektonických požiadaviek a charakteristík projektovanej stavby. Nie je možné zostať pri zásadách, ktoré platia pre projektovanie tradičných konštrukcií. Návrh kamennej strechy si vyžaduje intuíciu, kreativitu, nápady (obr. 8), a nielen slepé dodržiavanie noriem a smerníc. Pri spoľahlivej analýze plánovanej životnosti stavby, jej využitia, nárokov a rezerv v riešení možno konkrétnu úlohu riešiť presnejšie. Tak možno použiť aj menej únosné materiály, čo vedie k značným úsporám. Každé riešenie je osobitné, a nie je možné ho automaticky aplikovať na inej stavbe.
TEXT: Dipl.-Ing. arch. Gergely Dobszay
OBRÁZKY a FOTO: autor
Dipl.-Ing. arch Gergely Dobszay pôsobí na Katedre stavebných konštrukcií Technickej univerzity v Budapešti, zapája sa do vedecko-výskumnej činnosti v oblasti izolácií, stavebnej fyziky a rekonštrukcie budov. Spolupracuje s renomovanými projektovými ateliérmi v Maďarsku, a to najmä pri projektovaní nosných konštrukcií nemocníc a administratívnych budov.
Recenzoval Dr. Ing. Juraj Szalay, PhD., ktorý pôsobí na Fakulte architektúry STU v Bratislave a zároveň je súdnym znalcom v odbore stavebníctvo a súdnym tlmočníkom a prekladateľom.
Literatúra
1. Dobszay, G.: Building construction problems for „covered roofs” (Periodica Polytechnika Civil Engineering, Budapest, 53/1, 2009.
2. Vermeil, J: The aesthetics of deformation (Technique et Architecture, 490/2007).
3. Le Corbusier: Vers une architecture, Paris, 1923.
Článok bol uverejnený v časopise Stavebné materiály.





















