Skraperová technika na zemných prácach
Zemné práce predstavujú na každej začínajúcej stavbe jeden z prvých technologických procesov. Na celkovom objeme prác sa podieľajú priemerne v rozsahu desiatich percent. Na ich realizácii sa podieľa veľké množstvo stavebných strojov a dopravných prostriedkov a dosahuje sa pri nich vysoký stupeň mechanizácie procesu. Značný podiel zemných prác je hlavne na inžinierskych a vodohospodárskych stavbách. V podmienkach slovenskej stavebnej výroby je využívanie skraperovej techniky ojedinelé. Dôvodom je vhodnosť skraperov najmä na presuny veľkých objemov zemín (do tretej triedy ťažiteľnosti) podľa podmienok stavby.
Konštrukčné riešenieSkrapery sú zemné stroje na plošnú ťažbu, premiestnenie a ukladanie zeminy. Svojím konštrukčným vyhotovením slúžia ako náhrada za stroje, ktoré vykonávajú jednotlivé pracovné operácie samostatne (lopatové rýpadlo, odvozný prostriedok, dozér, čiastočne hutniaca technika). Energiu potrebnú na rozpojenie zeminy získavajú prenosom výkonu medzi hnacími kolesami súpravy a terénom.
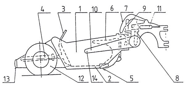
Zaraďujeme ich do skupiny traktorových strojov. Môžeme hovoriť aj o traktorovej súprave zloženej z traktorového ťahača a oceľovej korby, ktorá je zospodu otvárateľná a vybavená rezným nožom, respektíve lištou. Toto vyhotovenie je typické pre tzv. jednomotorový skraper, no častejšie sa stretávame s konštrukčným riešením dvojmotorových skraperov, ktoré sú výkonnejšie (obr. 1).
Náhonovou jednotkou je spaľovací motor ťahača alebo skrapera na vyvodenie potrebného krútiaceho momentu pri zodpovedajúcich otáčkach. Sumárny výkon dvojmotorových skraperov býva až cez 700 kW.

Jednotlivé komponenty predstavujú korba s dnom, ktorá má v prednej časti rezný nástroj – nôž. Tento môže byť priamy, lomený alebo vytvarovaný do obdĺžnika. Na vyprázdňovanie korby je v zadnej časti pohyblivá stena ovládaná priamočiarym hydromotorom. Ten pomocou mechanizmu ovláda aj pohyblivý uzáver v prednej časti korby. Na spúšťanie a zdvíhanie korby slúži hydraulický valec, ktorý je kĺbovo uložený v čapoch na prednom ráme. Na riadenie zadnej časti korby s nápravou slúžia priamočiare hydromotory. Korba je uložená na pevnej náprave s kolesami a pneumatikami. Nárazník je súčasťou konštrukcie, ktorou sa do súpravy prenášajú sily od postrkového stroja.

- skrátenie času na rozpojovanie materiálu,
- vyššie transportné rýchlosti aj v zlom teréne,
- prekonanie väčšieho stúpania,
- nie je nutný postrk na zvýšenie ťažnej sily na rozpojenie horniny.
Nevýhodami tohto konštrukčného prevedenia sú:
- vyššia nadobúdacia hodnota,
- hmotnosť súpravy vyššia o 10 až 30 %,
- zvýšené náklady na prevádzku.

K značnému rozšíreniu v posledných rokoch prispeli tieto prednosti:
- rozpojovanie zeminy s elevátorom vyžaduje o 20 až 30 % menšiu ťažnú silu, resp. nevyžaduje sa postrk,
- rovnomernejšie zaťaženie motora po celý čas plnenia korby,
- plnenie korby najmä sypkými materiálmi je rýchlejšie a plynulejšie,
- schopnosť odoberať (rozpojovať) tenké vrstvy zeminy, ako aj zarovnávanie terénu,
- rovnomerné rozprestieranie, ukladanie zeminy s presnosťou až ± 1,5 cm,
- zvýšenie výkonnosti ako dôsledok skrátenia času trvania pracovného cyklu.

- rozmery korby (šírka, výška, dĺžka),
- rezný uhol a tvar rezných nožov,
- konštrukcia predného uzávera.
Hlavné rozmery korby sú dané objemom korby, avšak prax dokazuje, že je veľmi dôležité dodržať určité vzájomné pomery medzi šírkou a výškou korby. Tento pomer býva v rozmedzí 1,7 až 2. Pracovný proces, t. j. odrezávanie určitej vrstvy zeminy, sa reguluje adhéznymi schopnosťami stroja a stupňom zaplnenia korby. Pri práci musí skraper prekonať celkový odpor, ktorý sa rovná súčtu jednotlivých odporov:
W = W1 + W2 + W3 + W4 + W5 (kN) (1)
kde W1 je valivý odpor (kN),
W2 – odpor pri rezaní zeminy (kN),
W3 – odpor plnenia zeminy do korby (kN),
W4 – odpor hrnutého rozprestierania zeminy (kN),
W5 – odpor noža (kN).
Prevádzka skraperov
Skrapery sú vhodné na rozpojovanie a transport horniny do tretej triedy a následné rozprestretie na požadovanú hrúbku, ako aj čiastočné zhutnenie kolesovým podvozkom. Rezanie triesky prebieha pri pohybe skrapera so spustenou korbou a zahĺbeným nožom do hĺbky zodpovedajúcej jeho adhéznym schopnostiam. Prepravné vzdialenosti sú efektívne od 60 do 2 500 m v závislosti od veľkosti objemu korby skrapera, celkového množstva práce, terénnych a klimatických podmienok. Pri práci možno využiť rozprestieranie transportovanej horniny do požadovanej hrúbky s presnosťou 10 mm pomocou laserového ovládania.
Z hľadiska využitia má nasadenie skraperov tieto výhody:
- ťažba, nakladanie, prevoz, vyprázdňovanie a čiastočné hutnenie sa realizujú v jednom pracovnom cykle,
- ovládanie je jednoduché, výkonnosť značná,
- zeminu možno zrezávať v tenkých vrstvách, a tým dodržiavať presné rozmery požadovaného výkopu,
- zeminu možno po prevoze rovnomerne rozprestierať a pri prejazdoch ju zhutňovať,
- prestoje sú podstatne menšie, zrýchľujú sa pracovné postupy a znižujú výrobné náklady.
Z nevýhod možno uviesť:
- nemožnosť použitia pri zeminách, kde sa vyskytujú kamene; v zeminách vlhkých a ílovitých sa vplyvom ich priľnavosti výkonnosť skraperu znižuje,
- niektoré typy skraperov majú zvýšené nároky na manipulačný priestor,
- na prevoz jednotkového množstva zeminy v nakyprenom stave pripadá pomerne veľká hmotnosť stroja,
- v daždivom počasí je použitie obmedzené, alebo nemožné.
Medzi výrobcov tejto techniky patria najmä spoločnosti CATERPILLAR a TEREX z USA. Z produkcie jednomotorových skraperov s elevátorom uvedieme CAT 623 G s objemom korby 17,5 m3 a hmotnosťou 37,4 t (obr. 5) alebo TEREX S-17-E s objemom korby 13,0 m3 a hmotnosťou 29,5 t. Najväčšie výkonnosti dosahujú dvojmotorové skrapery. Sem patrí napríklad typ CAT 657 s objemom korby 33,6 m3 , výkon motora traktora je 421 kW a výkon motora skrapera 306 kW. Má hmotnosť 47,2 t.
Nasadenie skrapera do pracovného procesu v zodpovedajúcich podmienkach vyžaduje údaje o jeho technologických parametroch:
|
doc. Ing. Ľubomír Cais, CSc.
Foto: archív autora
Ľubomír Cais sa profesijne orientuje na oblasť technológie stavieb a zaoberá sa mechanizáciou stavebných procesov.
Literatúra
1. Cais, Ľ., Hyben, I: Mechanizátor stavebnej firmy. Stavebný trh. Martin: 2006.
2. Cais, Ľ.: Mechanizácia stavebných procesov. Košice: Elfa, 2005.
3. Jeřábek, K.: Zemní stroje (skriptum). Praha: ČVUT, 1987.
4. www.cat.com
Článok bol uverejnený v časopise Inžinierske stavby/Inženýrské stavby.








