Otvorené plynové spotrebiče
Otvorené plynové spotrebiče konštruované na priame pripojenie na dymovod, ktorý odvádza spaliny mimo priestoru musia spĺňať základné bezpečnostné požiadavky. Umiestňovanie týchto spotrebičov musí zohľadňovať miesto inštalácie, ochranu elektrotechnickej časti spotrebiča a požiarne predpisy. Dôležitou požiadavkou je vetranie priestoru a zabezpečenie dostatočného prívodu vzduchu.
Podľa tlakových podmienok v úseku od kotla po pripojenie dymovodu (sopúcha) na komínové teleso a podľa druhu horáka sa plynové spotrebiče zhotovujú:
s atmosférickým horákom a s prerušovačom ťahu – zhotovenie B1 –, kde sa spaliny odvádzajú:
- prirodzeným ťahom – zhotovenie B11;
- prirodzeným ťahom, ale s pretlakom pred prerušovačom ťahu – zhotovenie B12;
- prirodzeným ťahom, ale s núteným prívodom spaľovacieho vzduchu pred spaľovacou komorou – zhotovenie B13;
- núteným spôsobom – ventilátorom, ktorý vytvára pretlak za prerušovačom ťahu – zhotovenie B14;
s atmosférickým horákom bez prerušovača ťahu – zhotovenie B2:
- s odvodom spalín prirodzeným ťahom – zhotovenie B21;
- s odvodom spalín núteným spôsobom, s pretlakom za spaľovacou komorou – zhotovenie B22;
- s núteným prívodom spaľovacieho vzduchu, s pretlakom na prívode vzduchu k horáku pred spaľovacou komorou – zhotovenie B23.
Umiestňovanie spotrebičov
Plynové spotrebiče zhotovenia B musia byť umiestnené v dobre vetranom priestore. Na správnu prevádzku treba zabezpečiť dostatočné množstvo vzduchu. Prívod vzduchu nesmie ovplyvňovať proces spaľovania, dynamiku a tlakovú rovnováhu systému miestnosť – spotrebič – komínové teleso a nesmie dôjsť k prípadnému spätnému ťahu spalín do miestnosti.
Pri spotrebičoch zhotovenia B s atmosférickými horákmi musí pripadať na 1 kW príkonu spotrebiča najmenej 1 m3 objemu miestnosti. Spotrebiče s atmosférickým horákom a prerušovačom ťahu s tepelným príkonom väčším ako 7 kW, ktoré nemajú automatickú poistku proti spätnému toku spalín, sa umiestňujú v bytových priestoroch len vtedy, ak na 1 kW príkonu pripadá minimálne 2 m3 objemu vetranej miestnosti. V priestoroch, kde nie je zaručená správna funkcia spotrebiča zhotovenia B (napríklad nepriaznivé ťahové podmienky), prípadne v miestnostiach s odsávacími ventilátormi a podobnými zariadeniami, sa inštalovať nesmú.
Dôležitá je požiadavka na ochranu elektrotechnickej časti spotrebiča, kde podľa STN 33 2000 je spotrebič určený pre normálne prostredie a má bežné elektrické krytie IP 41. Pri umiestnení vo vlhkom prostredí (kúpeľňa) musí byť zabezpečená ochrana pred úrazom elektrickým prúdom a minimálne krytie elektrickej časti kotla IP 45, ktoré vyhovuje takémuto prostrediu.
Pri umiestňovaní plynových nástenných spotrebičov v priestore treba podľa STN 92 0300 dodržať dostatočné požiarne vzdialenosti od nehorľavých, ale najmä od horľavých látok a materiálov. Minimálna vzdialenosť okraja kotla od ťažko horľavých materiálov je 100 mm a od horľavých látok 200 mm.
Nástenné kotly sa osadzujú na zvislé stavebné konštrukcie kotviacimi skrutkami s podložkami a ich poloha má byť taká, aby boli dostatočne prístupné z oboch bočných strán a z čelnej strany umožňovali pripojenie potrubia so studenou vodou, vykurovacou vodou a prívodom plynu, ktoré sú bežne integrované do tzv. montážnej súpravy. Montážna súprava zaručuje optimálnu polohu pripojenia potrubia na spotrebič, ako aj potrubných rozvodov s uzatváracími a regulačnými armatúrami vykurovacej sústavy.
Požiadavky na vetranie priestoru
Pri spotrebičoch zhotovenia B s atmosférickými horákmi s prerušovačom ťahu musí byť zaručený na 1 kW príkonu spotrebiča objem miestnosti najmenej 1 m3. Prívod spaľovacieho vzduchu pre otvorené spotrebiče možno zabezpečiť niektorým z nasledujúcich spôsobov:
- prirodzeným spôsobom (obr. 1 až 4).
- trvalým prepojením miestnosti s vonkajším prostredím (obr. 1);
- dostatočnou škárovou prievzdušnosťou okien a dverí (obr. 2);
- vzájomným prepojením so susednou alebo susednými miestnosťami (obr. 2);
- núteným spôsobom – núteným prívodom vzduchu ventilátorom.
Prívod vzduchu zabezpečený trvalým prepojením miestnosti s vonkajším priestorom otvorom musí mať minimálny voľný prierez 0,001 m2 na 1 kW príkonu spotrebiča, najmenej však 0,02 m2. Tieto otvory môžu byť uzatvárateľné len v prípade, ak je zabezpečené ich automatické ovládanie spojené s prevádzkou spotrebiča. Otvormi môžu byť okná a balkónové dvere otvárateľné do vonkajšieho prostredia (obr. 1, 2 a 3).
1 – prívod vzduchu priamo z vonkajšieho prostredia a zo susednej miestnosti prievzdušnosťou škár, 2 – nástenný plynový otvorený spotrebič
V druhom prípade sa podmienka dostatočného prívodu vzduchu splní vtedy, ak škárami okien a dverí prúdi do miestnosti prirodzeným alebo núteným spôsobom spaľovací vzduch v množstve 1,6 m3 za hodinu na 1 kW tepelného príkonu spotrebiča.
Obr. 2 Umiestnenie nástenného otvoreného spotrebiča v miestnosti s nepriamym prívodom spaľovacieho vzduchu prievzdušnosťou škár okien a dverí zo susednej miestnosti
1 – prívod vzduchu z vedľajšej miestnosti prievzdušnosťou škár okna a dverí, 2 – prívod vzduchu zo susednej miestnosti otvormi vo dverách, 3 – nástenný plynový otvorený spotrebič
Obr. 3 Umiestnenie nástenného otvoreného spotrebiča v miestnosti s nepriamym prívodom spaľovacieho vzduchu zo susedných miestností
1 – prívod vzduchu z vedľajšej miestnosti prievzdušnosťou škár okna, 2 – prívod vzduchu zo susednej miestnosti otvormi vo dverách, 3 – nástenný plynový otvorený spotrebič
![]() |
![]() |
![]() |
| a) | b) | c) |
Obr. 4 Umiestnenie plynového nástenného uzavretého spotrebiča v skrini v miestnosti
a) prívod vzduchu prieduchom, b) prívod vzduchu cez obvodovú stenu, c) prívod vzduchu šachtou pod stropom miestnosti
Ak sa spaľovací vzduch pre spotrebič zhotovenia B do miestnosti privádza núteným spôsobom, teda s pretlakom pred spaľovacou komorou, veľkosť miestnosti sa nepredpisuje. Na zabezpečenie dostatočného množstva vzduchu núteným spôsobom je pri spotrebičoch s atmosférickými horákmi potrebné, aby:
- vetracie zariadenie negatívne neovplyvňovalo funkciu spotrebiča ani zariadenia na odvod spalín,
- sa zabezpečilo vzájomné spojenie prevádzky spotrebiča a prevádzky vetracieho zariadenia automatickým systémom riadenia.
Pripojenie na vykurovaciu sústavu
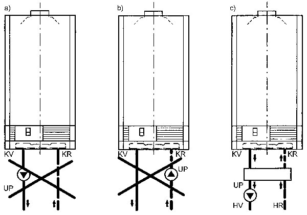
Spotrebič sa na potrubný rozvod vykurovacej sústavy a prívod plynu pripája tak, aby pripájacie koncovky kotla nezaťažoval tlak z potrubia sústavy. Pripájacie koncovky majú vonkajšie závity. Ak spotrebič vybavený obehovým čerpadlom zásobuje teplom súčasne teplovodnú aj nízkoteplotnú vykurovaciu sústavu, odporúča sa oddeliť okruh kotla od okruhov vykurovacej sústavy termohydraulickým rozdeľovačom – anuloidom (obr. 5).
Obr. 5 Schéma pripojenia nástenného kotla na vykurovaciu sústavu pri sériovom zapojení obehových čerpadiel
a, b) nesprávne pripojenie kotla na vykurovaciu sústavu, c) správne pripojenie kotla na vykurovaciu sústavu
KV – prívodné potrubie okruhu kotla, KR – vratné potrubie okruhu kotla, UP – obehové čerpadlo v okruhu vykurovacej sústavy, X – hydraulický vyrovnávač, anuloid, HV – prívodné potrubie okruhu vykurovacej sústavy, HR – vratné potrubie okruhu vykurovacej sústavy
doc. Ing. Otília Lulkovičová, PhD.
OBRÁZKY: archív autorky
Autorka je absolventkou Stavebnej fakulty STU v Bratislave. Je predsedníčkou odbornej sekcie Vykurovanie v Slovenskej spoločnosti pre techniku prostredia a je odbornou garantkou seminárov zameraných na zdroje tepla. Pôsobí v Technickej normalizačnej komisii pre vykurovacie systémy.
















