Kovové konštrukcie a možnosti ich ochrany pred ohňom II
Možnosti ochrany kovových konštrukcií pred ohňom obmurovaním alebo obetónovaním, požiarnymi omietkami a požiarnymi nástrekmi sme vám priblížili v poslednom čísle časopisu Stavebné materiály roku 2009. V praxi sa však často využívajú aj požiarne nátery, požiarne doskové obklady a lepené obklady z minerálnych vlákien.
Požiarne náteryNa kovové konštrukcie možno použiť tieto protipožiarne náterové systémy:
a) intumescentné (vypeňovacie),
b) sublimujúce.
Intumescentné nátery pri zvýšenej teplote zväčšujú svoj objem až 50-násobne, preto ich stačí nanášať v relatívne tenkej vrstve – zvyčajne do 1 mm. To umožňuje získať účinnú požiarnu ochranu stavebných konštrukcií už postavených objektov bez rozsiahlejších konštrukčných úprav, ktoré sú spravidla finančne nákladnejšie. Hrúbka vypeňovacieho náteru je jedným z rozhodujúcich faktorov účinnosti systému a je ovplyvnená predovšetkým pomerom obvodu O a prierezu chráneného profilu A (nové značenie Ap/V).
Sublimujúce náterové systémy sú akýmsi prechodom medzi nátermi a nástrekmi. V podstate ide o pomerne hrubú vrstvu vystuženú sklenenými vláknami alebo rohožami, ktorá sa pri vyšších teplotách odparuje – sublimuje. Sublimujúce nátery sú veľmi stále, odolné proti poveternostným vplyvom a mechanickému namáhaniu, preto sú vhodné na neprístupné miesta vonkajších konštrukcií, kde nemožno využiť bežné úpravy a kde treba vylúčiť riziko zlyhania. Vzhľadom na ich pomerne vysokú cenu sa však príliš nepoužívajú, aj keď sú veľmi perspektívne.
Štruktúra a vlastnosti požiarnych náterov
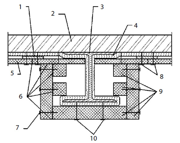
Intumescentný náterový systém (obr. 1) tvoria:
- základný náter (primer) zabezpečujúci dobrú priľnavosť k podkladu,
- vypeňovací náter (niekedy zároveň aj vrchný),
- vrchný ochranný náter, ktorý treba predovšetkým pri aplikácii v exteriéri – niektoré zložky vypeňovacích náterov sú totiž aspoň čiastočne rozpustné vo vode a zaschnutý náter preto treba chrániť pred dažďom. Krycí náter umožňuje aj farebnú úpravu povrchu.

Pri náteroch na kov treba starostlivo zmerať nanesené vrstvy, lebo náter správne funguje iba pri dodržaní predpísaných hodnôt všetkých vrstiev. Pre nátery na kov sú predpísané hodnoty náterových vrstiev, ktoré sa kontrolujú jednak meracími prístrojmi na meranie suchých vrstiev, jednak mechanickým hrúbkomerom (hrebeňom) pri mokrých vrstvách. K výhodám intumescentných náterov na oceľových konštrukciách patrí najmä nezmenená vzperná dĺžka konštrukcie, nízka hmotnosť, estetický vzhľad a pomerne ľahká a rýchla aplikácia.
Požiarne doskové obklady
V porovnaní s požiarnymi omietkami a nátermi, ktoré slúžia predovšetkým na zvýšenie požiarnej odolnosti nosných, najmä tyčových prvkov, sa požiarne doskové obklady môžu využiť viacúčelovo a požiarnu odolnosť si uchovávajú po celý čas svojej životnosti (netreba ich obnovovať). Funkčnosť doskových obkladov závisí od spôsobu ich zhotovenia. Prax ukázala, že pri nižšej požiarnej odolnosti (maximálne do 45 minút) bude obklad v silnej konkurencii požiarnych náterov značne znevýhodnený. Silnejšie dosky (od hrúbky približne 12 mm) možno spájať sponkami alebo klincami mechanicky, kým tenké dosky sú z hľadiska montáže náročnejšie – treba ich upevňovať na kovové profily a lišty.
V závislosti od materiálového zloženia možno požiarne dosky rozdeliť na:
- dosky na báze sadry,
- dosky na báze vermikulitu,
- dosky na báze cementu,
- dosky kombinované na báze vápna a cementu.
Prvé dve skupiny možno použiť iba v interiéri, tretiu skupinu aj v exteriéri a štvrtú skupinu okrem interiéru aj vo vonkajšom prostredí, ale za predpokladu, že dosky chráni impregnácia a nie sú trvale vystavené priamemu dažďu (teda sú zakryté strechou). Obklady na rozdiel od náterov značne zaťažujú nosnú konštrukciu. Na rozdiel od obmurovania, omietok a nástrekov obkladanie požiarnymi doskami vylučuje mokrý proces a umožňuje rýchlu montáž.
Dosky na báze sadry
Na tejto báze sa doteraz vyrábali tri základné typy:
a) sadrokartóny s jadrom armovaným sklenenými alebo minerálnymi vláknami;
b) sadrovláknité dosky
- sendvičové konštrukcie, kde plášť namiesto kartónu tvorí sklenená rohož alebo tkanina,
- homogénne sadrové dosky vystužené dlhšími, napríklad celulózovými vláknami po celom priereze, avšak bez opláštenia;
c) plné sadrové dosky na nenosné priečky.
Sadrokartónové dosky
Tento veľmi rozšírený typ dosák sa dodáva jednak v základnom vyhotovení, jednak so zvýšenou odolnosťou proti vlhkosti (γ = 750 až 800 kg/m3). Keďže sadra pri zvýšených teplotách uvoľňuje kryštalickú vodu, ktorá ochladzuje plameň, dosky strácajú mechanickú pevnosť, v dôsledku čoho po určitom čase praskajú. Požiarne dosky so štandardnou hrúbkou 12,5 mm zvyčajne popraskajú pri teplotách asi 680 až 780 °C, a to približne medzi 15. a 20. minútou. Inak povedané, v tomto teplotnom intervale nastáva strata celistvosti dosák. Presný čas prasknutia nemožno jednoznačne stanoviť, pretože tento čas závisí od ich vnútornej vlhkosti, od spôsobu ich upevnenia ku konštrukcii, od ich spojenia medzi sebou atď. Kritickými miestami sú škáry medzi doskami a ich ukotvenie na nosný rošt.
Sadrovláknité dosky
Sadrovláknité dosky majú v porovnaní so sadrokartónmi:
- lepšie fyzikálno-mechanické parametre, a tým aj vyššiu nosnosť pri zavesení bremena,
- nižší sklon k tvorbe prasklín a v dôsledku toho vyššiu požiarnu odolnosť v konštrukciách,
- vyššiu objemovú hmotnosť (γ = až asi 1 200 kg/m3),
- o niečo vyššiu cenu.
Tento typ dosák možno však použiť napríklad aj na podlahy s požiarnou odolnosťou 90 minút (zhora), na ktoré sadrokartón použiť nemožno.
Plné sadrové dosky
Tieto dosky s hrúbkou 60, 80 a 100 mm sa vyrábajú zo stavebnej sadry, pri ktorej sa pri zahrievaní nad 70 °C začína proces dehydratácie sprevádzaný rozrušením kryštalickej štruktúry, a tým aj poklesom pevnosti. Aplikujú sa technológiou presného murovania na pero a poldrážku. Ich fyzikálno-mechanické vlastnosti sú minimálne rovnaké ako pri sadrokartóne, možno nimi však zabezpečiť vyššiu požiarnu odolnosť nenosných konštrukcií v rozpätí od 90 do 180 minút. V závislosti od hrúbky dosky sú tieto steny samonosné do výšky 4 až 6 metrov, a to za cenu v prepočte na požiarnu odolnosť značne nižšiu ako pri iných montovaných konštrukciách.
Dosky na báze vermikulitu
Tieto dosky (γ = 450 až asi 850 kg/m3) vykazujú vysokú odolnosť proti vysokým teplotám, avšak horšie fyzikálno-mechanické vlastnosti. Možno ich opracovať bežnými stolárskymi technológiami. Keďže majú nízku odolnosť proti vlhkosti, napriek možným hydrofóbnym úpravám ich nemožno aplikovať v prostredí s relatívnou vlhkosťou vzduchu viac ako 75 až 80 %.
Dosky na báze cementu
Po zákaze používania azbestových vlákien sa výroba kvalitných dosák na požiarne izolácie značne obmedzila. Napriek tomu dosky na cementovej báze sa aj naďalej používajú pre niektoré svoje prednosti, ako sú:
- odolnosť proti poveternostným vplyvom, vlhkosti a vode,
- fyzikálno-mechanické vlastnosti, predovšetkým pevnosť v ťahu pri ohybe a rázová húževnatosť,
- vyššia požiarna odolnosť (majú menšiu nasiakavosť) v porovnaní so sadrovými doskami,
- pomerne prijateľná cena.
Naproti tomu sú podstatne ťažšie (γ = 1 200 až asi 1 700 kg/m3) a navyše sa ťažko opracúvajú. Do tejto skupiny možno zaradiť predovšetkým cementotrieskové dosky.
Cementotrieskové dosky
Tieto dosky certifikované na požiarne účely majú v súčasnosti takmer dominantné postavenie pri aplikácii vo vonkajšom prostredí. Pri návrhu konštrukcie treba zohľadniť ich väčšiu hmotnosť (γ = max. 1 350 kg/m3) a z pohľadu tepelnoizolačnej schopnosti chránenej konštrukcie aj súčiniteľ tepelnej vodivosti (λ = 0,35 W/(m . K)).
Dosky na kombinovanej báze vápna a cementu
Tento typ dosák sa vyrába pri vysokej teplote a tlaku v rôznych hrúbkach a veľkostiach. Pri požiari nepraskajú (uchovávajú si svoju homogénnu štruktúru), preto si po celý čas zachovávajú veľmi dobré tepelnoizolačné vlastnosti (λ = 0,175 W/(m . K)). Patria k najkvalitnejším materiálom pri požiarnej ochrane stavebných konštrukcií. Po impregnácii ich možno použiť aj vo vlhkých prevádzkach. Hoci sú schopné odolávať proti požiaru až do 180 minút, v porovnaní s ostatnými požiarnymi doskami sú o niečo drahšie.

Pri oceľových konštrukciách treba pod obklady použiť kvalitnú povrchovú antikoróznu úpravu, pretože pri prípadných opravách by sa celý obklad musel demontovať. Na druhej strane antikorózny náter chráni obklad pred prípadným mechanickým poškodením, čím zvyšuje jeho životnosť. Treba mať však na pamäti, že vnútri obkladu sa vytvorí mikroklíma, ktorá sa len veľmi pomaly mení. Ak sa potom do dutiny dostane napríklad voda, oceľ pod obkladom bude korodovať podstatne pomalšie, pretože aj samotný obklad je zvyčajne navlhnutý.
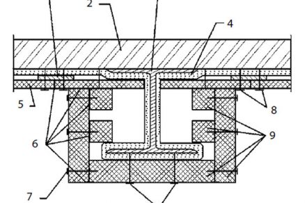
Lepené obklady z minerálnych vlákien
Tento typ požiarnej ochrany predstavuje zvláštnu skupinu. Ide o polyfunkčný lepený požiarny obklad na báze čadičovej plsti, prostredníctvom ktorého sú zabezpečené požadované parametre požiarnej bezpečnosti R, E, I, W v celom časovom spektre od 15 do 180 minút.
Na rozdiel od všetkých požiarnych dosák tu nejde iba o konštrukčné prvky na zvýšenie požiarnej odolnosti konštrukcií zhotovených z iných materiálov, ale slúžia na viac účelov, predovšetkým ako:
- tepelná a zvuková izolácia λ = 0,039 W/(m . K),
- požiarne odolné dosky na zvýšenie požiarnej odolnosti,
- výplň krídel požiarnych uzáverov,
- tesnenie dilatačných škár.
Lepené obklady z minerálnych vlákien na oceľové konštrukcie (obr. 3) charakterizuje:
- nízka hmotnosť, ktorá minimálne zaťažuje chránenú konštrukciu,
- flexibilita obkladu umožňujúca ľubovoľné tvarovanie,
- neškodnosť pre životné prostredie.
Vytvára sa nimi:
- základná povrchová úprava v ľubovoľnom farebnom odtieni a s pomerne jednoduchou aplikáciou,
- akustický obklad a odolnosť proti vibráciám a dynamickým nárazom,
- dodatočné zateplenie (tepelný izolant), a tým aj odstránenie prípadných tepelných mostov.

Oproti nástrekom majú lepené obklady neporovnateľne lepší vzhľad a na priemyselných objektoch často pôsobia veľmi esteticky.
Životnosť lepených obkladov závisí najmä od použitého lepidla a povrchových úprav. Vo vonkajšom prostredí ju ovplyvňuje aj kvalita povrchovej úpravy, ktorá je zhodná s bežnými úpravami zatepľovacích omietok a ktorej životnosť je s týmito omietkami porovnateľná.
Lepené obklady z minerálnych vlákien možno aplikovať iba na súdržné povrchy (podkladom môže byť aj súdržný náter), pričom chránená nemusí byť ani súvislá vrstva (obklad možno lepiť aj na trapézový plech).
TEXT: doc. Ing. Václav Kupilík, CSc.
OBRÁZKY: archív autora
Doc. Ing. Václav Kupilík, CSc. pracuje na Katedre konštrukcií pozemných stavieb stavebnej fakulty ČVUT v Prahe.
Recenzoval Ing. Petr Kejklíček, ktorý je absolventom Stavebnej fakulty ČVUT v Praze, v súčasnosti pracuje ako technicko-obchodný zástupca firmy Promat, s. r. o.
Článok bol uverejnený v časopise Stavebné materiály.






