Ako sa plánuje prevádzka vodných elektrární na Slovensku
Vodné elektrárne (VE) patria medzi významný energetický zdroj v elektrizačnej sústave Slovenska. Využívajú sa najmä na pokrývanie premenlivého zaťaženia, tvoria poruchovú rezervu sústavy a zabezpečujú rovnováhu energetického systému prostredníctvom poskytovania tzv. podporných služieb (PpS). Nasadzovanie vodných elektrární do prevádzky a ich operatívne riadenie počas bežných prietokových pomerov vykonáva energetický dispečing ENEL Slovenské elektrárne, a. s., v Trenčíne.
V procese plánovania prevádzky VE sa rozlišujú dve časové úrovne: dlhodobé plánovanie (ročné, štvrťročné, mesačné), pri ktorom sa plánuje zabezpečený objem výroby elektrickej energie, a krátkodobé plánovanie (týždenné, denné), pri ktorom je proces plánovanie rozšírený o časový rozmer, t. j. okamih uskutočnenia výroby. Kvalita plánovania prevádzky VE má výrazný vplyv na stabilitu a bezpečnosť celej elektrizačnej sústavy (ES). Práve preto sa optimálnemu plánovaniu prevádzky VE zo strany dispečingu VE dlhodobo venuje značná pozornosť. V súčasnosti sa na tomto pracovisku tvorby plánov prevádzky VE používa model na prípravu prevádzky a operatívneho riadenia vodných elektrární (ďalej model PPVE). Ten bol v roku 2006 spustený do skúšobnej a v roku 2007 do reálnej prevádzky ako súčasť Komplexného informačného systému prípravy prevádzky energetických zdrojov Slovenských elektrární. Nahradil tak existujúci model používaný na dispečerskom pracovisku viac ako 20 rokov.Základné kritérium plánovania prevádzky vodných elektrární modelom PPVE
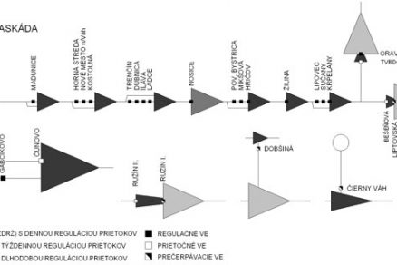
Pri plánovaní prevádzky VE sa vychádza zo skutočnosti, že vodná elektráreň (nad 10 MW inštalovaného výkonu) nepracuje takmer nikdy pre jednotlivého spotrebiteľa. Odovzdáva vyrobenú energiu do jednotného energetického systému, v ktorom pracuje viac vodných, tepelných alebo atómových elektrární. Za takýto tzv. termo-hydroenergetický systém môžeme považovať aj sústavu energetických zdrojov spoločnosti ENEL Slovenské elektrárne, a. s. Tá je prevádzkovateľom dvoch jadrových, dvoch tepelných a 34 vodných elektrární a je dominantným výrobcom elektrickej energie na Slovensku. Na obr. 1 je znázornený subsystém VE, ktorý sa skladá z troch základných celkov:
- vodné elektrárne vodného diela (VD) Gabčíkovo, ktoré sú v súčasnosti prezentované najmä ako VE Gabčíkovo a sčasti VE Čunovo,
- vodné elektrárne sústavy vodných diel postavených na riekach Orava a Váh (Vážska kaskáda), ku ktorým možno po formálnej stránke priradiť aj VE Žilina, prevádzkovanú Vodohospodárskou výstavbou, š. p.,
- prečerpávacie vodné elektrárne (PVE) Čierny Váh, Dobšiná a Ružín.
Obr. 1 Subsystém VE prevádzkovaný spoločnosťou ENEL Slovenské elektrárne, a. s.
Plánovanie prevádzky jednotlivých prvkov systému (aj VE) musí rešpektovať spoločný cieľ definovaný spoločným kritériom optimalizácie celého termo-hydro systému. Hovoríme o tzv. termo-hydro koordinácii. Najjednoduchšie a najvšeobecnejšie kritérium optimálneho riadenia takéhoto systému je dosiahnutie minima celkových nákladov na výrobu, respektíve dodávku elektrickej energie spotrebiteľom pri rešpektovaní obmedzujúcich podmienok, ktoré toto kritérium v danom čase sprevádzajú. Ide o tzv. režimovú hospodárnosť, pri ktorej je zabezpečené ekonomicky optimálne rozdelenie zaťaženia v systéme na jednotlivé výrobne. Kritérium optimalizácie môžeme pre termo-hydro systém definovať cieľovou funkciou vyjadrujúcou cieľ, ktorý sa má optimalizáciou dosiahnuť, t. j. minimalizáciu nákladov na výrobu elektrickej energie v tepelných elektrárňach (N(PTE)), a to pri zabezpečení všetkých okrajových vodohospodárskych a energetických podmienok
min F = (1)
kde N(PTE) sú premenlivé náklady na výrobu elektrickej energie v tepelných elektrárňach,
PTE – výkon tepelných elektrární,
Pc – celkový (požadovaný) výkon energetického systému (zdroje zúčastnené na optimalizácii),
PVE – celkový výkon VE, respektíve VE zúčastnených na optimalizácii.
Riešenie termo-hydrokoordinačnej rovnice (1) je v súčasnosti v rámci energetického systému SR zabezpečené dekompozičným prístupom, pri ktorom sa globálne optimum riešenia získava postupným riešením jednotlivých subsystémov tak, že vyššie stojaci riadiaci systém (Slovenský energetický dispečing v Bratislave) pri svojej činnosti sleduje vlastné ciele vyjadrené kritériom (1), ktoré premieta do koordinačného signálu riešenia posielaného nižšie stojacemu riadiacemu systému (v prípade VE dispečingu v Trenčíne). Riešenie tohto subproblému je potom zabezpečené modelom PPVE, ktorého hlavnou úlohou je optimálne prerozdelenie zaťaženia medzi jednotlivé VE tak, aby sa efektívne využíval hydroenergetický potenciál a súčasne sa zabezpečila optimálna nadväznosť na prevádzku ostatných zdrojov systému.
Základné funkcie modelu PPVE
Model PPVE je vnútorne rozdelený na optimalizačný a simulačný model. Optimalizačný model sa využíva najmä v procese prípravy prevádzky, a to na tvorbu plánov prevádzky v požadovaných časových rozlíšeniach (deň, mesiac, rok). Jeho hlavnou funkciou je spracovanie hydrologických vstupov a modelovanie hydraulických stavov a hydraulických väzieb vodných elektrární na riekach Váh a Orava (Vážska kaskáda), Dunaj (VD Gabčíkovo), Hnilec (PVE Dobšiná) a Hornád (PVE Ružín). Výstupom optimalizačného modelu je plán výroby jednotlivých VE s vyčlenením ich výkonových rezerv na zabezpečenie podporných služieb v určenom časovom rastri, navrhnutý na základe kritéria plánovania daného rovnicou (1). Simulačný model sa uplatňuje najmä v procese operatívneho riadenia prevádzky VE, kde zabezpečuje riešenie okamžitých prevádzkových stavov celej ES a jej jednotlivých častí s cieľom realizovať zámery stanovené prípravou prevádzky pri súčasnom riešení vplyvu nepredvídaných udalostí (zmena hydrologických podmienok, zmena požiadaviek ES). Rozširuje optimalizačný model o metódy, ktoré umožňujú modelovať požadovaný tvar diagramu zaťaženia na základe definovaných výkonových hladín. Výstupom simulačného modelu sú hodnoty prietokových bilancií cez jednotlivé VE a hladinový režim nádrží (respektíve zdrží) a kanálov VE zodpovedajúci fixne zadaným hodnotám požadovaných (bázových) výkonov a hodnotám požadovaných podporných služieb.
Členenie modelu PPVE na základné objektové schémy
Vzhľadom na to, že jednotlivé VE vykazujú z hľadiska spôsobu prevádzky, spôsobu hospodárenia s vodou a koncepčného riešenia množstvo spoločných prvkov, bolo možné všetky VE priradiť k trom základným objektovým schémam, a to k schéme prihaťovej, kanálovej a akumulačnej (obr. 2).
Obr. 2 Objektová schéma a) prihaťová, b) kanálová, c) akumulačná
V prípade prihaťovej schémy ide z pohľadu prevádzky a stavebného riešenia o VE, ktoré sú postavené hneď pri zdržiach, respektíve nádržiach s krátkodobou reguláciou prietokov (dennou alebo týždňovou). Medzi prihaťové schémy patrí VE Žilina, VE Kráľová a VE Nosice. V prípade kanálovej schémy ide o VE, respektíve niekoľko VE postavených na derivačnom kanáli vedenom od zdrže s dennou reguláciou prietokov. Medzi kanálové schémy patria tieto skupiny VE: Krpeľany – Sučany – Lipovec, Hričov – Mikšová – Považská Bystrica, Ladce – Ilava – Dubnica – Trenčín, Kostolná – Nové Mesto nad Váhom – Horná Streda a samostatne stojaca kanálová VE Madunice a VE Gabčíkovo. K akumulačnej schéme môžeme priradiť VE, respektíve PVE, ktoré sú postavené pri veľkých akumulačných nádržiach s dlhodobou reguláciou prietokov (ročnou alebo viacročnou). Akumulačné nádrže sú spojené s vyrovnávacími nádržami, pri ktorých sú takisto postavené VE, ale zvyčajne s malými výkonmi, ktorých funkciou je vyrábať elektrickú energiu pri zadaných hodnotách prietokov pod týmito VE. Riadiacou VE takejto skupiny je VE, respektíve PVE postavená v priamej hydraulickej väzbe na akumulačnú nádrž. Medzi akumulačné schémy patria VE Orava – Tvrdošín, PVE Liptovská Mara – Bešeňová, PVE Dobšiná a PVE Ružín.
Objektová architektúra modelu PPVE zabezpečuje jeho vysokú flexibilitu najmä v prípade modifikácie parametrov jednotlivých VE. V prípade výstavby nových VE je zabezpečené ich začlenenie do modelu parametrizáciou už existujúcej objektovej schémy alebo doplnením modelu úplne novým typom schémy.
Výpočtová schéma modelu PPVE
Základná výpočtová schéma riešenia modelu PPVE je znázornená na obr. 3. Hlavnými vstupmi modelu PPVE sú:
- požadovaný tvar obchodného diagramu (t. j. predpokladaný tvar denného diagramu zaťaženia celej ES) – vstup relevantný najmä v procese prípravy prevádzky VE,
- požadované hodnoty nasadených (bázových) výkonov, respektíve zmeny požadovaných výkonov oproti finálnemu plánu prípravy prevádzky – vstup relevantný najmä v procese operatívneho riadenia prevádzky VE,
- požadované hodnoty podporných služieb (PpS), t. j. primárna regulácia výkonu (PRV) , sekundárna regulácia výkonu (SRV) a terciárna regulácia výkonu (TRV) + a (TRV) –,
- hydroprognostické údaje,
- konštrukčné parametre a limity VE a VD,
- požadovaná manipulácia na VD.
- Hlavnými výstupmi modelu PPVE sú:
- plán nasadeného výkonu a výroby na jednotlivých VE,
- ponuka PpS (zabezpečené hodnoty PRV , SRV , TRV +, TRV –),
- prietokové bilancie na jednotlivých VE a VD,
- hladinový režim v nádržiach alebo zdržiach jednotlivých VE.
Obr. 3 Základná výpočtová schéma Modelu PPVE
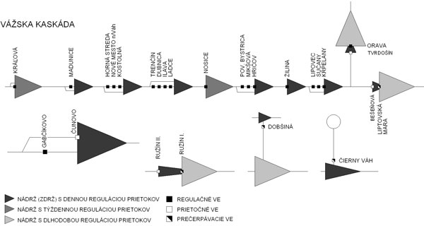
Na obr. 4 je znázornená časť výsledkov výpočtov modelu PPVE (denný plán prevádzky VE Vážskej kaskády z 28. 1. 2008) v prostredí informačného systému na prípravu prevádzky vodných elektrární. Výstupom modelu PPVE do procesu prípravy prevádzky všetkých energetických zdrojov Slovenských elektrární je výrobný plán jednotlivých VE s vyčlenením ich výkonových rezerv na zabezpečenie podporných služieb v časovom rastri 1 hodina. Takýto plán prevádzky je vlastne výsledkom minimalizácie cieľovej funkcie (1), ktorú je nevyhnutné doplniť o obmedzujúce podmienky vychádzajúce z obmedzení v manipulačných poriadkoch vodných diel alebo obmedzení daných konštrukčnými a prevádzkovými parametrami VE.
Obr. 4 Denný plán prevádzky VE Vážskej kaskády z 28. 1. 2008
Na riešenie takto formulovaných úloh možno použiť metódy z oblasti teórie optimálneho riadenia systémov. Jedným z vhodných spôsobov riešenia úlohy je riešenie pomocou kombinácie simulačného modelu a vhodnej metódy optimálneho programovania. Parametre na výpočet hodnôt koeficientov optimalizačných matíc a vektorov obmedzení sa získajú prostredníctvom výpočtov v moduloch modelu PPVE (podľa schémy na obr. 3).
Hydrologický modul poskytuje údaje o riadení prietokov jednotlivými prvkami systému. Jeho úlohou (výstupom) je poskytovať reálne údaje o disponibilných prietokoch vody pre jednotlivé VE so zohľadnením všetkých ovplyvňujúcich faktorov (straty priesakom, výparom, neenergetické odbery vody a podobne). Jeho úlohou je poskytnúť aj údaje o prietokoch v úsekoch medzi jednotlivými VE alebo skupinami VE, ktoré nemajú priamu hydraulickú väzbu, ale významne ovplyvňujú časovú nadväznosť regulovaných prietokov a následne ovplyvňujú nasadzovanie jednotlivých VE v čase (najmä VE Vážskej kaskády). Hydraulický modul poskytuje údaje o spádoch na jednotlivých VE. Navrhovaná štruktúra hydraulického modulu vyplýva z konfigurácie VE. Z hľadiska riešenia hydraulických väzieb a hydraulických strát je modul rozdelený na tieto časti :
- nádrže, respektíve zdrže, pri ktorých je úlohou modulu stanoviť okamžitú polohu hladiny v nádrži alebo okamžitú hodnotu veľkosti zásobného objemu v nádrži,
- kanály vodných elektrární, pri ktorých je úlohou modulu stanoviť hydraulické straty spôsobené prúdením vody v týchto objektoch,
- tlakové privádzače, pri ktorých je úlohou modulu stanoviť hydraulické straty spôsobené prúdením vody v týchto objektoch.
Úlohou transformačného modulu je na základe výsledkov hydrologického a hydraulického modulu previesť transformáciu prietokov (hydrologický modul) a spádov (hydraulický modul) na elektrický výkon. Ďalšou úlohou transformačného modulu je stanovenie vplyvu poskytovania podporných služieb na bilanciu zásobných objemov nádrží (t. j. výpočet prietokových a objemových ekvivalentov k požadovaným hodnotám podporných služieb). Dôležitým faktorom pri hodnotení kvality plánovania prevádzky VE je vzhľadom na náhodný charakter aktivácie PpS (najmä TRV) čo najpresnejší výpočet objemov potrebných na zabezpečenie PpS. Tie sa musia stanoviť tak, aby čo najpresnejšie vystihovali podiel jednotlivých PpS na objemových zmenách disponibilných objemov nádrží, garantovali poskytovanie PpS počas celého plánovacieho obdobia, ale súčasne neobmedzovali regulačnú schopnosť nádrží.
Úlohou optimalizačného a simulačného modulu je samotné riešenie účelovej funkcie (1), a to pomocou simplexovej metódy modifikovanej na riešenie nelineárnych optimalizačných úloh a doplnenej korekčným algoritmom zabezpečujúcim rýchlu konvergenciu k optimálnemu riešeniu. Rozhodujúcim kritériom výberu tejto metódy bola požiadavka na čo najkratší výpočtový čas.
V súčasnosti sa na pracovisku Katedry hydrotechniky Stavebnej fakulty STU v Bratislave preverujú možnosti použitia moderných heuristických metód, ako sú metódy využívajúce princípy neurónových sietí alebo genetických algoritmov. Ich použitím by sa s veľkou pravdepodobnosťou otvorila široká možnosť riešenia multikriteriálnych optimalizačných problémov riadenia prevádzky VE súvisiacich s novými trendmi v plánovaní a obchode s elektrickou energiou, prípadne by sa zvýšila presnosť modelu odstránením zjednodušujúcich linearizácií niektorých matematických opisov fyzikálnych javov.
Záver
Opísaný model prípravy prevádzky a operatívneho riadenia vodných elektrární v elektrizačnej sústave Slovenskej republiky bol v roku 2006 spustený do skúšobnej a v roku 2007 do reálnej prevádzky. Okrem nového vizuálu ponúka množstvo nových funkcií, najmä v oblasti plánovania a poskytovania podporných služieb. Jeho modulárna štruktúra zabezpečuje nezávislý upgrade jednotlivých modulov, čím je zaručená bezproblémová reakcia na nové poznatky v oblasti prevádzky sústavy VE.
Tento článok vznikol na základe finančnej podpory projektov grantovej agentúry VEGA 1/0578/11 a 1/0281/10 a Agentúry na podporu výskumu a vývoja na základe zmluvy č. APVV-0680-10.
TEXT: Ing. Peter Šulek, PhD.
OBRÁZKY: archív autora
Ilustračné foto: prof. Ing. Peter Dušička, PhD.
Peter Šulek pracuje na Katedre hydrotechniky Stavebnej fakulty STU v Bratislave.
Článok bol uverejnený v časopise Inžinierske stavby/Inženýrské stavby.













