Vplyv postupnej betonáže železobetónovej dosky na spojitý spriahnutý trámový most
Voľbe postupu betonáže železobetónových dosiek treba venovať zvýšenú pozornosť, pretože postup a dĺžky jednotlivých betónovacích úsekov významným spôsobom ovplyvňujú priebeh ohybových momentov na spriahnutom tráme.
Postupná betonáž ŽB dosky
Oceľové trámy spriahnutých mostov s väčšími rozpätiami sa dnes často stavajú postupným vysúvaním. Známe sú aj prípady, keď sa vysúval celý spriahnutý most. Od tejto formy montáže sa však v súčasnosti ustupuje. Výroba mostovkovej dosky sa dnes realizuje betónovaním po úsekoch. Používajú sa pritom rôzne postupy betonáže, ktoré majú v prvom rade za cieľ minimalizovať ťahové napätia v betóne pri pôsobení stáleho zaťaženia. Zároveň sa musí pri betónovaní každého úseku a určení vnútorných síl zohľadniť vplyv postupných zmien tuhostí.
Na deformačné reakcie a elastickú odolnosť spriahnutých nosníkov má významný vplyv história zaťaženia. Podľa normy STN EN 1994-2 [1] sa v medznom stave používateľnosti (MSP) musí uvážiť história zaťaženia pri všetkých triedach spriahnutých prierezov, v medznom stave únosnosti (MSÚ) iba pri prierezoch tried 3 a 4. Pri globálnej analýze je potrebné v MSP a MSÚ zohľadniť vplyvy dotvarovania, zmrašťovania a zmeny tuhostí, čo pri postupnej betonáži železobetónových dosiek na spriahnutom trámovom moste v jednotlivých časoch výstavby nie je jednoduché, aj vzhľadom na použitie bežných komerčných programov používaných na Slovensku. V projektantskej praxi nie je dostatok času a priestoru na zohľadnenie postupu betonáže železobetónovej dosky. V bežnej praxi sa preto počíta s tým, akoby betonáž mostovkovej dosky prebehla v jednom čase. Z dôvodu ekonomického návrhu je však potrebné venovať voľbe postupu betonáže železobetónových dosiek zvýšenú pozornosť, pretože postup a dĺžky jednotlivých betónovacích úsekov významným spôsobom ovplyvňujú priebeh ohybových momentov na spriahnutom tráme.
Obr. 1 Konštrukcia spojitého spriahnutého trámového mosta [2]
Numerický príklad – opis konštrukcie mosta
Na zistenie ekonomických, ale aj analytických vplyvov sa skúmal postup betonáže tromi metódami. Vplyv postupu betonáže železobetónovej dosky sa skúmal na zjednodušenom numerickom príklade existujúceho francúzskeho spojitého spriahnutého oceľobetónového trámového mosta (obr. 1) [2] pomocou výpočtového programu SOFiSTiK, ktorý sa vybral ako najvhodnejšie riešenie pre danú problematiku [1P]. Most je priamy a niveleta vodorovná. Vzhľadom na pozdĺžnu os mosta je priečny rez symetrický. Konštrukcia mosta pozostáva z dvoch symetrických oceľových I-prierezov trámov s tromi poľami s dĺžkou 60, 80 a 60 m (t. j. celková dĺžka medzi oporami je 200,0 m) spriahnutých so železobetónovou mostovkovou doskou s celkovou šírkou 12 m.
Obr. 2 Prierez mosta [2]
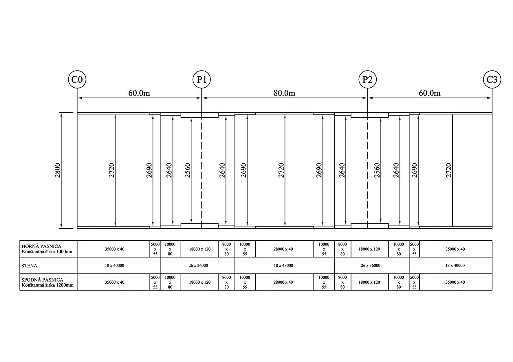
Hrúbka dosky sa mení, nad oceľovými trámami je 0,4 m, na voľnom konci 0,25 m a v strede dosky 0,3075 m. Priečny sklon dosky je sedlový, so sklonom 2,5 % na každú stranu od osi mosta. Osová vzdialenosť medzi oceľovými trámami je 7 m, vyloženie konzol železobetónovej dosky na oboch stranách je 2,5 m (obr. 2). Každý oceľový trám má konštantnú konštrukčnú výšku 2 800 mm, pričom hrúbka hornej a dolnej pásnice je premenná. Spodná pásnica má šírku 1 200 mm a horná 1 000 mm (obr. 4). Oceľová časť je z konštrukčnej ocele S355, betónová doska je navrhnutá z betónu C 35/45. Betonáž železobetónovej dosky prebieha na stavbe podľa zvoleného postupu a vykonáva sa po kompletnom vysunutí oceľových trámov.
Obr. 3 Pohľad na prierez mosta z výpočtového modelu
Obr. 4 Materiálové rozdelenie v rámci dĺžky oceľového trámu [2]
Konštrukčné fázy betonáže dosky (história zaťažovania)
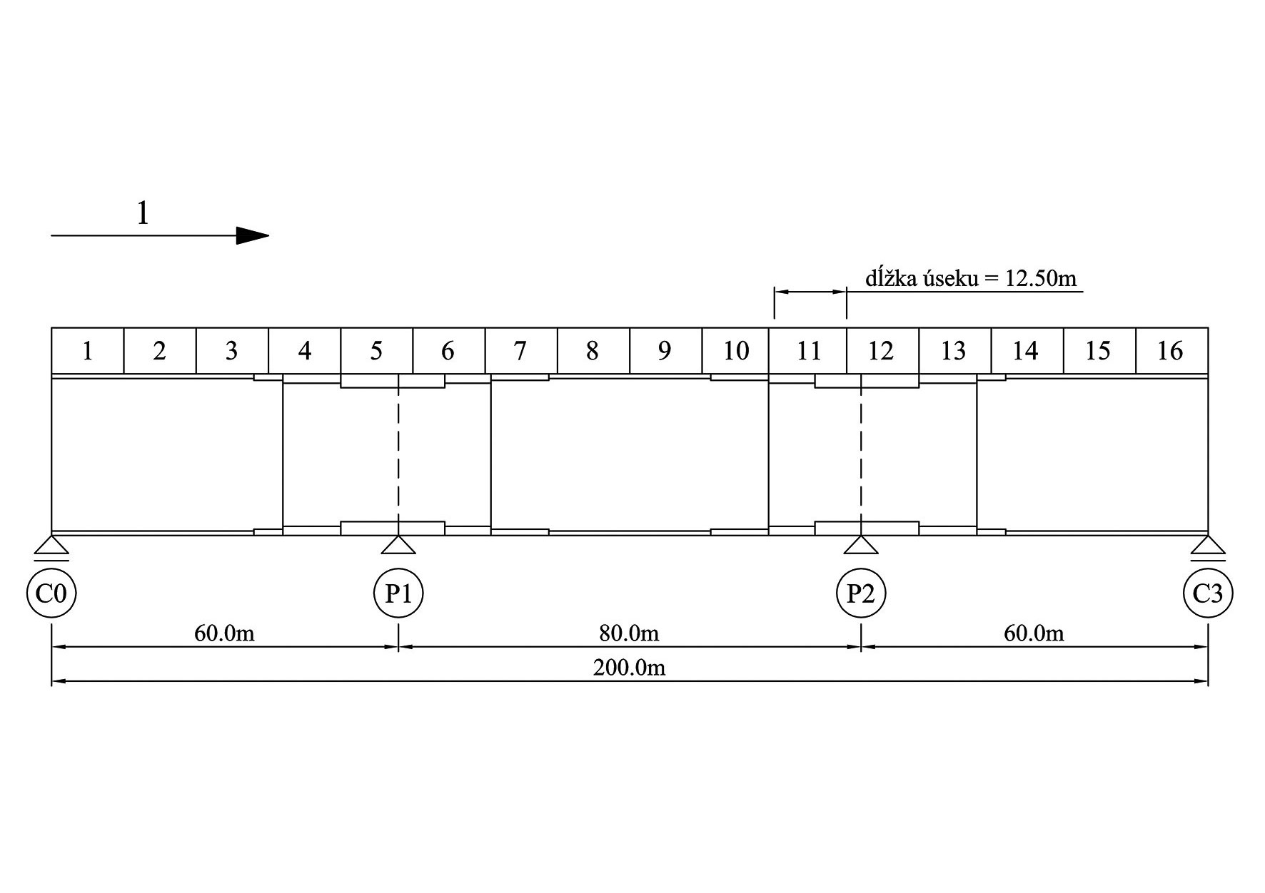
Betonáž segmentov železobetónovej dosky prebieha na stavbe vo zvolenom poradí až po vysunutí oceľovej časti mosta spolu s vystužením betónovej dosky. Celková dĺžka mosta 200 m sa rozdelila na 16 identických betónovacích úsekov (segmentov) s dĺžkou 12,5 m. Úseky sa betónujú v poradí naznačenom na obr. 5 a 6. Pri výpočtoch sa počíta s hodnotou vlastnej tiaže mobilného debnenia na úrovni 2 kN/m2. Začiatok betónovania prvého úseku železobetónovej dosky je v čase t = 0 dní. Takáto definícia je potrebná na určenie príslušných časov (veku betónu) betónových úsekov dosiek počas jednotlivých konštrukčných fáz. Čas potrebný na betonáž jedného úseku železobetónovej dosky sa odhaduje na 3 až 5 pracovných dní (tab. 1). Prvý deň je určený na betónovanie, druhý deň na tvrdnutie a tretí na presun mobilného debnenia. Táto postupnosť rešpektuje požadované dosiahnutie minimálnej pevnosti betónu 20 MPa pred samotným presunom debnenia.
Tab. 1 Vek betónu jednotlivých úsekov železobetónovej dosky na konci ich konštrukčných fáz [2]
Obr. 5 Metóda 1 – poradie betónovania úsekov ŽB dosky
To zabraňuje poškodeniu čiastočne zatvrdnutého betónu, ktorého charakteristiky sú potrebné v neskorších fázach betónovania. Železobetónová doska je dokončená za 66 dní (vrátane víkendov). Predpokladá sa, že kryt a príslušenstvo mosta sa dokončia za ďalších 44 dní tak, aby sa most mohol otvoriť v čase t = 66 + 44 = 110 dní. V tab. 1 je uvedený vek jednotlivých úsekov železobetónovej dosky a takisto priemerná hodnota t0 pre všetky dosky uložené na miesto v každej z konštrukčných etáp. V tomto numerickom príklade sa nepočíta s vlastnou tiažou vozovky a príslušenstva mosta, keďže sa táto analýza zaoberá fázami výstavby pred dokončením vozovky. Vyššie uvedený presný postup betonáže sa použil v rámci Metódy 1 a 2 (obr. 5 a 6). Na porovnanie sa použila aj približná Metóda 3 (obr. 7), v rámci ktorej sa uplatnil článok 5.4.2.2 (3) normy [1], podľa ktorého sa pri stálom zaťažení spriahnutých konštrukcií zhotovovaných v rôznych časových štádiách smie použiť jedna stredná hodnota t0 na stanovenie súčiniteľa dotvarovania. V tomto približnom prístupe sa počíta s časom t0 rovným 35,63 dní (tab. 1).
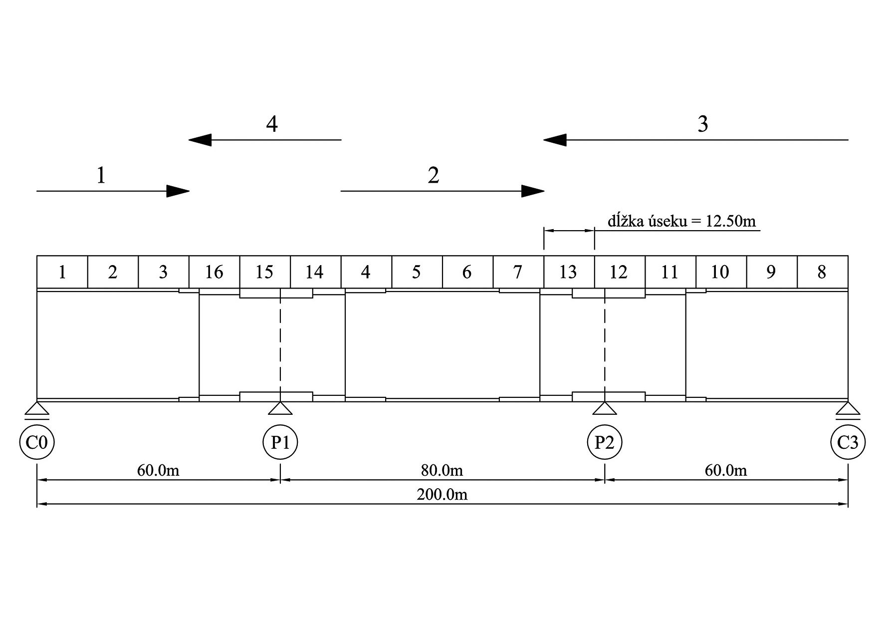
Obr. 6 Metóda 2 – poradie betónovania úsekov ŽB dosky [2]
Obr. 7 Metóda 3 – poradie betónovania úsekov ŽB dosky
Modelovanie mosta na výpočet normálových napätí a deformácií
Z dôvodu zjednodušenia (aj keď to softvér SOFiSTiK FEM nevyžaduje) sa v rámci tohto numerického príkladu prierez mosta modeloval ako jeden 1D trám (nosníkový element) a polovičný prierez dosky. Skutočná doska sa modelovala pomocou dvoch obdĺžnikových plôch, jednej so šírkou 6 m a druhej so šírkou hornej pásnice oceľového trámu, t. j. 1 m. Príslušné výšky e1 a e2 týchto obdĺžnikov sú prepočítané tak, aby mal skutočný a modelovaný (zjednodušený) prierez rovnaké charakteristiky (rovnakú plochu a rovnaké ťažisko). Za tohto predpokladu e1 = 307 mm a e2 = 109 mm. Spolupôsobiaca šírka železobetónovej dosky pozdĺž celého mosta je 6,0 m (obr. 8).
Obr. 8 Model spriahnutého oceľobetónového trámu mosta v programe SOFiSTiK
Počítalo sa s tým, že spriahnutie medzi železobetónovou doskou a oceľovým trámom bolo úplné. Všetky modely a výpočty v jednotlivých fázach výstavby sa uskutočnili vo výpočtovom programe SOFiSTiK [1P], ktorý je založený na metóde konečných prvkov (obr. 9). Vplyv postupnej betonáže železobetónovej dosky sa vypočítal v module Construction Stage Manager (CSM) [1P] podľa obr. 5, 6, 7 a tab. 1. Pri výpočtoch v module CSM sa na nosníkových elementoch uplatnila tzv. Advanced Creep Analysis (depending on stress state) – pokročilá analýza dotvarovania (závislá od stavu napätosti). Hodnoty súčiniteľov dotvarovania betónu v jednotlivých konštrukčných fázach sa vypočítali podľa STN EN 1992-1-1 [3].
Obr. 9 Model postupnej betonáže dosky v programe SOFiSTiK [1P], Metóda 2
Vyhodnotenie výsledkov
Výsledky vo forme maximálnych normálových napätí v železobetónovej doske a na oceľovom tráme spriahnutého prierezu v poli a nad vnútornými podperami v čase uvedenia mosta do prevádzky (t = 110 dní) sú v tab. 2. Hodnoty priehybov v každom poli mosta sú uvedené v tab. 3. Na porovnanie sa s hodnotami vypočítanými pomocou Metódy 2 počítalo ako s referenčnými. Porovnanie Metódy 1 a Metódy 2 ukazuje na skutočnosť, že Metóda 2 je vhodnejšia, pretože redukuje ťahové napätia v železobetónovej doske v oblasti vnútorných podpier. Najnižšie hodnoty ťahových normálových napätí v železobetónovej doske v oblasti vnútorných podpier sa získali pomocou Metódy 3, tento postup však nie je reálny. Metóda 3 dáva menšie hodnoty normálových napätí v železobetónovej doske v porovnaní s Metódou 2, čo je na nebezpečnej strane.
Tab. 2 Maximálne hodnoty normálových napätí v čase t = 110 dní, porovnanie
Normálové napätia na oceľovom tráme získané pomocou Metódy 3 sú (okrem tlakových normálových napätí v poli) na bezpečnej strane. To znamená, že táto metóda sa môže použiť na určenie normálových napätí na oceľovej časti spriahnutého prierezu. Metóda 2 dáva najnižšie hodnoty priehybov v poliach č. 1 a 3 a Metóda 1 vykazuje najnižšie priehyby v poli č. 2. Informáciu o presnom postupe výstavby v štádiu návrhu mosta však projektant vo väčšine prípadov vopred nepozná. Približný postup podľa Eurokódu, využívajúci priemernú hodnotu pre čas t0, vykazuje celkom dobrú zhodu v porovnaní s presnými (ale komplikovanejšími) postupmi. V súčasnosti však už nie je problém využiť vhodné softvérové možnosti na dosiahnutie presnejších výsledkov za oveľa kratší čas.
Tab. 3 Hodnoty priehybov v čase t = 110 dní, porovnanie
Príspevok vznikol s podporou projektu VEGA č. 1/0748/13. Autori by sa radi poďakovali Ing. Kamilovi Lacovi za jeho technickú podporu a ochotu počas výpočtov v programoch od firmy SOFiSTiK.
TEXT: Ing. Tomáš Živner, PhD., doc. Ing. Rudolf Ároch, PhD., Ing. Michal Fábry 
OBRÁZKY: autori
Tomáš Živner, Rudolf Ároch a Michal Fábry pôsobia na Katedre kovových a drevených konštrukcií Stavebnej fakulty STU v Bratislave.
Literatúra
1. STN EN 1994-2: Navrhovanie spriahnutých oceľobetónových konštrukcií, Časť 2: Všeobecné pravidlá a pravidlá pre mosty. SÚTN, február 2009.
2. Eurocodes 3 a 4. Application to steel-concrete composite road bridges. Guidance book. Sétra. 
Júl 2007. Reference: 0720A – ISRN: EQ-SETRA–07-ED31–FR+ENG.
3. STN EN 1992-1-1: Navrhovanie betónových konštrukcií, Časť 1-1: Všeobecné pravidlá a pravidlá pre budovy. SÚTN, júl 2006.
Výpočtové programy
1P. SOFiSTiK, verzia: 14.11 – 30, © 2004 – 2015, SOFiSTiK AG, www.sofistik.com.
Článok bol uverejnený v časopise Inžinierske stavby/Inženýrské stavby
 
													 
								                            







![Obr. 1  Konštrukcia spojitého spriahnutého trámového mosta [2]](/wp-content/uploads/images/fotogaleria/fotogalerie/inzinierske_stavby/vplyv_postupnej_betonaze_zelezobetonovej_dosky_na_spojity_spriahnuty_tramovy_most_foto/01-Konstrukcia-mosta.jpg)
![Obr. 2  Prierez mosta [2]](/wp-content/uploads/images/fotogaleria/fotogalerie/inzinierske_stavby/vplyv_postupnej_betonaze_zelezobetonovej_dosky_na_spojity_spriahnuty_tramovy_most_foto/02-Priecny-rez.jpg)

![Obr. 4  Materiálové rozdelenie v rámci dĺžky oceľového trámu [2]](/wp-content/uploads/images/fotogaleria/fotogalerie/inzinierske_stavby/vplyv_postupnej_betonaze_zelezobetonovej_dosky_na_spojity_spriahnuty_tramovy_most_foto/04-Hlavny-nosnik.jpg)
![Tab. 1  Vek betónu jednotlivých úsekov železobetónovej dosky na konci ich konštrukčných fáz [2]](/wp-content/uploads/images/fotogaleria/fotogalerie/inzinierske_stavby/vplyv_postupnej_betonaze_zelezobetonovej_dosky_na_spojity_spriahnuty_tramovy_most_foto/t1.jpg)

![Obr. 6  Metóda 2 – poradie betónovania úsekov ŽB dosky [2]](/wp-content/uploads/images/fotogaleria/fotogalerie/inzinierske_stavby/vplyv_postupnej_betonaze_zelezobetonovej_dosky_na_spojity_spriahnuty_tramovy_most_foto/06-Metoda-2.jpg)


![Obr. 9  Model postupnej betonáže dosky v programe SOFiSTiK [1P], Metóda 2](/wp-content/uploads/images/fotogaleria/fotogalerie/inzinierske_stavby/vplyv_postupnej_betonaze_zelezobetonovej_dosky_na_spojity_spriahnuty_tramovy_most_foto/09-Betonaz-dosky_metoda_3.jpg)


 
						 
						 
						 
						



 
					 
					 
					 
					 
					 
					 
					 
					 
					 
					 
					 
					 
					 
					 
					 
					 
					 
					 
					 
								 
								 
								 
								 
								