Mostné objekty na budovaných úsekoch rýchlostnej cesty R1, 2. časť
V nadväznosti na prvú časť článku, uverejnenú v predchádzajúcom čísle Inžinierskych stavieb 2/2011, vám v tejto časti príspevku chceme predstaviť niektoré mostné objekty na II. úseku rýchlostnej cesty R1 Selenec – Beladice. Okrem spojitých, prefabrikovaných nosných konštrukcií z tyčových predpätých nosníkov, respektíve prefabrikovaných železobetónových klenbových konštrukcií, sú na tomto úseku realizované nosné monolitické predpäté konštrukcie budované na pevnej podpornej skruži, výsuvných skružiach, ako aj technológiou letmej montáže.
Most na R1 nad údolím a poľnou cestou v km 1,586 (objekt 202-00)Most je navrhnutý ako dva súbežné mosty dĺžky 376 m. Nosná konštrukcia je spojitá, dvojtrámová z monolitického dodatočne predpätého betónu, budovaná na spodnej výsuvnej skruži. Mostný objekt má jedenásť polí s rozpätiami 25 + 9 × 36 + 25 m. Piliere mosta sú dvojstojkové na spoločnom základe. Stojky piliera majú osemuholníkový tvar so základným rozmerom 1,5 × 1,8 m a skosením hrán 0,8 × 0,15 m. Osová vzdialenosť stojok pilierov je 6,0 m. Maximálna výška driekov pilierov je 15,7 m. Drieky pilierov sú z betónu C 30/37.
Založenie pilierov a krajných opôr je na veľkopriemerových pilótach s priemerom 900 mm. Nosnú konštrukciu v priečnom reze tvorí sústava dvoch trámov a hornej mostovkovej dosky v šírke 12,15 m. Osová vzdialenosť trámov je 6,0 m, výška nosnej konštrukcie 2,1 m. Vyloženie konzol je 2,46, respektíve 2,44 m. Hrúbka dosky v strede medzi trámami je 0,3 m. Konštrukcia je z predpätého betónu C30/37. Budovanie nosnej konštrukcie je po etapách systémom pole – konzola s dĺžkou konzoly 7,0 m.
Priečny rez (objekt 202-00)
Pozdĺžny rez (objekt 202-00)
Most na R1 nad údolím, cestou III/06434, potokom Kadaň a poľnou cestou v km 3,344 (objekt 203-00)
Premostenie je tvorené dvomi samostatnými mostmi s oddelenou spodnou stavbou. Každý most má 14 polí s rozpätiami 33,5 + 48 + 9 × 61 + 2 × 48 + 33,5 m. Celková dĺžka nosnej konštrukcie je 787,0 m a vytvára jeden dilatačný celok. Jej šírka je 2 × 12,25 m. Nosná konštrukcia je navrhnutá ako priečne delená konštrukcia zo segmentov, budovaná pomocou montážneho zariadenia – letmou montážou so symetrickými vahadlami. Podopretie vahadla v priebehu montáže je zaistené štvoricou hydraulických lisov osadených na rozšírenej hlavici pilierov.
Pozdĺžny rez (objekt 203-00)
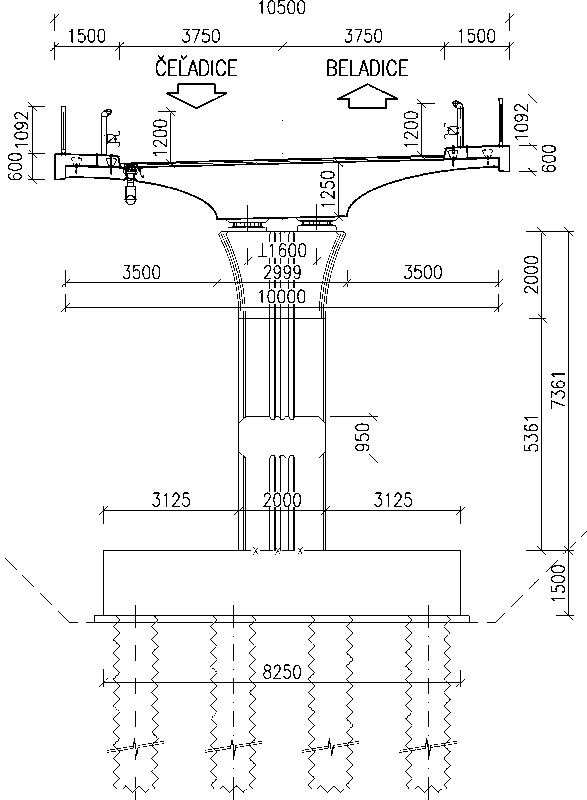
Piliere sú navrhnuté s priečnym rezom v tvare širokostenného H vonkajších rozmerov 3,8 × 3,4 m s rozšírenou hlavicou. Hlavica pilierov musí okrem uloženia definitívnych ložísk umožniť tiež uloženie štvorici montážnych lisov počas výstavby s únosnosťou 10 MN. Maximálna výška pilierov je 28,45 m. Založenie pilierov je na veľkopriemerových pilotách s priemerom 900 mm a dĺžkou 12 až 19 m. Krajné opory sú navrhnuté ako úložné prahy založené na veľkopriemerových pilótach s dĺžkou 25 m.
Priečny rez (objekt 203-00)
Typické vahadlo má pilierový segment a 2 × 13 bežných segmentov. Segmenty majú výšku 3,0 m. Dĺžka pilierových segmentov je 1,7 m. Ostatné majú dĺžku 2,23 m. Segmenty sú z betónu C45/55. Pilierové segmenty a prvé susedné sú z betónu C55/67. Pozdĺžne predpätie je navrhnuté súdržnými 19-lanovými káblami s priemerom 15,7 mm 1570/1770 MPa s veľmi nízkou relaxáciou. Škáry medzi segmentmi sa vypĺňajú tmelom na epoxidovej báze.
![]() |
![]() |
Most na R1 nad údolím, cestou III/0655 a poľnou cestou v km 4,789 (objekt 204-00)
Mostný objekt tvoria dve samostatné súbežné konštrukcie. Nosná konštrukcia je navrhnutá ako spojitá konštrukcia z predpätých tyčových prefabrikátov, ktoré sa ukladajú na priečnikové prefabrikáty a sú zmonolitnené dobetónovaním priečnikov a železobetónovej spriahujúcej dosky. Rozpätie jednotlivých polí je na pravom aj ľavom moste rovnaké, a to 21,0 + 14 × 32,5 + 21,0 m. Celková dĺžka nosnej konštrukcie je 499 m.
Pozdĺžny rez (objekt 204-00)
Medziľahlé podpery sú riešené ako dvojica samostatných pilierov s prierezom nepravidelného osemuholníka. Piliere sú votknuté do železobetónových pätiek založených na veľkopriemerových pilótach s priemerom 900 mm. Krajné opory č. 1 a 17 sú navrhnuté ako železobetónové úložné prahy so zavesenými krídlami, založené na veľkopriemerových pilótach.
Priečny rez (objekt 204-00)
Betón prefabrikovaných predpätých nosníkov je C45/55. Priečnikové prefabrikáty v tvare obráteného T sú z betónu C35/40. Nosná konštrukcia je uložená na každú oporu cez dvojicu hrncových ložísk. Pevné uloženie je na dvoch pilieroch v strede mosta. Postup výstavby nosnej konštrukcie je od stredu mosta smerom ku krajným poliam.
Most na R1 nad údolím, Hosťoveckým potokom a poľnou cestou v km 6,423 (objekt 205-00)
Mostný objekt má dĺžku 975 m a je najdlhším mostom v rámci štyroch stavieb, ktoré sú súčasťou PPP projektu. Konštrukcia mosta je navrhnutá na plný profil rýchlostnej cesty so šírkou 25,66 m. Most je 17-poľový spojitý nosník s rozpätiami 33 + 42 + 45 + 48 + 9 × 69 + 48 + 45 + 42 + 33 m. Nosná konštrukcia z predpätého betónu je v priečnom reze tvorená monolitickou komorou s obojstrannými prefabrikovanými vzperami a spriahnutou mostovkovou doskou. Konštrukcia tohto objektu, ako aj spôsob výstavby mosta boli opísané v predchádzajúcom čísle Inžinierskych stavieb v článku Most přes Hosťovský potok na rychlostní komunikaci R1, úsek Selenec – Beladice.
![]() |
![]() |
–>–>

Mostný objekt je jeden z dvoch nadjazdov nad rýchlostnou cestou v tomto úseku. Nosná konštrukcia bola systémovo navrhnutá jednotne pre obidva nadjazdy s úmyslom zabezpečiť jednotnosť pohľadovo exponovaných konštrukcií. Prierez nosnej konštrukcie je navrhnutý ako plná priamopásová doska s obojstrannými konzolami s nábehom v krivosti štvrťelipsy. Aj piliere spodnej stavby sú tvarovo jednotné pre obidva nadjazdy. Mostný objekt je päťpoľová spojitá konštrukcia z predpätého betónu s rozpätiami polí 16 + 23 + 24 + 20 + 14,5 m. Celková dĺžka konštrukcie je 99,4 m. Šírka nosnej konštrukcie je 10,06 až 10,4 m, pričom spodná časť dosky má šírku 3,0 m. Konštrukcia bola budovaná vo dvoch etapách na pevnej podpornej skruži.
![]() |
![]() |
Most nad R1 a potokom Bocegaj na ceste III/0653 v km 11,014 R1 (objekt 208-00)
Druhým nadjazdom v opisovanom úseku je most prekonávajúci rýchlostnú cestu a potok Bocegaj. Nosná konštrukcia je navrhnutá ako 7-poľová monolitická spojitá doska z predpätého betónu. Dĺžka rozpätí jednotlivých polí je 16,1 + 5 × 26 + 16,1 m. Celková dĺžka nosnej konštrukcie je 166,3 m.
![]() |
![]() |
| Priečny rez (objekt 206-00) | Priečny rez (objekt 208-00) |
Mostné objekty projekčne spracovali spoločnosti DOPRAVOPROJEKT, a. s., Bratislava (objekt 202-00 – zodpovedný projektant Ing. Jana Kapsiarová, objekt 204-00 – zodpovedný projektant Ing. Ján Kročka, objekt 208-00 – zodpovedný projektant Ing. Vladimír Grigar), Pontex, s. r. o., Praha (objekt 203-00 – zodpovedný projektant Ing. Václav Kvasnička), Stráský, Hustý a partneři, s. r. o., Brno (objekt 205-00 – zodpovedný projektant Ing. Petr Novotný) a Cemos, s. r. o., Bratislava (objekt 206-00 – zodpovedný projektant Ing. Gabriel Meždej).
![]() |
![]() |
Pozdĺžny rez (objekt 208-00)
TEXT: Ing. Jaroslav Guoth
FOTO: DOPRAVOPROJEKT
Jaroslav Guoth je vedúcim strediska Liptovský Mikuláš spoločnosti DOPRAVOPROJEKT, a. s.
Článok bol uverejnený v časopise Inžinierske stavby/Inženýrské stavby.




























