Využitie technológie Mixed-in-place v zakladaní stavieb
Jednou z technológií, ktoré sa využívajú pri zakladaní stavieb už aj na Slovensku, je Mixed-in-place (MIP). Jej princípom je hĺbkové miešanie zemín s hydratačnými prísadami a využíva sa najmä pri zakladaní v ílovitých aj štrkovitých zeminách. Tejto metóde predchádzali rôzne spôsoby povrchového miešania zemín rôznych druhov alebo zemín s prísadami, ktoré sú známe pod názvom stabilizácia zemín.
Vývoj metódy
Hĺbkovým miešaním zemín s prísadami sa zlepšujú, predovšetkým spevňujú zeminy do požadovanej hĺbky. Začiatky tejto metódy možno hľadať pred viac ako 50 rokmi v krajinách, kde v podloží prevládali mäkké jemnozrnné zeminy [5]. Po prvých skúsenostiach upadli rozvíjajúce sa pokusy do zabudnutia a priemyselné využitie nastalo až začiatkom 80. rokov 20. storočia.
Koniec tohto storočia sa niesol v znamení prudkého technologického rozvoja. Vzniklo niekoľko druhov podobných typov zariadení, ktoré značne rozšírili sortiment používania. Pokrok sa premietol do technologických úprav. Návrhové postupy sa opierajú predovšetkým o experimentálne zistené hodnoty na realizovaných stavbách, pričom sa vychádza z tradičných výpočtových postupov, ktoré však slúžia iba ako orientačná pomôcka.
Zlepšovanie ílovitých zemín
Základnou myšlienkou technológie Mixed-in-place v ílovitých zeminách je pridávanie a zároveň premiešanie hydratačných spojív s pôvodnou zeminou. Rozvoj tejto technológie takisto súvisel so zakladaním násypov dopravných stavieb na lokalitách, kde bolo potrebné zlepšiť vlastnosti mäkkých ílovitých zemín.
Vyvinuli sa dva postupy:
- miešanie relatívne tenkej vrstvy pri povrchu terénu (tzv. stabilizácia zeminy),
- vytváranie vertikálnych prvkov (pilierov) podobných pilótam.

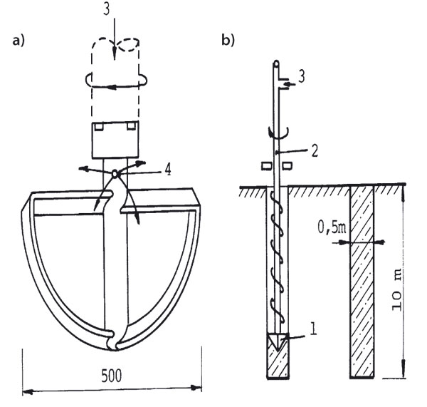
Vápenné pilóty sa vyrábajú tak, že do podložia sa zavŕtava špeciálne upravená hlavica (šľahač) s priemerom 0,5 m (obr. 1) do hĺbky najviac 10 m (v špeciálnej úprave 15 m). Po dosiahnutí projektovanej hĺbky sa cez duté sútyčie vháňa k hlavici pod tlakom vzduchu až 0,7 MPa práškové nehasené vápno. Zároveň sa hlavica vyťahuje a pomaly spätne otáča, čím premiešava vápno s ílom. Výhodou celého postupu je, že netreba odvážať vyťaženú zeminu. Zvyčajná spotreba vápna je 10 až 20 kg na 1 meter hotovej pilóty. Je to približne 3 až 8 % objemu zeminy. Počas zavŕtavania postupuje hlavica rýchlosťou až 10 m za 1 minútu. Vyťahovanie, spojené s miešaním, je pomalšie. Špičkovým výkonom je zhotovenie 1 m pilóty za 1 minútu. Vápenné pilóty sa obvykle umiestňujú do trojuholníkovej siete vo vzdialenosti 1 až 2 m.
Pevnosť vápennej pilóty sa zvyšuje postupne s prebiehajúcimi chemickými reakciami. Na naštartovanie procesu a pozvoľné spevňovanie postačuje voda nachádzajúca sa v póroch ílovitej zeminy. Po jednom mesiaci sa zvyčajne zvýši pevnosť 10- až 20-násobne oproti pevnosti pôvodnej zeminy. Veľakrát už po dvoch mesiacoch prevyšuje pevnosť vápennej pilóty 50 % jej konečnej pevnosti, ktorá sa dosiahne po 3 až 5 rokoch.

ccel = c (1 – Ap) + cp Ap (1)
kde ccel je celková súdržnosť so zarátaním vplyvu vápenného piliera,
c – súdržnosť zlepšovanej zeminy,
cp – šmyková pevnosť vápenného piliera,
Ap – plocha priečneho rezu vápenného piliera.

Na podmienenosť vývoja optimalizácie spojiva laboratórnymi experimentmi poukazuje [4]. Kým v roku 1975 sa používalo výlučne iba vápno, okolo roku 1987 dosiahol podiel cementu takmer 30 % a postupne sa presadila zmes vápna a cementu, ktorá od roku 1993 prakticky stopercentne dominuje. Pokusmi sa preukázalo, že výsledná pevnosť stabilizovanej ílovitej zeminy je daná pôsobením vodného súčiniteľa vyjadreného v % (w/c), obsahom organických látok a množstvom ílových minerálov. Pevnosť hotových prvkov je lineárne závislá od použitého množstva spojiva.
K výhodám metódy Mixed-in-place patrí rýchle zhotovenie, nízka hladina hluku a vibrácií pri výrobe, v prípade potreby možnosť rýchleho nasadenia na mieste a dodatočná možnosť zlepšenia zeminy. Pozornosť si zaslúži aj cenová prístupnosť, ktorá sa zvyčajne v zahraničí pohybuje v rozpätí 50 až 85 €/m3.

Miešanie štrkovitých zemín
Druhou oblasťou, ktorá rýchlo napreduje, je nahrádzanie tradičných pažení stenami vytvorenými miešaním cementu (prípadne cementového mlieka) so zeminou. Základnou podmienkou je, aby sa v hĺbkovom dosahu metódy nachádzali štrkovité zeminy.
Postup pri zhotovení tesniacej alebo konštrukčnej pažiacej steny je znázornený na obr. 3. Najprv sa vyhĺbi ryha hlboká 0,3 až 0,5 m a široká ako miešacie zariadenie. Vŕtacie a zároveň miešacie zariadenie pozostávajúce zo skupiny troch špirálových vrtákov sa nastaví do osi steny. Pri hĺbení rotačným spôsobom sa kontinuálne pridáva samotvrdnúca cementová suspenzia a dva vonkajšie vrtáky sa pohybujú rovnakým smerom. Rýchlosť otáčania vrtákov a množstvo vtláčanej zmesi sa nastavia tak, aby sa na povrch terénu nedostávala prebytočná suspenzia. Po dosiahnutí požadovanej hĺbky sa miešacie zariadenie vytiahne z podložia, pričom sa vtláča ešte toľko suspenzie, aby sa vyplnil priestor po vrtákoch.
Obr. 3: Postupnosť zhotovenia pažiacej steny
Primárne zábery (široké väčšinou 1 m a hrubé 0,4 m) sa pravidelne striedajú so sekundárnymi, až sa zhotoví súvislá pažiaca stena (obr. 4). Dôležité je statické pôsobenie celej konštrukcie. Do čerstvej zmesi sa vsunú alebo zavibrujú oceľové valcované nosníky (zvyčajne dvojica I-profilov na vzdialenosť približne 2 m), medzi ktoré sa ešte umiestnia kotvy. Dosiahne sa tak klenbový efekt – vodorovné zaťaženie od zeminy sa prenáša zeminovou klenbou priamo do oceľových nosníkov a z nich do kotiev. Detail miešacích vrtákov je na obr. 5 a obnažená lamela steny na obr. 6. Existuje viacero variantov miešacích hlavíc. Úsek hotovej pažiacej steny zhotovenej jedným vrtákom je na obr. 7, detail vŕtacej a miešacej hlavice na obr. 8.
![]() |
![]() |
| Obr. 7: Ukážka hotovej pažiacej steny zhotovenej jedným vrtákom | Obr. 8: Detail vŕtacej a miešacej hlavice |
Záver
Podľa skúseností v zahraničí sa metóda Mixed-in-place používa v kvartérnych štrkovitých zeminách na paženie stavebných jám hlbokých do 8 m a v prípade vhodných geologických podmienok ju možno uplatniť aj u nás. Treba sa však poradiť s geotechnikom alebo špecializovanou firmou, aby sa predišlo neskorším problémom.
prof. Ing. Peter Turček, PhD.
Foto: archív autora, Assarson, Bauer, Porbaha
Príspevok je jedným z výstupov grantovej úlohy agentúry VEGA č. 1/3320/06 pod názvom Interakcia vybratých geotechnických konštrukcií s horninovým prostredím.
Autor pracuje na Katedre geotechniky Stavebnej fakulty STU v Bratislave. Zameriava sa na široké spektrum stabilitných problémov v oblasti geotechniky. Osobitnú pozornosť venuje zakladaniu halových objektov a zabezpečovaniu stability hlbokých stavebných jám.
Literatúra
1. Assarson, K. G. – Broms, B. – Granholm, S. – Paus, K.: Deep stabilization of soft cohesive soils. Linden-Alimak. 1977, 49 s.
2. Day, S. R. – Ryan, C. R.: Containment, stabilization and treatment of contaminated soil using in-situ soil mixing. Geoenvironment: 2000.
3. Porbaha, A.: Swedisch research report on soil stabilization. Research notes. GRG, Vol. 1, No. 5, 04/2003.
4. Rathmayer, H. G. – Valasti, P.: Deep mixing methods for subsoil improvement in the Nordic coutries. In: Proc. of the 14th ECSMGE. Vol. 1, 2007, s. 161 – 171.
5. Tabbaa, A.: Soil mixing – Overview – current practice and needs. Cambridge: 2002.
Článok bol uverejnený v časopise Stavebné materiály.














