Montované obklady z prírodného kameňa
Prírodný kameň patrí medzi najstaršie stavebné materiály, ktorý sa pre svoje dobré vlastnosti používa dodnes. Medzi jeho výhodné vlastnosti patria najmä vysoká pevnosť, malá nasiakavosť, dobrá mrazuvzdornosť a trvanlivosť. Vyžaduje len minimálnu údržbu a dobre tlmí hluk. Nevýhodou prírodného kameňa je jeho veľká objemová hmotnosť, malá tepelnoizolačná schopnosť a ťažká opracovateľnosť.
Materiál na kamenné obklady
Podľa pôvodu sa horniny, z ktorých sa vyrábajú obkladové platne, delia na:
- vyvreté (vznikli kryštalizáciou magmy),
- usadené (vznikli znovuusadením materiálov rozrušených mechanicky, chemicky, zvetraním alebo ich znovuvyzrážaním),
- metamorfované (vznikli fyzikálno-mechanickými premenami vyvretých a usadených hornín).
Výsledok postupnosti vo vzniku jednotlivých horninotvorných minerálov charakterizuje ich štruktúru, ktorá vyjadruje veľkosť, tvar a vývoj nerastných častíc, a textúru, teda priestorové usporiadanie minerálov v hornine.
Od štruktúry a textúry hornín potom závisí ich praktický význam pre kamenársku výrobu.
Na výrobu obkladových prvkov z prírodného kameňa sa používajú kamene:
- tvrdé s hrúbkou 30 mm (jemnozrnné a hrubozrnné žuly, syenity, gabrá, diority, andezity a ryolity),
- stredne tvrdé s hrúbkou 25 mm (vápence, mramory, travertíny),
- mäkké s hrúbkou 40 mm (pieskovce, trachyty).
Pri obkladoch s hrubým povrchom musí byť hrúbka platne väčšia ako 60 mm.
Kamenné obklady podľa hrúbky triedime na:
- masívne (s hrúbkou > 100 mm),
- platňové (s hrúbkou 20 až 100 mm),
- tenkostenné (s hrúbkou < 20 mm).
Povrchová úprava kamenných obkladov

- lámané plochy sa robia klinovaním, rozpájaním kamenného bloku na menšie časti podľa prirodzenej deliacej plochy (pretĺkaná, štiepaná a bosovaná plocha),
- hrubé plochy vznikajú ďalším opracovaním povrchu kameňa do určitého tvaru (trhaná, špicovaná, zúbkovaná, zrnovaná a preryhovaná plocha),
- plasticky zvýraznené plochy majú dekoračne tvarovaný povrch (brázdená, rázovaná, ostrekovaná a kanelovaná plocha),
- drsné plochy sa od hrubých líšia zreteľným riadkom usporiadania nerovností vytvárajúcich pravidelné skupiny alebo rady (ryhovaná a zrnovaná plocha),
- hladké brúsené plochy sa brúsia v závislosti od tvrdosti a skladby horniny (pri tvrdých kameňoch je šesť stupňov a pri mäkkých štyri stupne brúsenia povrchu),
- leštené plochy nemajú mať väčšie nerovnosti ako 0,1 mm, odrážajú svetelné lúče, farba leštených plôch kameňa je jasnejšia a sýtejšia.
Kamenné platne hrubé 60 mm a viac môžu byť špicované alebo zrnované. Platne z pieskovca, opuky, neleštiteľných vápencov, mramorov, ónyxov, travertínov a podobne môžu byť ryhované alebo rázované. Platne s menšou hrúbkou ako 60 mm by nemali mať povrchovú úpravu špicovanú, zrnovanú alebo ryhovanú, vhodnejšia je rezaná povrchová plocha.
Novú technológiu kamenných obkladov predstavujú TF panely, ktoré sú z mramorových alebo granitových platní s hrúbkou 5 mm spojených s nosnou voštinovou platňou. Takéto obkladové platne majú hrúbku 11 až 35 mm (v závislosti od požadovanej tuhosti) a hmotnosť iba 16 kg/m2. Podľa vyťaženého bloku môžu mať maximálne rozmery až 1 500 × 3 000 mm. TF panely sú veľmi pevné v lome, deväťkrát pevnejšie ako prírodné kamenné platne a dajú sa konkávne ohnúť. Takýto obklad možno ľahko transportovať, dobre sa s ním manipuluje a rýchlejšie sa montuje.
Spôsoby obkladania fasád z kameňa

Používajú sa tri spôsoby obkladania fasád z prírodného kameňa:
- tuhý obklad s maltovou (cementovou) zálievkou a kotvami – klasické obkladanie tradičným spôsobom,
- kotvenie pomocou kotiev a maltových terčov (alebo pásov); maltové terče pritom nemajú nosnú funkciu,
- kotvenie suchým spôsobom sa v súčasnosti používa najviac.
Dilatácie kamenných obkladov
Pre vplyv objemových zmien vyvolaným rozdielom teplôt sa musia v kamennom obklade navrhovať dilatačné škáry. Najmenšia šírka dilatačnej škáry sa má rovnať aspoň dvojnásobku najväčšieho predĺženia dĺžky dilatačného poľa (dilatačného prvku). Najväčšie odporúčané vzdialenosti dilatačných škár vertikálnych kamenných obkladov sú v tab. 1.
Tab. 1: Najväčšie odporúčané vzdialenosti dilatačných škár vertikálnych kamenných obkladov
Okrem dilatačných škár treba v závislosti od dĺžky dilatačného poľa navrhovať doplnkové dilatačné škáry v miestach styku prírodného kameňa s iným stavebným materiálom, styku dvoch dilatačne rozdielnych materiálov, pri ukončení obkladu a pri zmene tvaru obkladu.
Dilatačné škáry môžu byť otvorené alebo uzavreté (vyplnené látkami), ktoré umožňujú dilatačný posun, musia byť vždy pružné a nesmú vytekať zo škár a tvoriť škvrny. Dilatačné škáry obkladu sa majú zhodovať s dilatačnými škárami nosnej konštrukcie a pri vertikálnych a horizontálnych posunoch prebiehať v jednej rovine. Pri horizontálnych posunoch spôsobených objemovými zmenami vyvolanými rozdielom teplôt môže byť dilatačná škára obkladu zalomená a nemusí prebiehať v jednej rovine s dilatačnou škárou objektu.
Tab. 2: Šírka škár podľa STN 73 3251
Škáry montovaných kamenných obkladov

Podľa úpravy pri kamenných obkladoch rozoznávame škáry:
- priznané (konštrukčné),
- potlačené (neuplatňujú sa farbou, tieňom, tvarom),
- zvýraznené (farbou, tvarovaním kameňa, profiláciou),
- nepravé (sú vyjadrené profiláciou, ale nepokračujú do vnútra obkladu).
Použitím rôzne upravených škár sa architektovi ponúka veľa možností, ako zámerne ovplyvniť výsledný vzhľad kamenného obkladu. Šírka škár podľa STN 73 3251 je uvedená v tab. 2.
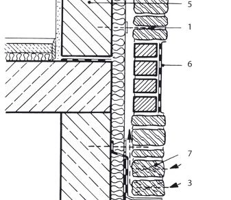
Kotvenie obkladov z veľkých obkladových platní suchým spôsobom je vhodné riešiť tak, aby mala každá platňa samostatne dovolený posun; potom musia byť škáry riešené ako pružné.
Pri kotvení obkladu suchým spôsobom kotva v závislosti od jej vyloženia a únosnosti umožňuje malé posuny. Preto je vhodné riešiť škáry pri obkladoch kladených suchým spôsobom ako pružné, s dovoleným posunom zabezpečujúcim statickú schému prostého nosníka v kotvení.
Pružne riešená škára sa môže upraviť viacerými spôsobmi, ktoré sa uplatňujú:
- v navŕtanom otvore na umiestnenie závlačky kotvy, ktorý sa vyplní:
- trvalo pružným tmelom,
- pružným obložením závlačky,
- rozpernou kotvou z PVC, ktorá sa do otvoru nasunie a umožňuje posun závlačky;
- medzi kamennými platňami:
- utesnením trvalo plastickým tmelom doplneným pružným materiálom (mikropórovitou gumou, stočenými vláknami),
- pružnými hliníkovými profilmi,
- v ponechaním otvorenej škáry a zabezpečením odvodu vody na zadnú stranu obkladu, aby sa na obklade v pohľade nevytvárali šmuhy a škvrny.
Pri obkladoch kotvených suchým spôsobom sa používa priame kotvenie alebo kotvenie pomocou roštov a kotiev.

Kotvenie kamenného obkladu priamo kotvami je náročné na pripevnenie kotiev, ktoré nesú celú hmotnosť obkladu. Pôsobí na ne tlak (kompresia), sanie (aspirácia) vetra, mechanické namáhanie, teplotný rozkyv, musia zabezpečovať polohu obkladu a vyrovnávať tolerancie. Fasády z prírodného kameňa preto vyžadujú bezpečné a flexibilné kotviace systémy. Každú dosku musia niesť minimálne dve kotvy, na mieste ich pôsobenia je vytvorený kĺb, ďalšie dve kotvy dosku prichytávajú a zabezpečujú posuvné uloženie. Potom každá platňa tvorí samostatný dilatačný celok. Kotvy možno navrhnúť na mieste horizontálnych alebo vertikálnych škár.
Kotvy (príchytky, rozperky, tŕne) musia byť z nehrdzavejúceho materiálu. Dnes sa používajú kotvy pozinkované alebo z nehrdzavejúcich legovaných ocelí (obsahujú najmenej 12 % chrómu), zriedka hliníkové, keďže majú nedostatočnú únosnosť. Na obklady zhotovované suchým spôsobom sa u nás používajú oceľové kotvy, pričom tŕň je v kotve pevne privarený. Únosnosť kotvy závisí od únosnosti samotnej kotvy a jej únosnosti vo votknutí do podkladovej konštrukcie.
Otvory na kotvy v podkladovej konštrukcii majú kruhový prierez a musia mať najmenší priemer 24 mm (okrem pórobetónu, kde je najmenší priemer 40 mm) a najväčší 50 mm. Otvory na kotvy a príchytky v nosnej konštrukcii majú byť o 15 mm hlbšie, ako je dĺžka votknutia.

Pri veľkých platniach sa na zabezpečenie dilatácie musia používať konštrukcie kotiev zložených z niekoľkých častí, ktoré sa môžu vzájomne voľne pohybovať v jednom alebo vo viacerých smeroch, čo sa využíva pri vyrovnávaní tolerancií medzi vyžadovanou rovinou a tolerančnými výchylkami nosnej konštrukcie obvodového plášťa.

Otvory v platniach z mäkkých kameňov (z opuky, pieskovca, mramoru, vápenca) majú byť najmenej 5 mm od líca, v platniach z tvrdých kameňov (zo žuly, syenitu) najmenej 10 mm od líca. Vhodné je, aby boli v prednej časti hrúbky platne. Otvory na tŕne majú byť najmenej 50 mm od kolmej hrany obkladu.
Záver
Pri obkladaní fasád kamennými platňami treba dbať predovšetkým na to, aby sa pevne pripojili platne k podkladu. Na obkladanie soklov sa používajú malé kvádre z opuky, jemnozrnného pieskovca alebo zo žuly. Na obkladanie väčších plôch sa používajú mramory, travertíny, žuly, vápence, pieskovce, syenity, porfýry a podobne S obkladaním sa začína až po skončení sadania objektu, aby sa obklad nepoškodil.
Výňatok z publikácie Fučila, J. – Szomolányiová, K.: Montované prvky. Bratislava: JAGA GROUP, s. r. o., 2005.













