Metalická fasáda na uhlovú stojatú drážku
Uplatnenie metalických fasád je v súčasnej architektúre bez pochybností trendom. Aplikáciou systémov tradičnej klampiarskej techniky má riešiteľ projektu takmer neobmedzené možnosti stvárnenia fasády.

Opláštenie na uhlovú stojatú drážku (ďalej skratka USD) sa rieši ako zozadu odvetraná zavesená fasáda. Pri návrhu treba myslieť na dostatočne širokú a hlavne priebežnú vzduchovú medzeru. Voľný prierez ventilačnej medzery medzi opláštením fasády a za ňou ležiacou vrstvou musí byť minimálne 20 mm (tab. 1). 
Nevyhnutnou súčasťou skladby obvodového plášťa z pohľadu tepelnej ochrany je tiež spoľahlivo navrhnutá vrstva tepelnej izolácie (STN 730540-1 až 4). Predmetnú tepelnú izoláciu sa odporúča chrániť proti vlhkosti a ochladzovaniu prúdením studeného vzduchu vo vzduchovej medzere (vetrotesná zábrana). Uvedené požiadavky spĺňajú optimálnym spôsobom poistné, difúzne otvorené fólie. Výber konkrétneho materiálu treba zvážiť aj na základe použitého systému nosného roštu.
Nosnú podkonštrukciu opláštenia možno vytvoriť rôznymi spôsobmi. Výber závisí od mnohých faktorov, ako napríklad od materiálu obvodovej steny, výšky budovy, požiadavky na požiarnu ochranu budovy, hrúbky tepelnej izolácie a iných. Najčastejšie používanou a cenovo najdostupnejšou je podkonštrukcia vytvorená z dreva (obr. 1), ktorá má ale obmedzené možnosti rektifikácie nerovností obvodových stien. Často používaným systémom je kovová podkonštrukcia (obr. 2). Táto podkonštrukcia spĺňa požiadavky na požiarnu ochranu budov, ak sa požaduje zabudovanie nehorľavých materiálov a pokiaľ sa skladá aspoň z dvoch dielov, umožňuje spoľahlivú rektifikáciu nerovností. Ďalší systém možno vytvoriť kombináciou drevenej a kovovej podkonštrukcie.
![]()  | 
![]()  | 
| Obr. 1 Vetraná podkonštrukcia drevená | Obr. 2 Vetraná podkonštrukcia kovová | 
Opláštenie sa má pripevňovať na celoplošnú a tuhú podkladovú konštrukciu. Ideálnu celoplošnú konštrukciu predstavuje drevený záklop, vyhotovený z dosiek s maximálnou šírkou 100 mm a s minimálnou hrúbkou 24 mm. Možno použiť aj OSB dosky triedy III s hrúbkou 22 mm. V prípade celokovovej podkonštrukcie sa ako podklad pod opláštenie používa trapézový pozinkovaný plech s povrchovou úpravou.
Tab. 2 Počet príponiek v závislosti od výšky budovy a polohy pásu opláštenia

Na vyhotovenie systému USD (obr. 3) na fasáde sa odporúča namiesto zvitkového materiálu použiť tabuľový materiál. V prípade materiálu z titánzinku by mala byť maximálna šírka pásov 500 mm a hrúbka 0,8 mm. Dĺžka by nemala presahovať 6 m hlavne z dôvodu nevyhnutnej manipulácie s tabuľami na stavbe. Poprední svetoví výrobcovia titánzinku majú v ponuke pre fasádne plochy materiál predzvetraný, teda vo výrobe ošetrený určitým odtieňom zinkovej patiny. Proces prírodného vyzrievania zinkovej patiny je nerovnomerný a na fasáde podstatne zdĺhavejší ako na strechách s relatívne plytkým sklonom. Aby sa zachovala jednotnosť farebného odtieňa, odporúča sa celú plochu vyhotoviť z materiálu rovnakej výrobnej šarže. Pre mnohých architektov nielen svetového mena, ktorí projektujú stavby nekomerčného charakteru (napríklad múzeá, galérie a pod.), je prirodzené vyzrievanie zinkovej patiny vítanou skutočnosťou, ktorá robí ich stavby originálnymi a jedinečnými. Na docielenie optimálneho efektu povrchu kovového opláštenia bez zbytočných znečistení treba už v projekte predpísať použitie materiálu s ochrannou fóliou. 
Pásy opláštenia sa v súčasnosti pripravujú na strojných profilovacích zariadeniach. Pokiaľ riešiteľ projektu požaduje takmer dokonalú rovinnosť povrchu, je vhodné profil spoja USD vyhotoviť na klasických alebo v prípade väčších hrúbok materiálov na hydraulických ohýbacích zariadeniach. Uvedeným skutočnostiam je nutné venovať dostatočnú pozornosť a všetky pásy opláštenia vyhotoviť s najväčšou prezícnosťou, pretože akékoľvek zaváhania sú a budú viditeľné počas celej životnosti materiálu.
Kotvenie pásov do celoplošného podkladu sa realizuje vždy nepriamo pomocou príponiek. Množstvo a osová vzdialenosť závisí od výšky budovy a zaťaženia vetrom v lokalite stavby. Z hľadiska teplotnej rozťažnosti pásov opláštenia je nutné myslieť tiež na systémové usporiadanie pevných a posuvných príponiek. Uvedené sa riadi technologickým predpisom výrobcu materiálu. Príponky sa k podkladu pripevňujú spojovacími prostriedkami – skrutkami so zapustenou hlavou 4,0/25 mm.
Postup montáže
Montáž opláštenia fasády systémom USD sa realizuje zospodu smerom nahor. Možno postupovať od jedného rohu smerom doľava alebo doprava k ďalšiemu rohu, alebo k prestupu cez obvodový plášť (okenný alebo dverný otvor). Na zabezpečenie spoľahlivého a očakávaného výsledného efektu opláštenia je nutné pripraviť realizačnú dokumentáciu, ktorej súčasťou je popri jednotlivých konštrukčných detailoch tiež plán kladenia fasády. V ňom je dôležité zachytiť rozhodujúce predstavy riešiteľa projektu o smere ukladania pásov opláštenia a ich osovej vzdialenosti, členení plôch medzi otvormi vo fasáde a v mieste otvorov, umiestnenie priečnych spojov, naznačiť riešenie rozhodujúcich detailov opláštenia. Týmto spôsobom možno ušetriť podstatné množstvo nedostatkov prameniacich z nedorozumení, ktoré vznikajú z rozdielnych pohľadov na tú istú vec. Napríklad architekt očakáva takmer dokonalý výsledok, aký vidí na prospektoch, obrázkoch výrobcu materiálu, systému. Remeselník často pod tlakom určitých okolností a šetriacich opatrení vidí fasádu z iného zorného uhla. Pri absencii realizačnej dokumentácie vznikajú po demontáži lešenia, ktoré podstatne prekrýva hotovú fasádu, nedorozumenia končiace sa ostrými výmenami názorov a veľkými problémami pri odovzdávaní a preberaní hotového diela. 

Riešenie detailov
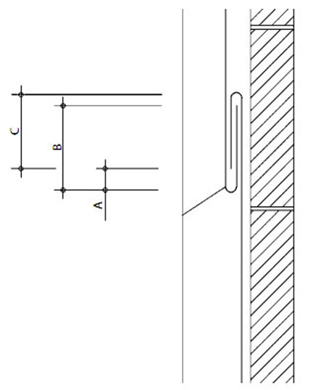
Príprave konštrukčných detailov metalického opláštenia je nutné venovať dostatočnú pozornosť. Majú vplyv nielen na správne vyhotovenie klampiarskych detailov, ale rozhodujúcim spôsobom ovplyvňujú realizáciu celej skladby obvodového plášťa, a hlavne tesárskych konštrukcií. Pri podcenení uvedenej prípravy nemožno očakávať, že finálnou vrstvou, teda plechom s hrúbkou 0,8 mm, bude možné zakryť nedostatky, ktoré vznikli pri vyhotovení podkladných konštrukcií. Medzi základné detaily patrí detail úpätia (obr. 4), detaily okolo prestupov cez opláštenie – parapet (obr. 5), bočné ostenia (obr. 6) a nadpražie (obr. 7), detail riešenia rohov (obr. 8) a napojenia opláštenia na atiku objektu. Charakteristickým znakom predmetného systému je možnosť riešiť každý detail viacerými spôsobmi. Systém zároveň umožňuje nepriame kotvenie viditeľných klampiarskych dielov bez priznaného skrutkovania alebo klincovania, čo má podstatný vplyv na životnosť a estetiku systému. V rámci korektného servisu výrobcu materiálu treba pripravené konštrukčné detaily pred začatím prác dôsledne vysvetliť všetkým zúčastneným stranám, to znamená vedeniu stavby, remeselníkom – tesárom, klampiarom a stavebnému dozoru. 
![]()  | 
![]()  | 
![]()  | 
![]()  | 
| Obr. 5 Detail oplechovania parapetu | 
Obr. 6 Detail ostenia | 
![]()  | 
![]()  | 
![]()  | 
![]()  | 
| Obr. 7 Detail nadpražia | Obr. 8 Detail vonkajšieho rohu budovy | 
![]()  | 
![]()  | 
| Obr. 9 Uplatnenie systému USD, vertikálne uloženie s rozdielnymi osovými vzdialenosťami drážok, materiál titánzinok bridlicovosivý | Obr. 10 Uplatnenie systému USD, vertikálne uloženie s rozdielnymi osovými vzdialenosťami drážok, materiál titánzinok modrosivý | 

Popri  štandardných vyhotoveniach (ukladaní) ako sú vertikálne a horizontálne  pásy možno opláštenie ukladať aj pod uhlom, teda šikmo. Tiež možno  ukladať kónusovými pásmi, horizontálne aj vertikálne. Ďalšiu veľkú  skupinu tvoria variácie uvedených systémov na jednej ploche. Veľkej  obľube sa tešia aj aplikácie priečnych spojov, takzvaných tehličkových –  zrkadlových vzorov ukladaných vertikálne alebo horizontálne. 
V záujme vylúčenia akéhokoľvek opakovania možno aplikovať pásy rozdielnych osových vzdialeností (obr. 9 až 11). Pochopiteľne, v rámci hospodárnosti treba voliť osové vzdialenosti, ktorých celé násobky možno získať zo základnej šírky plechu 1 000 mm. Kombináciou uvedených spôsobov možno na fasáde navrhovaného objektu vytvoriť vlastný, neopakovateľný rukopis. V niektorých prípadoch sa architekt usiluje o dosiahnutie neštandardných efektov a prejavov na metalickom opláštení (extrémne zvlnenie povrchu, voľba ušľachtilých materiálov s prirodzeným pozvoľným vyzrievaním patiny, požiadavky na umelé mechanické poškodenia v ploche a mnohé iné). Uvedené požiadavky sú skôr ojedinelé, ale tiež riešiteľné.
Veľkou výhodou systému opláštenia na uhlovú stojatú drážku je možnosť zladiť systém opláštenia fasády so systémom zastrešenia.

Chyby pri vyhotovení
Medzi najčastejšie chyby, s ktorými sa možno v praxi stretnúť, patrí:
- použitie plechu s nedostatočnou hrúbkou < 0,8 mm,
 - použitie zvitkového materiálu namiesto tabuľového,
 - aplikácia pásov opláštenia s rozvinutou šírkou > 500 mm
 - ukladanie pásov opláštenia bez dilatácie v ploche a pri napojeniach,
 - uzavretie USD na dvojitú stojatú drážku,
 - vyhotovenie podkonštrukcie okenného parapetu bez vyspádovania,
 - nesprávne umiestnenie okenného rámu, bez možnosti korektného napojenia oplechovania parapetu (obr. 13 až 16),
 - vyhotovenie tesárskych konštrukcií v mieste okenných otvorov bez odvetrávcích otvorov,
 - montáž reklamných tabúľ priamo do opláštenia na USD, bez ukotvenia do nosnej časti obvodovej steny.
 
![]()  | 
|
| Obr. 14 Správne umiestnenie dreveného okenného rámu | |
![]()  | 
![]()  | 
| Obr. 15, 16 Správne umiestnenie plastového okenného rámu | |
Správne zvládnutá realizácia
Na projekte apartmánového domu Tále sa vďaka správnemu rozhodnutiu riešiteľa projektu a technicky a ekonomicky sčítanému investorovi podarilo v plnej miere uplatniť vyššie uvedené technické predpoklady na správny návrh a realizáciu systému uzavretej stojatej drážky. Počas projektovej prípravy sa všetky klampiarske konštrukcie vopred vyriešili a odsúhlasili autorom projektu. Počas realizácie sa zo strany výrobcu materiálu vykonal dozor nad realizáciou klampiarskych prác. 
Obr. 17 Apartmánový hotel Tále
Záver
Tenkostenné ušľachtilé kovy na strechy alebo fasády nachádzajú v praxi široké uplatnenie. Medzi ich základné vlastnosti patrí nenapodobiteľná prírodná patina, chrániaca pred poveternostnými vplyvmi počas niekoľkých generácií, bezúdržbovosť, odolnosť proti UV žiareniu počas celej životnosti, možnosť vytvárania vodotesných spojov použitím spájkovaných spojov. Pri dôslednej príprave možno riešiť takmer každý tvar strechy alebo fasády. Pochopiteľne, aj napriek spoľahlivej príprave môže celé úsilie stroskotať na nekvalitnej realizácii. Žiaľ, v praxi sa možno stretnúť s prípadmi, keď pod tlakom finančnej optimalizácie dochádza k zámene navrhnutých materiálov, bez akejkoľvek úcty k autorovi projektu a k tomu, že klampiarske práce vyhotovujú remeselníci bez skúseností a úcty k vlastnému remeslu a bez citu pre detail. V prípade projektu apartmánového hotela Tále to tak nebolo, navrhnutý materiál sa kvalitne a spoľahlivo zabudoval, čo dáva predpoklad dlhej životnosti a funkčnosti. 
TEXT: Ing. Gabriel Boros
FOTO: archív ŽP – Invest, archív Kontrakting stavebné montáže, archív Ing. arch. Oliver Peržel, archív RHEINZINK SK
Ing. Gabriel Boros je konateľom spoločnosti RHEINZINK SK, s. r. o.
Literatúra
1. STN 730540-1: 2002 Tepelnotechnické vlastnosti stavebných konštrukcií a budov. Tepelná ochrana budov. Časť 1: Terminológia.
2. STN 730540-2: 2002 Tepelnotechnické vlastnosti stavebných konštrukcií a budov. Tepelná ochrana budov. Časť 2: Funkčné požiadavky.
3. STN 730540-3: 2002 Tepelnotechnické vlastnosti stavebných konštrukcií a budov. Tepelná ochrana budov. Časť 3: Vlastnosti prostredia a stavebných výrobkov.
4. STN 730540-4: 2002 Tepelnotechnické vlastnosti stavebných konštrukcií a budov. Tepelná ochrana budov. Časť 4: Výpočtové metódy.
5.    STN 73 3610: 1987 Klampiarske práce stavebné.
6.    RHEINZINK – Drážkovaná krytina, Súhrn pravidiel 2. vydanie.
Článok bol uverejnený v časopise Stavebné materiály.
													
								                            
























						


