Technické opatrenia na zabezpečenie teploty studenej pitnej vody
Vodné prostredie je prirodzené miesto výskytu mikroorganizmov, z ktorých tvoria baktérie najpočetnejšiu skupinu. Výskyt baktérií vo vode je najčastejším problémom studní. Baktérie však môžeme nájsť aj v pitnej vode.
Jednou zo základných požiadaviek na kvalitu pitnej vody je jej teplota. Optimálna teplota studenej pitnej vody je 10 až 15 °C. So zvyšovaním teploty sa mení chuť pitnej vody a takisto jej osviežujúci účinok, čo sa často vyskytuje v distribučných systémoch pitnej vody predovšetkým v letnom období. Ďalšie riziko prehrievania vody v potrubí predstavuje výskyt a rozmnožovanie baktérie Legionella, ktorej vyhovuje na kolonizáciu prostredie s teplotou od 25 do 50 °C. Podľa vyhlášky MDVRR SR č. 364/2012 Z. z. a požiadavky STN EN 806-2 nesmie byť po otvorení výtokovej armatúry studenej pitnej vody po 30 s jej teplota vyššia ako 25 °C [1, 2].
Aby sa zabránilo kolonizácii Legionelly, teplota vody musí byť v takom rozsahu, v ktorom sa baktéria nebude vôbec rozmnožovať, t. j. teplota vody musí byť nižšia ako 25 °C. V zdravotníckych zariadeniach by sa teplota studenej pitnej vody mala dodržiavať ešte dôslednejšie, nemala by byť vyššia ako 20 °C. Ďalšie odporúčania, ktoré sa týkajú vonkajších vplyvov na teplotu vody, uvádza TNI CEN/TR 16355: Preventívne opatrenia proti rozmnožovaniu baktérie Legionella vo vodovodných potrubiach na pitnú vodu vnútri budov [3].
Požiadavky na tepelnú izoláciu potrubia studenej vody
Pri bežných distribučných systémoch vodovodu v budove sa najčastejšie vedú potrubia studenej pitnej vody, teplej vody a cirkulácie spoločne – či už na spoločných závesoch pod stropom, alebo nad podhľadmi, v stenách, priečkach, predstenových konštrukciách, alebo v podlahe. Často sa podceňuje dodržiavanie základnej požiadavky proti prehrievaniu studenej pitnej vody, a to dostatočná kvalita a hrúbka tepelnej izolácie. Odporúčané hrúbky tepelnej izolácie potrubí studenej pitnej vody sú uvedené v tab. 1 a 2.
Tab. 1 Najmenšia hrúbka tepelnej izolácie pri potrubiach studenej vody [4]
1) V miestach križovania iných potrubí alebo v miestach prechodu potrubia stavebnými konštrukciami sa môže hrúbka tepelnej izolácie zmenšiť až na 4 mm.
2) λθ je súčiniteľ tepelnej vodivosti materiálu tepelnej izolácie, ide o návrhovú (výpočtovú) hodnotu. Pri
λθ > 0,04 W/(m . K) musí byť hrúbka tepelnej izolácie väčšia, než je uvedené v tab. 1.
3) Potrubie teplej vody bez cirkulácie sa nepovažuje za zdroj tepla, ktorý by mohol spôsobiť ohrev vody v potrubí studenej vody vedenom v spoločných priestoroch s potrubím teplej vody.
Tab. 2 Najmenšia hrúbka tepelnej izolácie pri potrubiach studenej vody (λiz = 0,036 W/(m . K) pri strednej teplote 0 °C a hse = 9 W/(m2 . K)) pri rôznych dimenziách potrubia [5]
1) Potrubie sa musí chrániť pred zamrznutím vhodnými opatreniami.
2) Potrubie sa musí zabezpečiť pred zamrznutím aj ďalšími opatreniami.
3) Potrebná izolácia potrubia systémom rúrka v rúrke.
Odporúčané vzdialenosti medzi potrubiami pitnej a teplej vody [3]
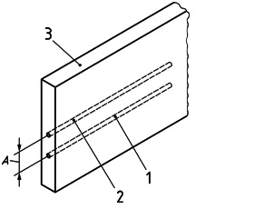
Potrubia studenej pitnej vody by sa nemali inštalovať v podlahe s podlahovým vykurovaním alebo v stene so stenovým vykurovaním. Potrubie pitnej vody by sa nemalo montovať ani v stenách, ktoré sú na oboch stranách vystavené vysokej teplote vzduchu. Ak sa potrubia pitnej vody v stenách vedú rovnobežne s teplovodnými rúrkami (vykurovanie alebo rozvody teplej vody s cirkuláciou), malo by byť potrubie pitnej vody mimo vplyvu akéhokoľvek tepelného zdroja. Minimálna vzdialenosť medzi rúrkami studenej pitnej vody a teplej vody by mala byť 125 mm v stene s omietkou a minimálne 200 mm v betónovej stene (obr. 1).
![]() |
| Obr. 1 Minimálna vzdialenosť medzi rovnobežne vedeným potrubím pitnej vody a rúrkami teplej vody v stenách A – minimálna vzdialenosť pri stene s omietkou 125 mm, pri betónovej stene 200 mm, 1 – potrubie studenej vody, 2 – teplovodné potrubie, 3 – stena [3] |
Podobne pri súbežnom uložení v podlahe je minimálna vzdialenosť rúrok 125 mm v podlahe s dlažbou a 200 mm v betónovej podlahe (obr. 2). Pri teplote vody v potrubí 80 °C a nižšej sa majú dodržiavať odporúčané vzdialenosti podľa tab. 3. Pri inštalácii potrubia pitnej vody v podlahe s podlahovým vykurovaním podľa obr. 3 pri teplote teplej vody 50 °C a nižšej sa majú brať do úvahy odporúčania uvedené v tab. 4.
![]() |
| Obr. 2 Minimálna vzdialenosť medzi rovnobežne vedeným potrubím pitnej vody a teplej vody v podlahe B – minimálna vzdialenosť pri podlahe s obkladom 125 mm, pri betónovej podlahe 200 mm,1 – potrubie studenej vody, 2 – teplovodné potrubie, 3 – podlaha [3] |
Medzi rúrkami pitnej vody a podlahovým alebo stenovým vykurovaním je potrebná tepelná izolácia s minimálnou požadovanou hrúbkou 20 mm. Rovnaké odporúčanie možno použiť aj pri potrubiach pitnej vody v prípade stenového vykurovania. Ak je však stenové vykurovanie použité aj na druhej strane tejto steny, nemalo by sa potrubie pitnej vody medzi tieto vykurovacie systémy inštalovať vôbec.
![]() |
| Obr. 3 Potrubie pitnej vody v prípade podlahového alebo stenového vykurovania C – minimálna vzdialenosť, 1 – tepelná izolácia potrubí, 2 – podlahové alebo stenové vykurovanie, 3 – potrubie s pitnou vodou, 4 – stena [3] |
Ďalšie odporúčania sú tieto:
- Žiadne potrubie pitnej vody by nemalo križovať teplovodné potrubie vykurovania alebo rozvod teplej vody s cirkuláciou. Ak je to nevyhnutné, majú sa obe potrubia samostatne tepelne izolovať.
- Ak je potrubie pitnej vody v podlahe umiestnené rovnobežne s teplovodnou rúrkou (vykurovanie alebo rozvod teplej vody s cirkuláciou), mali by byť všetky rúrky tepelne izolované a minimálna vzdialenosť C potrubia pitnej vody od najbližšieho teplovodného potrubia musí byť v súlade s tab. 4.
- Je potrebné vyhnúť sa umiestneniu potrubia s pitnou vodou za vykurovacie teleso.
Tab. 3 Odporúčané minimálne vzdialenosti medzi potrubím pitnej vody v podlahe s teplovodnými rúrkami [3]
Tab. 4 Odporúčané minimálne vzdialenosti medzi potrubím pitnej vody v podlahách s podlahovým vykurovaním [3]
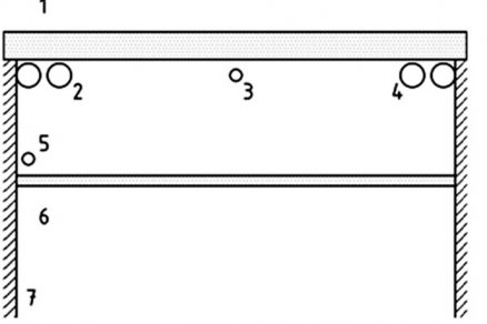
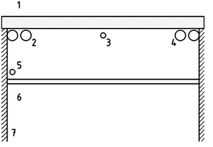
Potrubie pitnej vody umiestnené nad podhľadom alebo v inštalačnej šachte. V prípade, že je potrubie pitnej vody umiestnené nad podhľadom, môže byť teplota v priestore okolo rúrky vyššia ako teplota v miestnosti. Také potrubie by malo byť umiestnené tesne nad podhľad, pretože tam je v celom priestore podhľadu najnižšia teplota (obr. 4). Tieto rúrky by sa mali dôkladne tepelne izolovať [3].
![]() |
| Obr. 4 Potrubie pitnej vody umiestnené v podhľade 1 – betónová podlaha, 2 – potrubia ústredného vykurovania, 3 – nevhodné miesto na potrubie pitnej vody, 4 – teplovodné potrubia, 5 – potrubie pitnej vody, 6 – podhľad, 7 – stena [3] |
Ak je potrubie pitnej vody umiestnené v inštalačnej šachte, môže tu byť vzhľadom na ostatné potrubia, vzduchovod a pod. teplota vyššia ako v okolitých priestoroch. Tomu sa dá zabrániť, ak sú teplovodné potrubia, vzduchovody a pod. tepelne izolované a/alebo potrubia pitnej vody môžu byť vedené mimo tejto šachty alebo môžu byť umiestnené v inej, oddelenej „studenej“ šachte podľa obr. 5.
![]() |
| Obr. 5 Potrubia pitnej vody v inštalačnej šachte 1 – potrubie pitnej vody, 2 – teplovodné potrubie, 3 – miestnosť, 4 – inštalačná šachta, 5 – oddelená „studená“ šachta [3] |
Zhrnutie na záver
Potrubie studenej pitnej vody sa musí chrániť proti vonkajším vplyvom na teplotu vody. Ležaté, stúpacie a pripájacie potrubia sa musia dôkladne izolovať nielen proti kondenzácii na vonkajšom povrchu, ale aj proti prehrievaniu studenej vody. Tepelná izolácia sa nemusí použiť jedine pri pripájacích potrubiach na podlaží, vedených v korugovaných chráničkách (tzv. systém rúrka v rúrke), napr. v podlahe alebo v predstene.
Pri vedení potrubí v neprielezných inštalačných kanáloch alebo drážkach sa nesmie potrubie pitnej vody viesť spoločne s potrubím vykurovania, horúcovodom alebo parovodom. Pri potrubí nepitnej vody sa musí použitie tepelnej izolácie posúdiť podľa účelu použitia vody. Pri trasovaní potrubí pitnej vody a ich vzdialenosti od teplovodných potrubí, ktoré sú vedené v stenách, priečkach, nad podhľadmi alebo v inštalačných šachtách, sa odporúča navrhovať umiestnenie podľa TNI/TR 16355.
Článok vznikol s podporou grantových projektov
Ministerstva školstva, vedy, výskumu a športu SR VEGA 1/0807/17 a VEGA 1/0847/18.
Text + Foto | doc. Ing. Jana Peráčková, PhD., Katedra TZB SvF STU v Bratislave
Ilustračné perexové foto: isifa/Shutterstock
Recenzovala | prof. Ing. Zuzana Vranayová, PhD.
Literatúra:
- Vyhláška MDVRR SR č. 364/2012 Z. z., ktorou sa vykonáva zákon č. 555/2005 Z. z. o energetickej hospodárnosti budov a o zmene a doplnení niektorých zákonov v znení neskorších predpisov.
- STN EN 806-2: 2005: Technické podmienky na zhotovovanie vodovodných potrubí na pitnú vodu vnútri budov. Navrhovanie.
- TNI CEN/TR 16355: Preventívne opatrenia proti rozmnožovaniu baktérie Legionella vo vodovodných potrubiach na pitnú vodu vnútri budov.
- ČSN 75 5409: 2013: Vnitřní vodovody.
- ÖNORM H 5155: 2013: Wärmedämmung von Rohrleitungen und Komponenten von haustechnischen Anlagen.
Článok bol uverejnený v časopise Správa budov 2/2018.








![Tab. 1 Najmenšia hrúbka tepelnej izolácie pri potrubiach studenej vody [4]](/wp-content/uploads/images/fotogaleria/fotogalerie/sprava_budov/technicke_opatrenia_na_zabezpecenie_teploty_studenej_pitnej_vody_foto/tab1.jpg)
![Tab. 2 Najmenšia hrúbka tepelnej izolácie pri potrubiach studenej vody (λiz = 0,036 W/(m . K) pri strednej teplote 0 °C a hse = 9 W/(m2 . K)) pri rôznych dimenziách potrubia [5]](/wp-content/uploads/images/fotogaleria/fotogalerie/sprava_budov/technicke_opatrenia_na_zabezpecenie_teploty_studenej_pitnej_vody_foto/tab2.jpg)
![Obr. 1 Minimálna vzdialenosť medzi rovnobežne vedeným potrubím pitnej vody a rúrkami teplej vody v stenách A – minimálna vzdialenosť pri stene s omietkou 125 mm, pri betónovej stene 200 mm, 1 – potrubie studenej vody, 2 – teplovodné potrubie, 3 – stena [3]](/wp-content/uploads/images/fotogaleria/fotogalerie/sprava_budov/technicke_opatrenia_na_zabezpecenie_teploty_studenej_pitnej_vody_foto/01Perackova-obr.1.jpg)
![Obr. 2 Minimálna vzdialenosť medzi rovnobežne vedeným potrubím pitnej vody a teplej vody v podlahe B – minimálna vzdialenosť pri podlahe s obkladom 125 mm, pri betónovej podlahe 200 mm,1 – potrubie studenej vody, 2 – teplovodné potrubie, 3 – podlaha [3]](/wp-content/uploads/images/fotogaleria/fotogalerie/sprava_budov/technicke_opatrenia_na_zabezpecenie_teploty_studenej_pitnej_vody_foto/02Perackova-obr.2.jpg)
![Obr. 3 Potrubie pitnej vody v prípade podlahového alebo stenového vykurovania C – minimálna vzdialenosť, 1 – tepelná izolácia potrubí, 2 – podlahové alebo stenové vykurovanie, 3 – potrubie s pitnou vodou, 4 – stena [3]](/wp-content/uploads/images/fotogaleria/fotogalerie/sprava_budov/technicke_opatrenia_na_zabezpecenie_teploty_studenej_pitnej_vody_foto/03Perackova-obr.3.jpg)
![Tab. 3 Odporúčané minimálne vzdialenosti medzi potrubím pitnej vody v podlahe s teplovodnými rúrkami [3]](/wp-content/uploads/images/fotogaleria/fotogalerie/sprava_budov/technicke_opatrenia_na_zabezpecenie_teploty_studenej_pitnej_vody_foto/tab3.jpg)
![Tab. 4 Odporúčané minimálne vzdialenosti medzi potrubím pitnej vody v podlahách s podlahovým vykurovaním [3]](/wp-content/uploads/images/fotogaleria/fotogalerie/sprava_budov/technicke_opatrenia_na_zabezpecenie_teploty_studenej_pitnej_vody_foto/tab4.jpg)
![Obr. 4 Potrubie pitnej vody umiestnené v podhľade 1 – betónová podlaha, 2 – potrubia ústredného vykurovania, 3 – nevhodné miesto na potrubie pitnej vody, 4 – teplovodné potrubia, 5 – potrubie pitnej vody, 6 – podhľad, 7 – stena [3]](/wp-content/uploads/images/fotogaleria/fotogalerie/sprava_budov/technicke_opatrenia_na_zabezpecenie_teploty_studenej_pitnej_vody_foto/04Perackova-Obr.4.jpg)
![Obr. 5 Potrubia pitnej vody v inštalačnej šachte 1 – potrubie pitnej vody, 2 – teplovodné potrubie, 3 – miestnosť, 4 – inštalačná šachta, 5 – oddelená „studená“ šachta [3]](/wp-content/uploads/images/fotogaleria/fotogalerie/sprava_budov/technicke_opatrenia_na_zabezpecenie_teploty_studenej_pitnej_vody_foto/05Perackova-obr.5.jpg)



