Rekonštrukcia drevených konštrukcií protézovaním
Pri rekonštrukcii historických objektov sa zo strany pamiatkarov možno stretnúť s požiadavkou, aby sa poškodený drevený prvok v objekte zachoval, zvyčajne pri zaistení jeho pôvodnej funkcie. Jednou z možností, ako riešiť túto situáciu, je poškodený prvok spevniť protézovaním.
Metódy na spevnenie poškodených prvkov drevených konštrukcií
Do úvahy prichádza aj trvalá zmena konštrukčného riešenia poškodených prvkov, ako je napríklad vytvorenie vzpínadlovej sústavy z jednoduchého trámu použitím oceľového ťahadla. Špecifickým prípadom spevňovania drevených prvkov sú ich nepriame spevnenia, ako podopretie, vyvesenie alebo stuženie, ktoré sa uplatňujú buď pri ich provizórnom spevnení, alebo iba v priebehu rekonštrukčných prác.
Ak je nosný drevený prvok poškodený iba lokálne, napr. lokálna hniloba v záhlaví stropného alebo väzného trámu, v pätke krokvy pri pomúrnici, v spodnej časti stĺpa a pod., je vhodné aplikovať jednu z uvedených priamych metód – príložkovanie, ukotvenie do oceľovej konzoly alebo protézovanie. Konkrétne pri zrubových, stĺpikových, hrazdených a iných stavbách, ale aj pri fasádnych prvkoch, ako sú okná a dvere, sa využíva najmä protézovanie a plombovanie, pričom niekedy nemožno vynechať ani impregnačné spevnenie dreva. Lokálne poškodené prvky krovov sa spevňujú hlavne príložkovaním a protézovaním. Lokálne poškodené stropné a povalové trámy stropných konštrukcií možno spevniť aj ukotvením do oceľových konzol alebo spriahnutím stropu s betónovou platňou, pričom protézovanie sa používa zriedkavejšie.
Metódy spevňovania1. Zväčšenie prierezu:
2. Aplikácia uhlíkových lamiel alebo rohoží na báze uhlíkových vláken. 3. Nahradenie poškodeného dreva v prvku zdravým drevom alebo iným materiálom bez zachovania jeho pôvodného prierezu:
4. Nahradenie (resp. doplnenie) poškodeného dreva v prvku zdravým drevom alebo iným materiálom pri zachovaní jeho pôvodného prierezu:
|
Protézovanie dreveného prvku
Ide o technológiu, pri ktorej sa nahrádza alebo dopĺňa poškodená časť nosného prvku novou časťou – protézou s cieľom obnoviť jeho pôvodnú pevnosť a tuhosť. Protéza sa tvarom zhoduje s odstránenou alebo chýbajúcou časťou prvku. Znamená to, že pri protézovaní sa nemení prierez pôvodného prvku a zväčša ani typológia pôvodných spojov. Materiál na výrobu protézy sa zvyčajne zhoduje s materiálom protézovaného prvku (rovnaký druh dreva, zámerná patina na povrchu dreva a pod.), avšak použiť sa môžu aj iné materiály (iný druh dreva, polymérbetón v kombinácii so sklolaminátovými prútmi, a pod.). V praxi sa uplatňujú hlavne klasické tesárske metódy protézovania využívajúce drevené protézy, zatiaľ čo iné menej tradičné metódy protézovania, ako je napr. beta-metóda, sa využívajú viac-menej len v špecifických situáciách.
Tesárske metódy protézovania
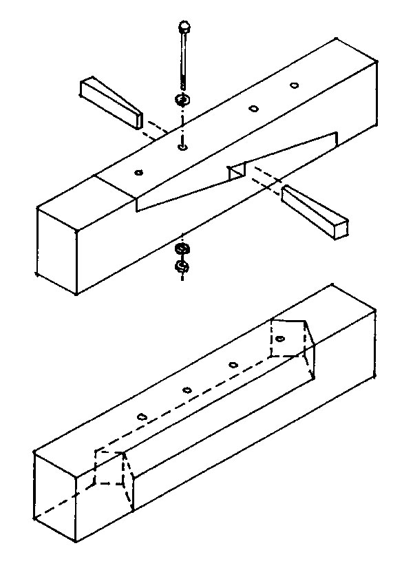
Spojenie zostatkovej zdravej časti dreveného prvku s drevenou protézou možno vykonať rôznymi typmi tesárskych spojov (obr. 1). Viaceré z uvedených spojov spĺňajú popri funkčnosti aj estetické požiadavky architekta a pamiatkarov. Na opravu nosných prvkov sa z viacerých typových spojov používajú najmä rovný alebo šikmý plátovaný spoj zaistený svorníkmi. Rovné plátované spoje možno uplatniť na opravu prvkov namáhaných na tlak, napríklad na opravu stĺpikov v krove. Pri oprave nosných stĺpov, ktoré sú namáhané aj na krútenie a na vzper, je vhodné použiť nožnicové spoje. Šikmé plátované spoje je vhodné použiť pri oprave krokiev alebo iných prvkov namáhaných na ohyb.
| Obr. 1 Tesárske metódy protézovania drevených prvkov | |
![]() |
![]() |
| a) rovný a šikmý plátovaný spoj | b) zaklinovaný a klinočelý plátovaný spoj |
V prípade prvkov namáhaných na ťah a ohyb sa odporúča plátovaný spoj zaistiť záchytkami typu Bulldog alebo dubovými záchytkami, ale možné sú aj iné kombinované riešenia. Drevený prvok protézovaný vhodnou tesárskou metódou sa tuhosťou a pevnosťou môže vyrovnať pôvodnému prvku pred poškodením. Je to zvyčajne v prípadoch, ak sa tesársky spoj na vytvorenie protézovaného prvku zaisťuje nielen svorníkmi, ale súčasne aj epoxidovým alebo iným vhodným lepidlom.
Protézovanie beta-metódou
Táto metóda sa obyčajne uplatňuje pri oprave záhlaví nosných prvkoch s vyššou pamiatkovou hodnotou, ako sú napríklad stropné trámy s rezbou, maľbou, polychrómiou a pod. Drevený prvok sa protézuje pomocou tzv. polymérbetónu v kombinácii s výstužnými prútmi z profilovej betonárskej ocele, sklolaminátu alebo uhlíka (obr. 2). Polymérbetón je zmes vhodného syntetického polyméru (epoxidová alebo polyesterová živica) a plniva (kremičitý piesok, drevené častice a pod.). Optimálny hmotnostný pomer polymér a plnivo závisí od množstva faktorov, napr. pri epoxidovom polyméri a kremičitom plnive býva približne 1 : 3 až 1 : 7.
| Obr. 2 Beta-metóda protézovania stropného alebo väzného trámu 1 – dutina, t. j. odhnité záhlavie trámu nahradené pri sanácii polymérbetónom, 2 – oslabená zóna dreva, 3 – sklolaminátový prút, ktorého koniec sa zarovná, 4 – polyetylénová fólia, 5 – príložky z dubového dreva, 6 – zdravé drevo, 7 – dutina sa plní polymérbetónom, 8 – zoslabená zóna sa preimpregnuje nízkoviskóznym epoxidom, 9 – do otvorov natretých epoxidom sa vsadia sklolaminátové prúty, 10 – uloženie na murivo |
|
![]() |
![]() |
| a) bočný pohľad na protézované záhlavie trámu | b) axonometrický pohľad na postup protézovania |
Princíp beta-metódy protézovania drevených prvkov spočíva v spojení dreva a výstužných prútov so syntetickým polymérom, pričom výstužné prúty zachytávajú aj ťahové a ohybové napätia. Počet, dĺžku a priemer výstužných prútov možno vypočítať, vychádzajúc z poznatkov o ťahových napätiach v opravovanom prvku, o pôsobení priečnych síl, o priľnavosti polymérbetónu k výstuži i k drevu, prípadne z ďalších podmienok.)
Technologický postup beta-metódy pri šikmom uložení výstužných prútov
|
Okrem možnosti pozdĺžneho alebo šikmého uloženia výstužných prútov (obr. 2), je tu možnosť ukladať prúty buď do navŕtaných otvorov (obr. 2), alebo do bočne vyfrézovaných drážok. Protéza sa pritom vkladá priamo do dutiny pôvodného prvku, resp. do priestoru, ktorý vznikne po odrezaní poškodeného záhlavia šikmým alebo rovným rezom. Ako protéza sa môže namiesto podstatného podielu polymérbetónu použiť aj drevený masív, ktorý sa k pôvodnému prvku viaže iba tenkou niekoľkocentimetrovou vrstvou polymérbetónu. Laboratórne experimenty, ako aj praktické vyše 30-ročné skúsenosti ukazujú, že polymérbetónová protéza v čase pod stálym zaťažením nemení svoje mechanické vlastnosti a dobre odoláva aj biotickým škodcom. Jej požiarna odolnosť pri použití kremičitého plniva je na úrovni dreva.
prof. Ing. Ladislav Reinprecht, CSc.
Obrázky: autor
Autor pracuje na Drevárskej fakulte Technickej univerzity vo Zvolene. Profesionálne sa zaoberá problematikami biologických i iných poškodení dreva, ich diagnostikou a ochranou i sanáciou dreva.
Literatúra:
(1) Erler, K.: Alte Holzbauwerke – beurteilen und sanieren. Verlag für Bauwesen Berlin, 1997, 238 s.
(2) Reinprecht, L. – Joščák, P.: Reinforcement of Model-damaged Wooden Elements. Part 2: Restoration of wooden elements by the extension method using natural Wood or Epoxy-wood Composite. In: Drevársky výskum, 41, (2), 1996, s. 41 – 55.
(3) Reinprecht, L.: Rekonštrukcia objektov z dreva. (Monografia), Technická univerzita Zvolen, 1998, 130 s.
(4) Reinprecht, L. – Štefko, J.: Dřevěné stropy a krovy – typy, poruchy, průzkumy a rekonstrukce. ABF – ARCH Praha, 2000, 242 s.











