Pasívny rodinný dom – drevostavba
S istým oneskorením za našimi západnými susedmi sa začal dopyt po pasívnych domoch zvyšovať aj u nás. Pri navrhovaní pasívneho domu treba veľmi starostlivo zvažovať konkrétne podmienky v mieste stavby a tiež požiadavky investora. To môže viesť k návrhu netradičného riešenia, ako to bolo v prípade rodinného domu v Řevniciach neďaleko Prahy.
Rodinný dom sa nachádza na pozemku tienenom z južnej strany a zároveň investor požadoval oslnenie niektorých priestorov zo severu, čo je v rozpore so zásadami návrhu pasívneho domu. Napriek týmto obmedzeniam, z ktorých najväčším bolo tienenie z južnej strany, sa pasívny štandard podarilo dosiahnuť, a to najmä vďaka celkovému konceptu, ktorý zohľadňoval tak architektonické, ako aj technické a energetické hľadisko. K úspechu prispela aj veľmi dobrá znalosť zásad navrhovania pasívneho domu zo strany architekta.Architektonické riešenie
Rodinný dom situovaný v Řevniciach, 20 km
južne od Prahy, sa nachádza na severnom svahu v blízkosti hustého lesa. Vzhľadom na úmysel realizovať pasívny dom, bolo potrebné overiť vplyv tienenia domu svahom z južnej strany domu. Slnečný svit dopadá na pozemok po celý rok, iba v období okolo zimného slnovratu sa mierne skracuje čas oslnenia. To umožňuje funkčné usporiadanie domu podľa potreby oslnenia. Na južnú stranu sú orientované obytné miestnosti (obývačka, jedáleň, izby), kým na severnú stranu úložné priestory, vstup, schody a technická miestnosť. Na oddelenie severného a južného priestoru sa vytvoril stavebný modul so šírkou 60 cm, do ktorého sa umiestnili technické rozvody a vstavané skrine. Koncepčné pravidlá orientácie pasívneho domu sa však museli porušiť pri návrhu ateliéru na 1. NP. Nároky na kvalitu svetla v tomto priestore totiž vyžadujú orientáciu okien na sever. Pozitívum, ktoré táto orientácia priniesla, je krásny výhľad na údolie rieky Berounky.
Sklon strechy vzhľadom na začlenenie domu do okolia rešpektuje sklon svahu. Drevená fasáda na báze smrekovca v kombinácii s tieniacim systémom na južnej fasáde sa podieľa na zmiernení dojmu z kompaktného tvaru hmoty a dodáva domu organický charakter.
Technický návrh domu
Z konštrukčného hľadiska je dom riešený ako rámová drevostavba. Keďže sa nachádza na relatívne prudkom svahu, podlaha na teréne sa realizovala ako zvýšená (crawl space), čím sa zjednodušili zemné práce (spätný zásyp, hutnenie…). Rodinný dom je založený na troch pozdĺžnych betónových pásoch, na ktoré sa priečne kládli drevené trámy. Dutina je pozdĺžne prevetrávaná, jej minimálna hrúbka je 500 mm.
Už v rannej fáze návrhu sa realizovala optimalizácia v programe PHPP. Stanovili sa požadované parametre obvodových konštrukcií a technológií budovy tak, aby sa dosiahol pasívny štandard. Potrebné parametre sú uvedené v tabuľke.
Parametre potrebné na dosiahnutie pasívneho štandardu

Na dosiahnutie pasívneho štandardu treba použiť tepelnú izoláciu s hrúbkou 420 až 460 mm. Tá sa v prípade rámových drevostavieb spravidla vkladá medzi konštrukčné prvky. Aby sa veľké množstvo tepelnej izolácie účinne využilo, treba používať prvky s prerušeným tepelným mostom. Na konštrukciu zvýšenej podlahy a konštrukciu strechy sa preto použili drevené I-nosníky, na obvodové steny špeciálne drevené izolačné kolíkované nosníky.
Izolačné nosníky z kolíkovaného dreva v obvodových stenách
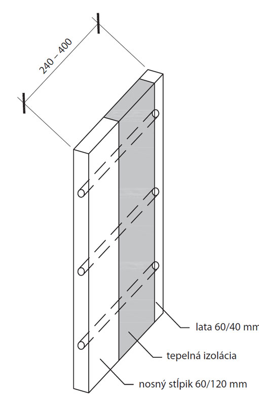
Ide o nosný konštrukčný prvok, ktorý možno použiť do obvodových stien ľahkých drevených skeletov. Prvok sa skladá z nosného stĺpika (spravidla s profilom 60/120 mm), vloženej tepelnej izolácie na báze polotvrdých drevovláknitých dosiek a drevenej laty 60/60 mm, na ktorej je fasádne opláštenie. Všetky tri časti sú spojené kolíkom z tvrdého dreva.
Z vnútornej strany sú nosníky opláštené vhodnou vzduchotesnou a stužujúcou vrstvou. Priestor medzi stĺpikmi je vyplnený tepelnou izoláciou. V prípade rodinného domu v Řevniciach sa použili nosníky s výškou 360 mm. Z vnútornej strany obvodovej steny sa ešte realizuje inštalačná predstena s hrúbkou 60 mm, rovnako vyplnená tepelnou izoláciou. Všetky tepelné mosty sú obmedzené iba na bodovo prenikajúce drevené kolíky.
Konštrukčný princíp
Celý princíp takzvaného kolíkovania sa zakladá na objemových zmenách dreva. Kolíky sú predsušené tak, aby vlhkosť v nich bola nižšia, ako má okolité drevo. Keď sa vtlačia do predvŕtaných otvorov a ich
vlhkosť sa vyrovná s vlhkosťou v okolitom dreve, zväčšia svoj objem. Tým sa zabezpečí súdržnosť jednotlivých častí nosníkov. Keďže v budovách je vlhkosť vzduchu vyššia ako vlhkosť drevených kolíkov vysušených v sušiacej peci, nemôže sa za bežných okolností tento spoj nikdy rozpojiť. Touto technológiou sa tak vyrábajú prvky, ktoré sú výlučne z dreva – nepoužívajú sa žiadne lepidlá.
Statika
Tiaž fasády pôsobí na vonkajšiu latu nosníka 60/60 mm a prostredníctvom drevených kolíkov sa prenáša na vnútorný nosný profil. Pritom sa kolíky namáhajú pri ohybe. Odpor proti vytiahnutiu vonkajšej laty je taký veľký, že ťahové sily vzniknuté saním vetra sa môžu preniesť. V prípade budovy s výškou nad 8 m sa prídavne spájajú obidva drevené profily nosníkov na úrovni prahu a venca prostredníctvom dosky OSB.
Výhody izolačných nosníkov
Medzi základné výhody izolačných nosníkov patria:
- možnosť dosiahnuť pasívny štandard;
- stavebné dielce takmer bez tepelného mosta;
- plnostenné nosné prvky, medzi ktoré možno vkladať ľubovoľnú izoláciu (doskovú či fúkanú);
- nosný hranol z masívneho dreva umožňuje štandardné tesárske opracovanie a spojovanie;
- cenovo priaznivé predovšetkým z hľadiska montáže, pretože odpadá časovo náročné doizolovanie napríklad stojky z lepených I-nosníkov;
- ekologický výrobok – 100-percentné drevo bez chemických lepidiel a impregnácií.
![]() |
![]() |
![]() |
![]() |
Okná a vstupné dvere
Na dosiahnutie maximálneho tepelného komfortu, malej tepelnej straty a čo najväčších tepelných ziskov zo solárneho zariadenia sa zvolil okenný rám AlphaWin. Ide o takzvanú novú generáciu okenného rámu určeného do pasívnych domov. Celý princíp konštrukcie rámu spočíva v minimálnej pohľadovej šírke okna. Čím je pohľadová šírka rámu menšia, tým sa zväčšuje plocha skla. To vo výsledku znamená vyššie solárne zisky, ako aj lepšie tepelnoizolačné vlastnosti okien (zasklenie má vždy lepšie vlastnosti ako rám). Okenné rámy sú drevené s vloženou tepelnoizolačnou vrstvou a s vonkajším povrchom z hliníka.
Vstupné dvere sa navrhli špeciálne do pasívneho domu – drevené s tepelnoizolačnou výplňou. Konštrukciou týchto dverí dôsledne rieši vzduchotesnosť, ktorá býva v prípade bežných dverí kritická. Prah dverí je utesnený trojstupňovo, kľúčová dierka je iba z exteriérovej strany, kľučka iba z interiéru. Tým sa jednak zabezpečila vzduchotesnosť, jednak sa eliminovali tepelné mosty.
Technológie v dome
Energetické centrum domu tvorí kompaktná jednotka, ktorá v jednom objekte s rozmermi 0,6 × 0,9 × 2,1 m (pôdorysný rozmer 0,54 m2) združuje tieto funkcie: vetranie, ohrev vody a čiastočné prikurovanie.
Použila sa jednotka Nilan VP 18 Compact. Jednotka má v sebe zabudovaný klasický rekuperačný výmenník (pasívna rekuperácia). Vo výmenníku odpadový vzduch odovzdá svoje teplo privádzanému vzduchu. Za rekuperačným výmenníkom sa nachádza ešte jeden výmenník malého tepelného čerpadla. Malým tepelným čerpadlom sa z odpadového vzduchu odoberá zostatková energia, ktorá sa následne využíva na ohrev vody v integrovanom zásobníku s objemom 180 l a dohrev vzduchu na vetranie. Špičky tepelných strát potom pokrývajú sklenené priamovykurovacie panely.
Kompaktná jednotka umožňuje v letnom období aj chladenie privádzaným vzduchom. Malé tepelné čerpadlo na ohrev vody pracuje v tomto režime v reverznej prevádzke. „Odpadovým“ produktom tohto chladenia je ohriata teplá voda.
Záver
Aj na severnom svahu možno postaviť pasívny dom. Vždy však treba vychádzať zo základného konceptu na dosiahnutie pasívneho štandardu, ktorým sa rešpektujú architektonické, technické a energetické požiadavky. Zároveň treba dôsledne eliminovať tepelné mosty a používať komponenty vhodné do pasívnych domov.
TEXT: Ing. Petr Filip, Arch. DE. HMONP. Thomas Zagdoun
OBRÁZKY a FOTO: archív autora
Ing. Peter Filip je certifikovaným projektantom pasívnych domov v spoločnosti Chytrý dům, s. r. o.
Arch. DE. HMONP. Thomas Zagdoun je autorom architektonickej štúdie domu.
Článok bol uverejnený v časopise Stavebné materiály.

























