Drevené skelety
V prípade skeletových konštrukcií sa zaťaženie prenáša cez prútové, vodorovné a zvislé nosné prvky a následne sa bodovo odvádza do základovej konštrukcie. Pri priemyselnej výstavbe predstavujú skeletové konštrukcie lákavú alternatívu v porovnaní so stenovými systémom, pretože pri zmene vnútorného usporiadania nevyžadujú náročné stavebné úpravy. Vnútorná dispozícia skeletových konštrukcií sa pomerne ľahko prispôsobí meniacim sa požiadavkám
Budovy na báze drevaBudovy s nosnými konštrukčnými prvkami na báze horľavých materiálov, teda vrátane nosných drevených konštrukcií, sa navrhujú maximálne do dvoch úplných podlaží. Vyplýva to z obmedzujúcich ustanovení normatívnych predpisov upravujúcich požiarnu bezpečnosť stavieb.
Čo je skelet?
Skelet označuje „kostru budovy“ – nosnú konštrukciu (obr. 1). Hlavnými prvkami skeletovej konštrukcie sú podpery a nosníky, na ktoré sa ukladajú strešné a stropné platne. V bodoch spojenia, v takzvaných uzloch, sa podľa koncepcie stuženia vytvárajú kĺbové a tuhé spoje. Stojky skeletových konštrukcií viacpodlažných budov prechádzajú cez podlažia.
Pri drevených skeletoch dochádza k nepriaznivému javu, a to k zmršťovaniu dreva v priečnom smere na vlákno. Táto vlastnosť dreva a účinok zmršťovania na stavebnú konštrukciu sa eliminuje prostredníctvom fixovania vodorovných nosných prvkov. Fixovanie sa realizuje pomocou drevených či oceľových spojovacích prostriedkov bočne ukotvených na podpery, prípadne sa vodorovné nosné prvky kladú na hornú prierezovú plochu podpier a následne sa fixujú. V prípade drevených skeletov sa využíva modulová koordinácia s väčšími rozpätím, ako majú bežné stavby. Vďaka pravidelnému systému sú rozmery použitých výrobkov unifikované, čo stavbu celkovo zjednodušuje a znižuje náklady na jej realizáciu.
Skelety sa vyznačujú optimálnymi tepelnotechnickými vlastnosťami. V miestach stĺpikov sú prerušené tepelné mosty. Kontinuálna hrúbka tepelnej izolácie v obvodových plášťoch dostatočne chráni vnútorné prostredie pred nežiaducimi únikmi tepla do vonkajšieho prostredia. Tepelná izolácia v obvodovom plášti má šírku približne 300 mm. To umožňuje realizovať energeticky úspornú stavbu, dokonca v pasívnom štandarde.
Hlavnou výhodou drevených skeletových stavieb je okrem minimalizovania účinkov vlastnej tiaže stavebného objektu možnosť rozdeliť plochu podlažia takmer bez obmedzení. Markantnú časť subtílneho obvodového plášťa tvorí tepelná izolácia, čo prispieva k jeho vysokému tepelnému odporu. Medzi najdôležitejšie výhody nielen drevených skeletov, ale drevostavieb vo všeobecnosti, patrí rýchlosť výstavby, pri zachovaní požadovanej kvality. Ďalšou výhodou je suchý výrobný proces. Drevostavby zároveň spĺňajú požiadavky trvalo udržateľného rozvoja a hodnotenia životného cyklu stavby (LCA – Live Cycle Assesment), ktoré budú už v blízkej budúcnosti významným ukazovateľom zohľadňovaným pri výbere materiálu na konštrukčné riešenie stavby.
S drevostavbami sa spája množstvo predsudkov a fiktívnych nevýhod. Reálne problémy však vznikajú počas výstavby, ktorá sa realizuje svojpomocne s neodborným vedením, pričom sa nedodržiavajú technologické postupy, ďalej v dôsledku vypracovania projektu bez poznania materiálu, ktorý sa na výstavbu použije, prípadne zmeny materiálu nosnej konštrukcie, ktorá sa nepremietne do samotného projektu.
![]() |
![]() |
| Obr. 1 Typy konštrukčných systémov budov | Obr. 2 Podpery vnútri pôdorysu objektu, predsadená fasáda [1] |
![]() |
![]() |
| Obr. 3 Podpery v rovine fasády [1] | Obr. 4 Podpery umiestnené mimo pôdorysu budovy, vyložené stropy [1] |
Klasifikácia skeletov
Skelety možno klasifikovať z viacerých hľadísk:
- z hľadiska usporiadania podpier a polohy fasády:
podpery vnútri pôdorysu budovy, predsadená fasáda (obr. 2),
podpery v rovine fasády (obr. 3),
podpery umiestnené mimo pôdorysu budovy, vyložené stropy (obr. 4);
- z hľadiska materiálového vyhotovenia:
oceľový skelet (z ocele),
železobetónový skelet (z vystuženého betónu),
drevený skelet (z dreva);
- z hľadiska spôsobu vyhotovenia:
monolitický (napríklad betónovaný priamo na stavbe do debnenia),
montovaný (montované na stavenisku z vopred pripravených dielcov, napríklad drevený).
Spoje konštrukčných prvkov
Jednotlivé spoje drevených skeletov, ich ochrana, komplexnosť prístupu k ich riešeniu (už v projektovej fáze) a individuálny prístup k samotnej realizácii predstavuje markantné percento úspechu celej drevenej stavby v praxi, a to nielen drevených skeletových systémov.
Uzly – styky drevených skeletových konštrukcií medzi podperami a nosníkmi sa môžu realizovať ako nosné prvky vo viacerých rovinách podpery s dvojitými nosníkmi a nosníky s dvojitými podperami. Ich výber má výrazný vplyv na samotný charakter stavby z architektonického hľadiska. Správnym výberom možno stavbe dodať osobitý charakter a dotvoriť jej celkový výraz.
Ďalší spôsob predstavujú uzly skeletových konštrukcií realizované medzi podperami a nosníkmi v jednej rovine. Ak sa uplatní uloženie nosných prvkov do jednej roviny, minimalizuje sa tým zásah do vnútorného priestoru budovy. Svojím spôsobom ide o elegantnejšie a hospodárnejšie riešenie.
Zo statického hľadiska sa stropné platne zhotovujú ako spojité nosníky, ktoré prechádzajú zväčša cez dve, prípadne tri polia. Stropné platne sú uložené na prievlakoch, prípadne na priečnych trámoch, zvyčajne v druhej rovine.
Pri skeletových konštrukciách sa od tradičných tesárskych spojov v súčasnosti upúšťa, a to z dôvodov náročného statického prepočtu a následného statického návrhu, ako aj náročných a prácnych tesárskych prác.
Montáž stykov drevených skeletových systémov sa zjednodušuje použitím jednoduchých spojovacích prostriedkov, ako sú napríklad: oceľové uholníky, oceľové platne s pretlačenými hrotmi či oceľové konzoly, kolíky. Často sa ako výhodné riešenie ukazuje použitie kombinácie jednotlivých spojovacích prostriedkov.
Príklady spojov
Medzi najčastejšie metódy spájania, ktoré sa v praxi uplatňujú patrí:
- spoj s podperou – úplný priebežný pravouhlý čap (obr. 5),
- spoj s podperou – zapustená a pribitá príložka (obr. 7),
- rohový spoj pri podpere – zapustená a pribitá príložka (obr. 6)
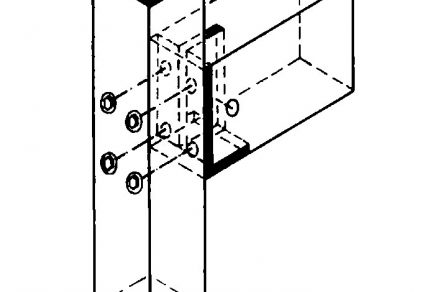
- spoj s podperou pomocou klátikov (obr. 8),
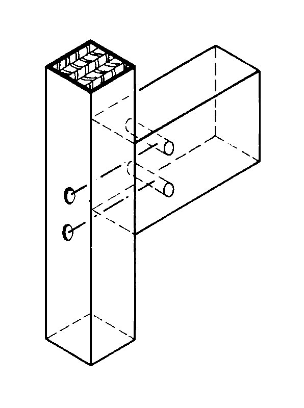
- spoj vytvorený pomocou kolíkov (obr. 9),
- spojenie pomocou naskrutkovaného oceľového uholníka s navarenou príložkou (obr. 10),
- spoj s hákovými platňami (systém Buldog) (obr. 11),
- spoj so systémom oceľových kolíkov (obr. 12),
- spoj s pribíjanými príložkami z oceľového plechu (trámová pätka) (obr. 13).
![]() |
![]() |
| Obr. 5 Spoj s podperou – úplný priebežný pravouhlý čap [1] | Obr. 6 Rohový spoj pri podpere – zapustená a pribitá príložka [1] |
![]() |
![]() |
| Obr. 7 Spoj s podperou – zapustená a pribitá príložka [1] | Obr. 8 Spoj podperou pomocou klátikov [1] |
![]() |
![]() |
| Obr. 9 Spoj vytvorený pomocou kolíkov [1] | Obr. 10 Spojenie pomocou naskrutkovaného oceľového uholníka s navarenou príložkou [1] |
![]() |
![]() |
| Obr. 11 Spoj s hákovými platňami (systém Buldog) [1] | Obr. 12 Spoj so systémom oceľových kolíkov [1] |

Jedným z hlavných problémov okrem horľavosti je aj náchylnosť dreva na degradáciu. Hlavnú úlohu preto zohráva súbor ochranných opatrení. Znehodnoteniu dreva možno predísť prostredníctvom troch stupňov ochrany. Konštrukčnou ochranou, ochranou proti biodegradácií dreva a ochranou dreva proti účinkom požiaru. Kombináciou týchto opatrení sa dosiahne účinné zabezpečenie drevených konštrukčných prvkov.
Príklad drevenej skeletovej konštrukcie
Drevené skelety nie je možné realizovať ako výškové budovy. Je to v dôsledku prísnych požiadaviek existujúcich normatívnych predpisov, ktoré určujú požiarne vlastnosti stavebných konštrukcií a materiálov. V praxi však možno nájsť príklady, ktoré z hľadiska konštrukčného spĺňajú princípy skeletu (obr. 14 až 16).
Obr. 14 Pohľad na vnútorné jednodielne stĺpy a prievlaky nosného systému realizovaného rodinného domu v obci Cíver, časť Jarná, (foto: R. Nôta)
Obr. 15 Exteriérové riešenie nosného systému so zavetrením konštrukcie, (foto: R. Nôta)
Záver
Skeletové konštrukcie predstavujú stavebné konštrukcie moderného stavebníctva. So svojím širokým využitím v rámci priemyselnej, ale aj individuálnej výstavby a s možnosťou aplikovania originálnej architektúry reprezentujú v súčasnosti žiadaný prvok. Vďaka ich optimálnym tepelnotechnickým vlastnostiam a aplikácii vhodných statických prepočtov ich odborníci považujú za vítaný konštrukčný variant.
TEXT: Ing. Dominika Búryová, PhD.
OBRÁZKY a FOTO: R. Nôta, použitá literatúra
Ing. Dominika Búryová, PhD., pôsobí na Katedre nábytku a drevárskych výrobkov Drevárskej fakulty Technickej univerzity vo Zvolene.
Recenzoval Ing. Stanislav Jochim, PhD., ktorý pôsobí na Katedre nábytku a drevárskych výrobkov Drevárskej fakulty Technickej univerzity vo Zvolene.
Literatúra
1. Neumann, D. – Weinbrenner, U. – Hestermann, U. – Rongen, L.: Stavebné konštrukcie. Bratislava: JAGA GROUP, 1. slovenské vydanie, 2005.
2. Kuklík, P.: Dřevěné konstrukce. Praha: Informačné centrum ČKAIT, 1. vydanie, 2005.
Článok bol uverejnený v časopise Stavebné materiály.

























